LEMON Manuals: Even more car manuals for everyone: 1960-2025
Home >> Infiniti >> 2023 >> QX55 Essential >> Repair and Diagnosis (Single Page) >> Accessories & Equipment >> Collision/Avoidance >> Audio, Visual & Navigation System (INFINITI INTOUCH) >> System Description >> Navigation System >> System Description >> System Diagram
April 5, 2026: LEMON Manuals is launched! Read the announcement.

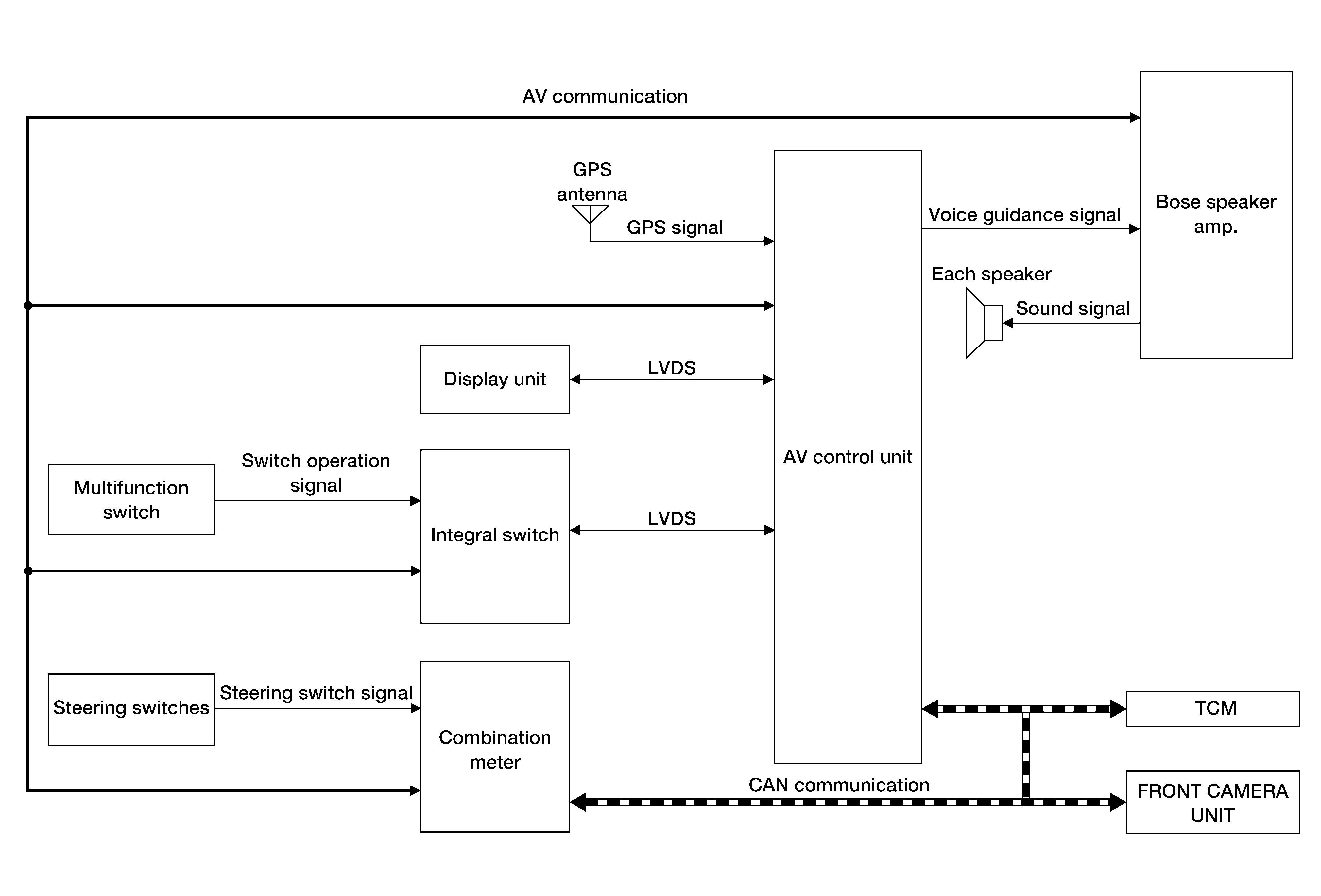
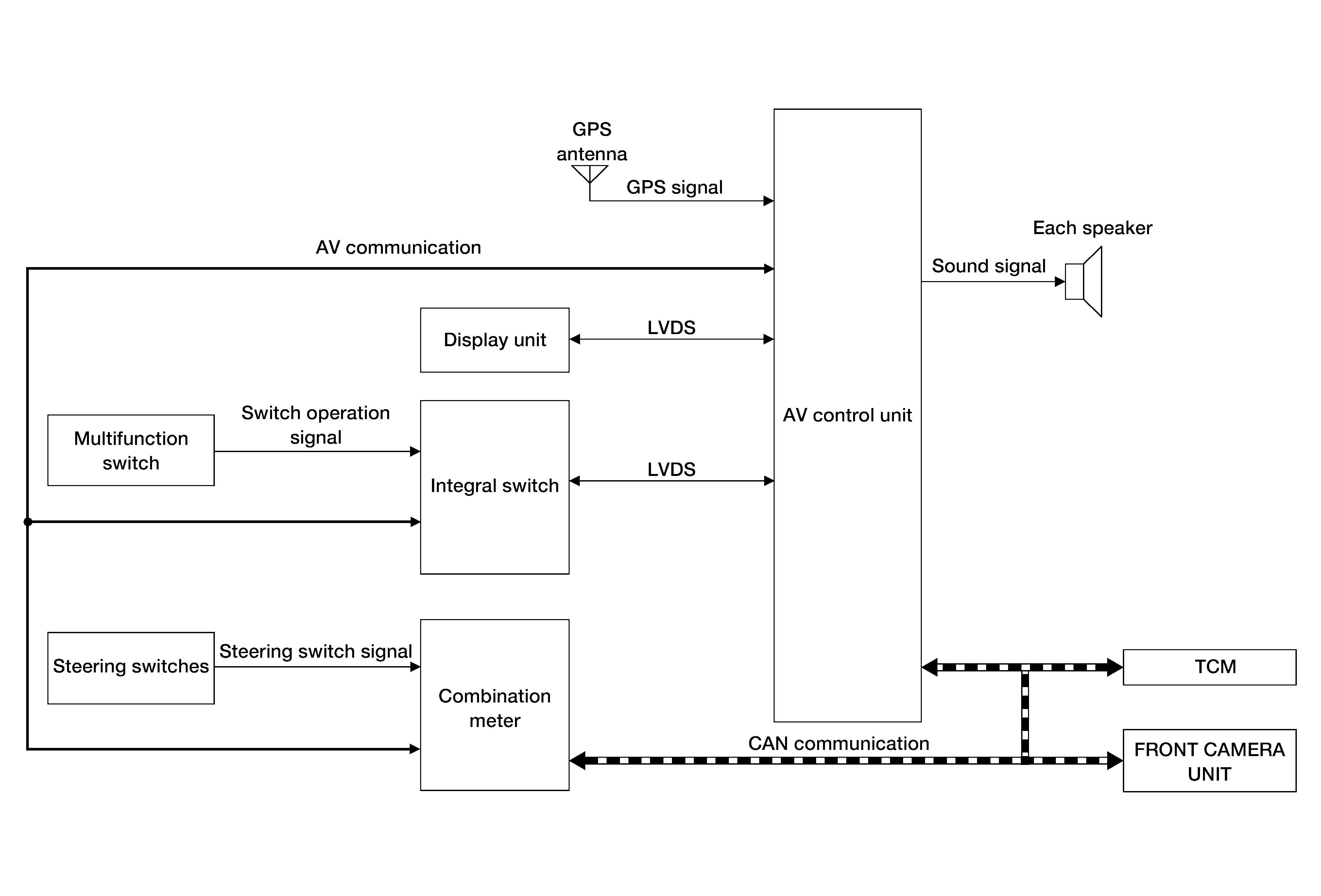
System Diagram

Fig 1: Without Bose Audio System
GNSDB38080Courtesy of NISSAN NORTH AMERICA, INC.
Fig 2: With Bose Audio System
GNSDB38048Courtesy of NISSAN NORTH AMERICA, INC.

AV Control Unit Input Signal (CAN Communication) 

Transmit unit

Signal name

Combination meter

Vehicle speed signal

Front camera unit

Speed limit display request signal

TCM

Transmission Range signal