LEMON Manuals: Even more car manuals for everyone: 1960-2025
Home >> Infiniti >> 2023 >> QX55 Essential >> Repair and Diagnosis (Single Page) >> Steering >> Power Steering >> Steering System (Direct Adaptive Steering) >> Unit Disassembly And Assembly >> Steering Gear And Linkage >> Disassembly and Assembly >> Disassembly
April 5, 2026: LEMON Manuals is launched! Read the announcement.

Disassembly and Assembly: Disassembly

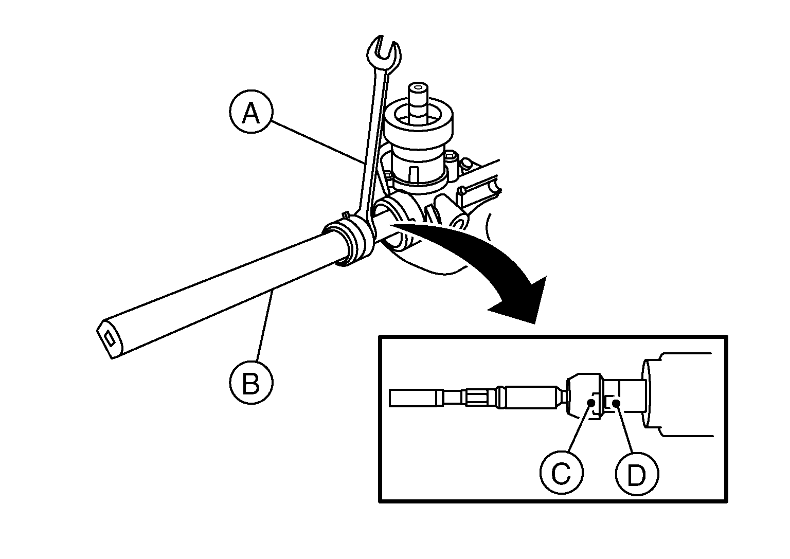
  1. Remove inner socket lock nut (A) and outer socket (1).
    GNSDB17413Courtesy of NISSAN NORTH AMERICA, INC.
    CAUTION: To prevent damage, hold outer socket (1) across flats using suitable tool while loosening inner socket lock nut (A).
  2. Remove boot clamps and boot.
  3. Remove inner socket.
    GNSDB38605Courtesy of NISSAN NORTH AMERICA, INC.
    CAUTION: To prevent damage to the rack bar when removing the inner socket, hold suitable tool (A) across rack bar flats (D) while turning suitable tool (B) across inner socket flats (C).
  4. Remove spacer.