LEMON Manuals: Even more car manuals for everyone: 1960-2025
Home >> Infiniti >> 2023 >> QX55 Sensory >> Repair and Diagnosis >> Engine Performance >> Engine Control Systems >> Engine Control System (3 Of 3) >> Removal And Installation >> Fuel Pump Control Module (FPCM) >> Exploded View
April 5, 2026: LEMON Manuals is launched! Read the announcement.

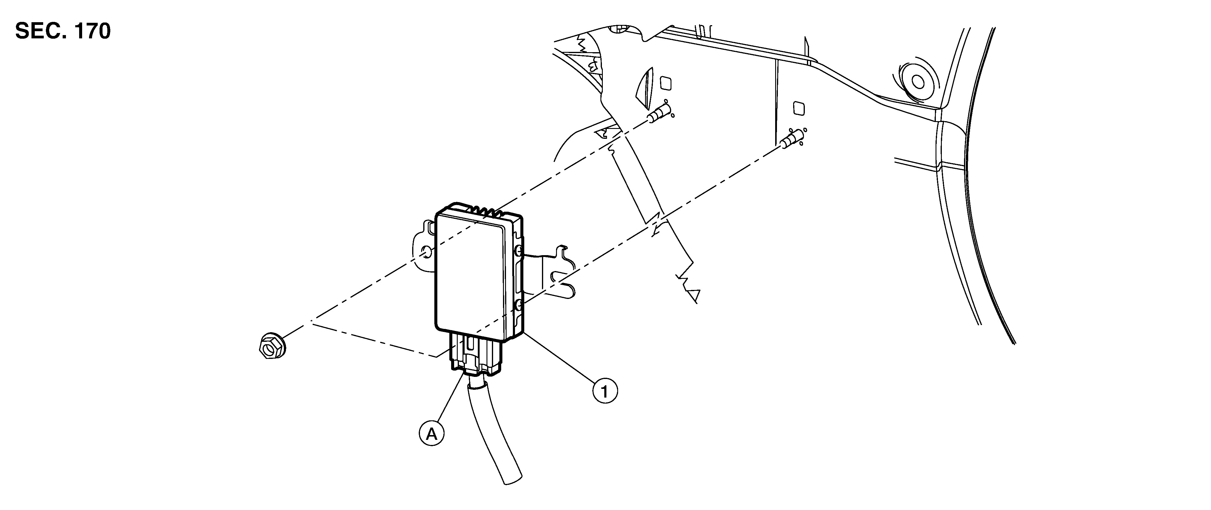
Exploded View

GNSDB39052Courtesy of NISSAN NORTH AMERICA, INC.

1.

Fuel pump control module

A.

Fuel pump control module harness