LEMON Manuals: Even more car manuals for everyone: 1960-2025
Home >> Infiniti >> 2023 >> QX80 Premium Select, RWD >> Repair and Diagnosis >> Engine Performance >> Engine Control Systems >> Engine Control System (Diagnostics) (2 Of 2) >> Basic Inspection >> Engine Control System >> Fuel Pressure >> Work Procedure >> Low Fuel Pressure Check
April 5, 2026: LEMON Manuals is launched! Read the announcement.

Low Fuel Pressure Check

CAUTION:
  • Before disconnecting fuel line, release fuel pressure from fuel line to eliminate danger.
  • The fuel hose connection method used when taking fuel pressure check must not be used for other purposes.
  • Do not perform fuel pressure check with electrical systems operating (i.e. lights, rear defogger, A/C, etc.) Fuel pressure gauge may indicate false readings due to varying engine load and changes in manifold vacuum.
NOTE: Prepare pans or saucers under the disconnected fuel line because the fuel may spill out.
  1. Release fuel pressure to zero.
  2. Prepare fuel hose for fuel pressure check (B) and fuel tube adapter [SST (KV10118400)] (D), then connect fuel pressure gauge (A).
    GNSDB6170Courtesy of NISSAN NORTH AMERICA, INC.

    SYMBOL

    To quick connector

    SYMBOL

    To fuel tube (engine side)

    C

    : Hose clamp

    CAUTION:
    • Use suitable fuel hose for fuel pressure check (genuine NISSAN fuel hose without quick connector).
    • To avoid unnecessary force or tension to hose, use moderately long fuel hose for fuel pressure check.
    • Do not use the fuel hose for checking fuel pressure with damage or cracks on it.
    • Use Pressure Gauge to check fuel pressure.
  3. Disconnect fuel feed hose from fuel tube. Refer to HIGH PRESSURE FUEL PUMP AND FUEL HOSE : Exploded View .
    CAUTION: Do not twist or kink fuel hose because it is plastic hose.
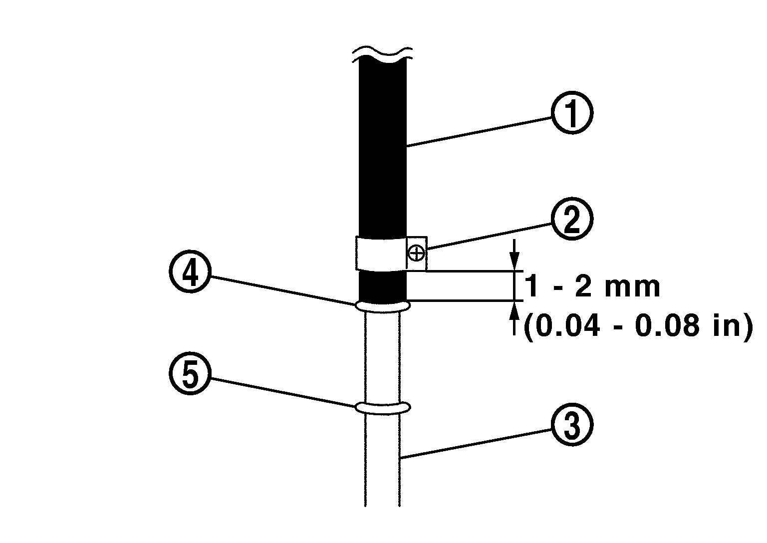
  4. Connect fuel hose for fuel pressure check (1) to fuel tube (engine side) with clamp (2) as shown in the figure.
    GNSDB20338Courtesy of NISSAN NORTH AMERICA, INC.

    5

    : No. 2 spool

    CAUTION:
    • Wipe off oil or dirt from hose insertion part using cloth moistened with gasoline.
    • Apply proper amount of gasoline between top of the fuel tube (3) and No. 1 spool (4).
    • Insert fuel hose for fuel pressure check until it touches the No. 1 spool on fuel tube.
    • Use NISSAN genuine hose clamp (part number: 16439 N4710 or 16439 40U00).
    • When reconnecting fuel line, always use new clamps.
    • Use a torque driver to tighten clamps.
    • Install hose clamp to the position within 1 - 2 mm (0.04 - 0.08 in).

      Tightening torque

      : 1.0 - 1.5 N.m (0.1 - 0.15 kg-m, 9 - 13 in-lb)

    • Make sure that clamp screw does not contact adjacent parts.
  5. Connect fuel tube adapter (C) to fuel feed hose (1) in the same manner as instructed in Step 4.
    GNSDB20119Courtesy of NISSAN NORTH AMERICA, INC.

    A

    : Fuel pressure gauge

    B

    : Fuel hose for fuel pressure check

  6. After connecting fuel hose for fuel pressure check, pull the hose with a force of approximately 98 N (10 kg, 22 lb) to confirm fuel tube does not come off.
  7. Reinstall the part removed at Step 3.
    NOTE: Install the part to allow smooth engine starts.
  8. Turn ignition switch ON and check for fuel leakage.
  9. Start engine and check for fuel leakage.
  10. Read the indication of fuel pressure gauge.
    CAUTION:
    • Do not perform fuel pressure check with system operating. Fuel pressure gauge may indicate false readings.
    • During fuel pressure check, confirm for fuel leakage from fuel connection every 3 minutes.

    At idling

    : Approximately 450 kPa (4.5 bar, 4.6 kg/cm 2 , 65 psi)