LEMON Manuals: Even more car manuals for everyone: 1960-2025
Home >> Infiniti >> 2024 >> Q50 Luxe, AWD >> Repair and Diagnosis >> Engine Performance >> Engine Control Systems >> Engine Control System (2 Of 2) >> Removal And Installation >> Fuel Pump Control Module (FPCM) >> FUEL PUMP CONTROL MODULE (FPCM) : Exploded View
April 5, 2026: LEMON Manuals is launched! Read the announcement.

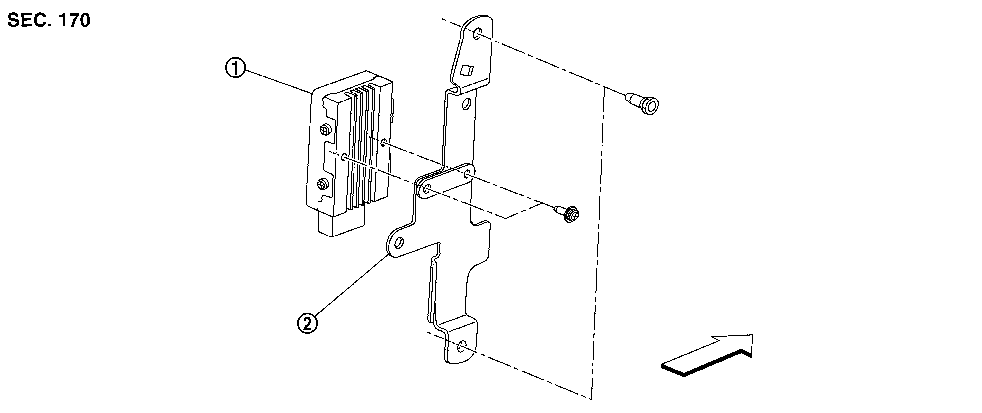
FUEL PUMP CONTROL MODULE (FPCM) : Exploded View

GNSDB147348Courtesy of NISSAN NORTH AMERICA, INC.
SYMBOL Fuel pump control module SYMBOL Bracket    
SYMBOL : Vehicle front