LEMON Manuals: Even more car manuals for everyone: 1960-2025
Home >> Infiniti >> 2024 >> Q50 Luxe, AWD >> Repair and Diagnosis >> Steering >> Steering Linkage >> Steering System >> Basic Inspection >> Direct Adaptive Steering >> Toe-In Adjustment >> Work Procedure
April 5, 2026: LEMON Manuals is launched! Read the announcement.

Work Procedure

ALIGNMENT TESTER 

WARNING: Never move the vehicle during "DAST CALIBRATION (MODE1)" because the steering gear is held in neutral position until ignition switch is turned OFF
CAUTION:
  • Be careful for the moving parts, steering wheel and front wheels are steered automatically when start "DAST CALIBRATION (MODE1)".
  • Do not rotate road wheels during the DAST calibration because the system is detected the vehicle running.
  • Never move the vehicle until the toe-in adjustment is finished.
  1. PREPARATION 
    1. Check the tires for improper air pressure and wear. Refer to TIRE AIR PRESSURE : Service Data .
    2. Set the vehicle to alignment tester. Then set the front wheel on the turn table of 4 wheel alignment tester.
      NOTE: Do not lift up the vehicle during "DAST CALIBRATION (MODE1)".
    3. Connect the battery charger to protect the battery.
      NOTE: Much electricity is used in "DAST CALIBRATION (MODE1)".

    >>

    GO TO 2.

  2. ECU CONFIGURATION 

    SYMBOL With CONSULT

    1. Connect the CONSULT.
    2. Turn the ignition switch ON.
      CAUTION:

      Never start the engine.

    3. Perform configuration for steering force control module. Refer to Work Procedure .
      NOTE: The replacement of control module included in configuration is not required.
    4. Perform configuration for steering angle main control module. Refer to Work Procedure .
      NOTE: The replacement of control module included in configuration is not required.
    5. Perform configuration for steering angle sub control module. Refer to Work Procedure .
      NOTE: The replacement of control module included in configuration is not required.
    6. Turn the ignition switch OFF.

    >>

    GO TO 3.

  3. DAST CALIBRATION (MODE1) [CLUTCH PHASE LEARNING] 

    SYMBOL With CONSULT

    1. Turn the ignition switch ON.
      CAUTION:

      Never start the engine.

    2. Perform "DAST CALIBRATION (MODE1)". Refer to Work Procedure .
    3. Turn the ignition switch OFF.
      CAUTION:

      Be sure to perform this step.

    >>

    GO TO 4.

  4. DAST CALIBRATION (MODE1) [STEERING RACK NEUTRAL POSITION LEARNING] 

    SYMBOL With CONSULT

    1. Turn the ignition switch ON.
      CAUTION:

      Never start the engine.

    2. Perform "DAST CALIBRATION (MODE1)". Refer to Work Procedure .

    >>

    GO TO 5.

  5. TOE-IN ADJUSTMENT 

    Adjust toe-in according to the specified value.

    Toe-in Refer to WHEEL ALIGNMENT : Service Data .
    CAUTION:
    • Always evenly adjust both toe-in alternately and adjust the difference between the left and right to the standard.
    • Always fix the steering inner socket when tightening the steering outer socket.
    • Never touch the steering wheel during toe-in adjustment.
    NOTE: Steering gear is held in neutral position until ignition switch is turned OFF

    >>

    GO TO 6.

  6. ADJUSTMENT OF STEERING ANGLE SENSOR NEUTRAL POSITION 

    SYMBOL With CONSULT

    1. On the CONSULT screen, select "ABS">>"WORK SUPPORT">>"ST ANGLE SENSOR ADJUSTMENT".
    2. Touch START.
      CAUTION:

      Never touch steering wheel while adjusting steering angle sensor.

    3. After approx. 10 seconds, select "END".
    4. Turn ignition switch OFF, and then turn it ON again.
      CAUTION:

      Be sure to perform this step.

    >>

    GO TO 7.

  7. PERFORM SELF-DIAGNOSIS 

    SYMBOL With CONSULT

    1. Turn ignition switch OFF and wait at least 10 seconds.
    2. Start the engine.
      CAUTION:

      Never drive the vehicle.

    3. Perform self-diagnosis for "EPS/DAST 3", "DAST 1" and "DAST 2".

    Is any DTC detected?

    YES>>

    Perform trouble diagnosis for the detected DTC. Refer to DTC Index (EPS/DAST 3), or DTC Index (DAST 1), or DTC Index (DAST 2).

    NO>>

    GO TO 8.

  8. FINAL CONFIRMATION 

    SYMBOL With CONSULT

    1. Turn the ignition switch OFF to ON.
      CAUTION:

      Never start the engine.

    2. On the CONSULT screen, select "EPS/DAST 3">>"DATA MONITOR">>"ANGLE 1", and then and then check the value.
      Monitor item Standard value
      ANGLE 1 -4.4 ≤ ANGLE 1 ≤ 4.4

    Is the confirmation result normal?

    YES>>

    GO TO 9.

    NO>>

    Slightly lower the tilt position, and then re-perform "DAST CALIBRATION (MODE1)". GO TO 3.

  9. CHECK INNER SOCKET LENGTH 

    Check that inner socket length is in the specified value. Refer to STEERING GEAR AND LINKAGE : Disassembly and Assembly . Is the inspection result normal?

    Yes>>

    GO TO 10.

    No>>

    GO TO 1.

  10. STEERING ANGLE INSPECTION 
    1. Start the engine.
    2. Fully steer right and left. And check that the knock sound does not exist from the steering rack.
      CAUTION:

      Never confuse the knock sound with the clutch sound that is heard from nearby of steering column.

    Is the inspection result normal?

    Yes>>

    WORK END

    No>>

    GO TO 11.

  11. CHECK SUSPENSION AND STEERING PARTS INSTALLATION CONDITION 

    Check suspension and steering parts installation condition. Check suspension and steering parts installation condition.

    Is the inspection result normal?

    Yes>>

    GO TO 5.

    No>>

    Install suspension and steering parts properly. Then perform the toe-in adjustment again. GO TO 1.

EXCEPT ALIGNMENT TESTER 

WARNING: Never move the vehicle during "DAST CALIBRATION (MODE1)" because the steering gear is held in neutral position until ignition switch is turned OFF.
CAUTION:
  • Be careful for the moving parts, steering wheel and front wheels are steered automatically when start "DAST CALIBRATION (MODE1)" and "DAST CALIBRATION (MODE2)".
  • Do not rotate road wheels during the "DAST CALIBRATION (MODE1)" and "DAST CALIBRATION (MODE2)" because the system is detected the vehicle running.
  1. PREPARATION 
    1. Check the tires for improper air pressure and wear. Refer to TIRE AIR PRESSURE : Service Data .
    2. Set the front wheel on the turn table.
      NOTE: Do not lift up the vehicle during "DAST CALIBRATION (MODE1)".
    3. Connect the battery charger to protect the 12V battery.
      NOTE: Much electricity is used in "DAST CALIBRATION (MODE1)".
    4. Place the tilt to the highest level.

    >>

    GO TO 2.

  2. DAST CALIBRATION (MODE1) [CLUTCH PHASE CALCULATION] 

    SYMBOL With CONSULT

    1. Connect CONSULT to the vehicle.
    2. Turn ignition switch ON.
      CAUTION:

      Never start the engine.

    3. On the CONSULT screen, select "EPS/DAST 3">>"WORK SUPPORT">>"DAST CALIBRATION (MODE1)". Refer to Work Procedure .
      CAUTION:

      Be careful for the moving parts, steering wheel and front wheels are steered automatically when start "DAST CALIBRATION (MODE1)".

    4. Turn ignition switch OFF.
      CAUTION:

      Be sure to perform this step.

    >>

    GO TO 3.

  3. ECU CONFIGURATION 

    SYMBOL With CONSULT

    1. Turn ignition switch ON.
      CAUTION:

      Never start the engine.

    2. Perform configuration for steering force control module. Refer to Work Procedure .
      NOTE: The replacement of control module included in configuration is not required.
    3. Perform configuration for steering angle main control module. Refer to Work Procedure .
      NOTE: The replacement of control module included in configuration is not required.
    4. Perform configuration for steering angle sub control module. Refer to Work Procedure .
      NOTE: The replacement of control module included in configuration is not required.
    5. Check that EPS warning lamp is turned ON.
      NOTE: Direct adaptive steering transfers to EPS mode.
    6. Turn ignition switch OFF.
    7. Disconnect the battery charger from the 12V battery.
    8. Lift down the vehicle and disconnect CONSULT from the vehicle.

    >>

    GO TO 4.

  4. TOE-IN ADJUSTMENT 
    1. Adjust toe-in according to the specified value.
      Toe-in Refer to WHEEL ALIGNMENT : Service Data .
      CAUTION:
      • Loosen the lock nut of steering outer socket and adjust inner socket length.
      • Always evenly adjust both toe-in alternately and adjust the difference between the left and right to the standard.
      • Always fix the steering inner socket when tightening the steering outer socket.
    2. Drive the vehicle straightly and then stop the vehicle.
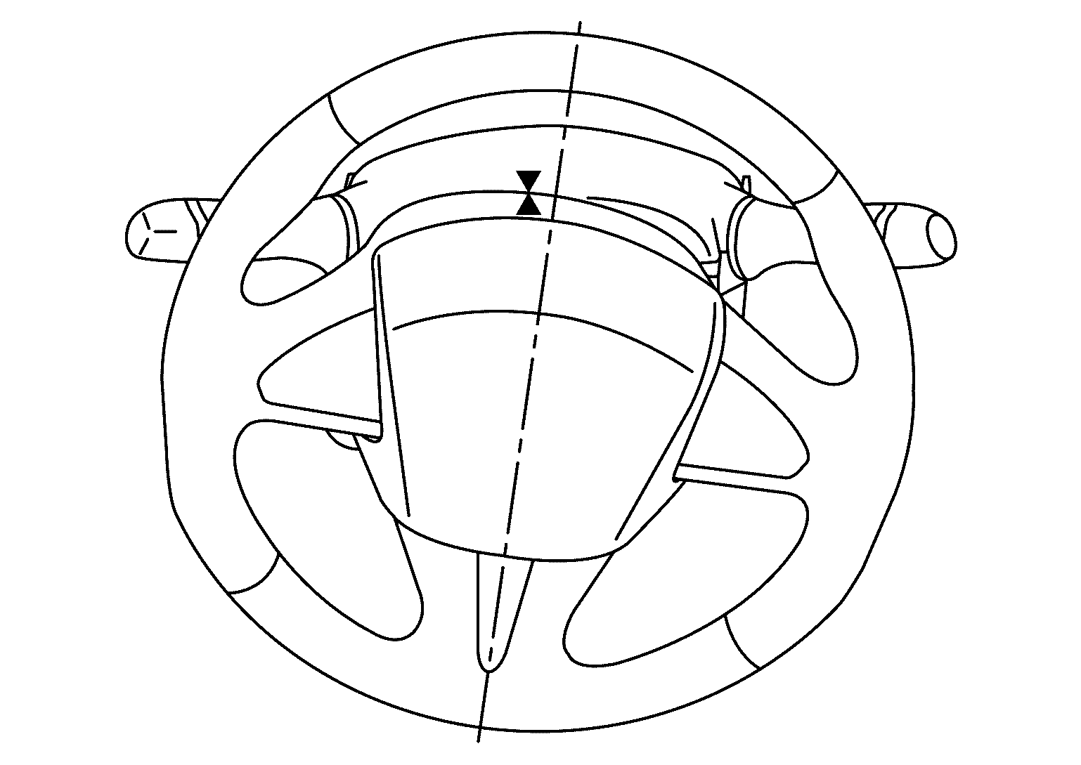
    3. Place the matching mark (SYMBOL ) on the steering wheel and steering column cover at the condition that the vehicle goes straight.
      GNSDB147518Courtesy of NISSAN NORTH AMERICA, INC.

    >>

    GO TO 5.

  5. PREPARATION OF OFF-CENTER CALCULATION 
    1. Lift up the vehicle.
    2. Align matching marks (SYMBOL ) (steering wheel and steering column cover) to turn the steering wheel to the position marked in Step 4.
      GNSDB147518Courtesy of NISSAN NORTH AMERICA, INC.
    3. Remove hole cover. Refer to STEERING SHAFT : Exploded View .
    4. Place the matching mark (SYMBOL ) on the steering lower shaft and steering gear.
      GNSDB148173Courtesy of NISSAN NORTH AMERICA, INC.
    5. Connect the battery charger to protect the 12V battery.
      NOTE: Much electricity is used in "DAST CALIBRATION (MODE1/MODE2)".
    6. Lift down the vehicle and then set the front wheel on the turn table.
      NOTE: Do not lift up the vehicle during "DAST CALIBRATION (MODE1/MODE2)".

    >>

    GO TO 6.

  6. DAST CALIBRATION (MODE1) [STEERING RACK NEUTRAL POSITION LEARNING] 

    SYMBOL With CONSULT

    1. Turn ignition switch ON.
      CAUTION:

      Never start the engine.

    2. On the CONSULT screen, select "EPS/DAST 3">>"WORK SUPPORT">>"DAST CALIBRATION (MODE1)". Refer to Work Procedure .
      CAUTION:

      Be careful for the moving parts, steering wheel and front wheels are steered automatically when start "DAST CALIBRATION (MODE1)".

    >>

    GO TO 7.

  7. ADJUSTMENT OF STEERING ANGLE SENSOR NEUTRAL POSITION 

    SYMBOL With CONSULT

    1. On the CONSULT screen, select "ABS">>"WORK SUPPORT">>"ST ANGLE SENSOR ADJUSTMENT".
    2. Touch START.
      CAUTION:

      Never touch steering wheel while adjusting steering angle sensor.

    3. After approx. 10 seconds, select "END".
    4. Turn ignition switch OFF, and then turn it ON again.
      CAUTION:
      • Never start the engine.
      • Be sure to perform this step.

    >>

    GO TO 8.

  8. PERFORM SELF-DIAGNOSIS 

    SYMBOL With CONSULT

    1. Turn ignition switch OFF and wait at least 10 seconds.
    2. Start the engine.
      CAUTION:

      Never drive the vehicle.

    3. Perform self-diagnosis for "EPS/DAST 3", "DAST 1" and "DAST 2".

    Is any DTC detected?

    YES>>

    Perform trouble diagnosis for the detected DTC. Refer to DTC Index (EPS/DAST 3), or DTC Index (DAST 1), or DTC Index (DAST 2).

    NO>>

    GO TO 9.

  9. LEARNING VALUE CONFIRMATION 

    SYMBOL With CONSULT

    1. Turn the ignition switch OFF to ON.
      CAUTION:

      Never start the engine.

    2. On the CONSULT screen, select "EPS/DAST 3">>"DATA MONITOR">>"ANGLE 1", and then and then check the value.
      Monitor item Standard value
      ANGLE 1 -4.4 ≤ ANGLE 1 ≤ 4.4

    Is the confirmation result normal?

    YES>>

    GO TO 10.

    NO>>

    Slightly lower the tilt position, and then re-perform "DAST CALIBRATION (MODE1)".

    GO TO 6.

  10. DAST CALIBRATION (MODE2) [OFF-CENTER CALCULATION] 
    CAUTION:

    Never start the engine.

    SYMBOL With CONSULT

    1. On the CONSULT screen, select "EPS/DAST 3">>"WORK SUPPORT">>"DAST CALIBRATION (MODE2)".
    2. Check the following condition, and then touch the "START".
      • Ignition switch is ON. (Engine is not started.)
      • Battery charger is connected to 12V battery.
      • The front wheel is set on the turn table.
        NOTE: Do not lift up the vehicle during "DAST CALIBRATION (MODE 2)".
    3. Touch "START" to start the automatic steer.
      CAUTION:

      Be careful for the moving parts, steering wheel and front wheels are steered automatically when touch "START".

      NOTE: After finishing the automatic steering (After steering right and left 1.5 round trip, it returns to neutral position), steering clutch is released.
    4. Position the steering wheel with the visually neutral position and then touch "START".
      GNSDB148236Courtesy of NISSAN NORTH AMERICA, INC.
      CAUTION:

      Since the force feedback of steering becomes smaller after the completion of auto steering, take good care for turning the steering. Also, do not turn the steering beyond 120 degrees.

    5. Align matching marks (SYMBOL ) (steering lower shaft and steering gear) to turn the steering wheel to the position marked in Step 5, and then touch "START".
      GNSDB148173Courtesy of NISSAN NORTH AMERICA, INC.
    6. Record the displayed value of "off-center", and then touch "END".

    >>

    GO TO 11.

  11. STEERING RACK OFF-CENTER ADJUSTMENT 
    1. Adjust the off-center according to the off-center value calculated by "DAST CALIBRATION (MODE2)".
      • Positive value: Turn the inner socket to the SYMBOL direction (Road wheel is moving to the left).
      • Negative value: Turn the inner socket to the SYMBOL direction (Road wheel is moving to the right).
        GNSDB148494Courtesy of NISSAN NORTH AMERICA, INC.
        CAUTION:
        • Loosen the lock nut of steering outer socket and adjust inner socket length.
        • Always evenly adjust both toe-in alternately and adjust the difference between the left and right to the standard.
        • Always fix the steering inner socket when tightening the steering outer socket.
    2. Turn ignition switch OFF.
      CAUTION:

      Be sure to perform this step.

    >>

    GO T

    GO TO 12.

  12. CHECK INNER SOCKET LENGTH 
    1. Check that inner socket length is in the specified value. Refer to STEERING GEAR AND LINKAGE : Disassembly and Assembly .

    Is the inspection result normal?

    YES>>

    GO TO 13.

    .

    NO>>

    GO TO 1.

  13. STEERING ANGLE INSPECTION 
    1. Lift down the vehicle.
    2. Start the engine.
    3. Fully steer right and left. And check that the knock sound does not exist from the steering rack.
      CAUTION:

      Never confuse the knock sound with the clutch sound that is heard from nearby of steering column.

    Is the inspection result normal?

    YES>>

    GO TO 14.

    NO>>

    GO TO 16.

  14. TOE-IN INSPECTION 
    1. Check toe-in within the specified value.
      Toe-in Refer to WHEEL ALIGNMENT : Service Data .

    Is the inspection result normal?

    YES>>

    GO TO 15.

    .

    NO>>

    GO TO 1.

    .

  15. PERFORM SELF-DIAGNOSIS 

    SYMBOL With CONSULT

    1. Turn ignition switch OFF and wait at least 10 seconds.
    2. Start the engine.
      CAUTION:

      Never drive the vehicle.

    3. Perform self-diagnosis for "EPS/DAST 3", "DAST 1" and "DAST 2".

    Is any DTC detected?

    YES>>

    Perform trouble diagnosis for the detected DTC. Refer to DTC Index (EPS/DAST 3), or DTC Index (DAST 1), or DTC Index (DAST 2).

    NO>>

    WORK END

  16. CHECK SUSPENSION AND STEERING PARTS INSTALLATION CONDITION 
    1. Check suspension and steering parts installation condition.

    Is the inspection result normal?

    YES>>

    GO TO 5.

    NO>>

    Install suspension and steering parts properly. Then perform the toe-in adjustment again.

    GO TO 1.