LEMON Manuals: Even more car manuals for everyone: 1960-2025
Home >> Infiniti >> 2024 >> QX50 Autograph >> Repair and Diagnosis >> Electrical >> Motors, Switches, Relays >> Power Control System (IPDM E/R) >> System Description >> System >> Relay Control System >> System Description
April 5, 2026: LEMON Manuals is launched! Read the announcement.

System Description

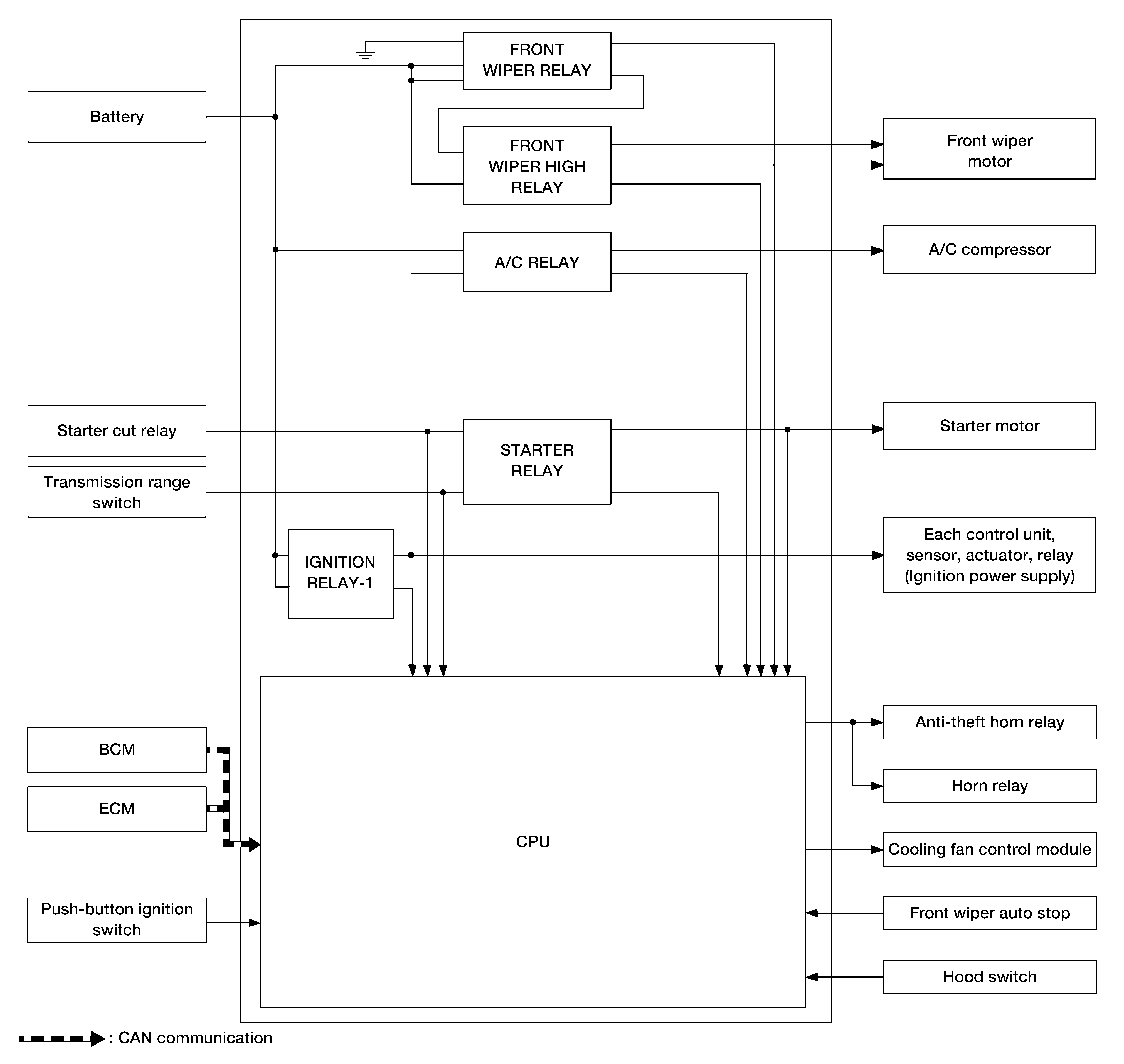
SYSTEM DIAGRAM 

GNSDB139295Courtesy of NISSAN NORTH AMERICA, INC.

DESCRIPTION 

IPDM E/R activates the internal control circuit to perform the relay ON-OFF control according to the input signals from various sensors and the request signals received from control units via CAN communication.

CAUTION:

IPDM E/R integrated relays cannot be removed.

Control relay Input/output Transmit unit Control part Reference
  • Front wiper relay
  • Front wiper high relay
Front wiper request signal BCM (CAN) Front wiper motor System Description (without rain sensor) System Description (with rain sensor)
Front wiper auto stop signal Front wiper motor
A/C relay A/C compressor request signal ECM (CAN) A/C compressor (magnetic clutch) Compressor Control
Starter relay Starter relay signal BCM (CAN) Starter motor System Description
Transmission range switch signal Transmission range switch
Ignition relay-1 Ignition switch ON signal BCM (CAN) Each control unit, sensor, actuator and relay (ignition power supply) System Description
Vehicle speed signal (meter) Combination meter (CAN)
Push-button ignition switch signal Push-button ignition switch