System Description
- Wheel spin status of drive wheel is detected by wheel sensor of 4 wheels. Engine output and transmission shift status is controlled so that slip rate of drive wheels is in appropriate level. When wheel spin occurs on drive wheel, ABS actuator and electric unit (control unit) perform brake force control of LH and RH drive wheels (apply brake force by increasing brake fluid pressure of drive wheel) and decrease engine torque by engine torque control. Wheel spin amount decreases. Engine torque is controlled to appropriate level.
- TCS function can be switched to non-operational status (OFF) by operating integral switch (VDC OFF signal). In this case, VDC OFF indicator lamp turns ON.
- VDC warning lamp blinks while TCS function is in operation and indicates to the driver that the function is in operation.
- CONSULT can be used to diagnose the system diagnosis.
- Fail-safe function is adopted. When a malfunction occurs in TCS function, the control is suspended for VDC function, TCS function, Brake assist function, hill start assist function and Brake force distribution function The vehicle status becomes the same as models without VDC function, TCS function, Brake assist function, hill start assist function and Brake force distribution function However, ABS function and EBD function are operated normally. Refer to Fail-Safe .
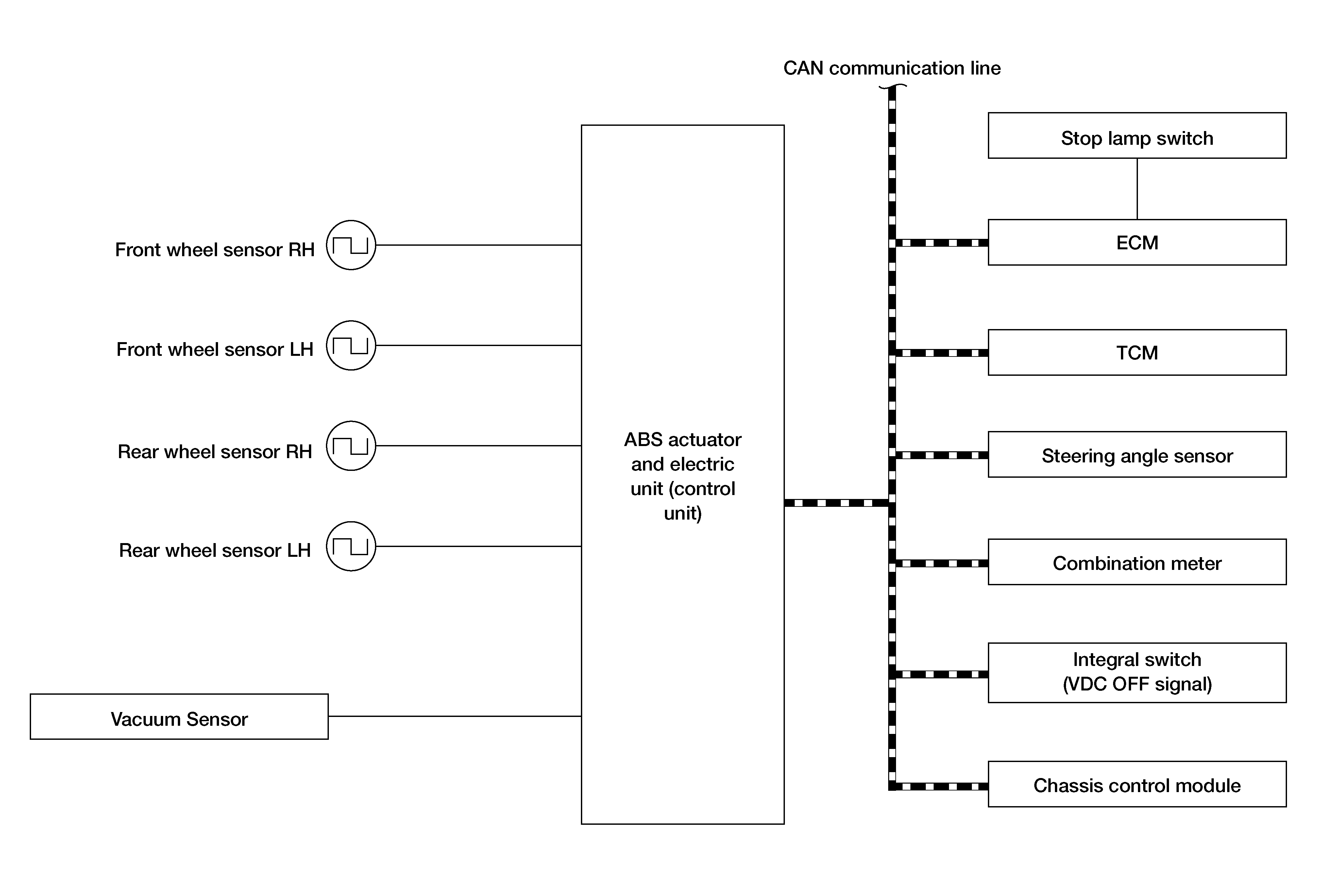
SYSTEM DIAGRAM
INPUT SIGNAL AND OUTPUT SIGNAL
Major signal transmission between each unit via communication lines is shown in the following table.
| Component | Signal description |
|---|---|
| ECM | Mainly transmits the following signals to ABS actuator and electric unit (control unit) via CAN communication:
Mainly receives the following signal from ABS actuator and electric unit (control unit) via CAN communication:
|
| TCM | Mainly transmits the following signal to ABS actuator and electric unit (control unit) via CAN communication:
|
| Chassis control module | Mainly transmits the following signal to ABS actuator and electric unit (control unit) via CAN communication:
|
| Combination meter | Mainly receives the following signals from ABS actuator and electric unit (control unit) via CAN communication:
Mainly receives the following signals from ABS actuator and electric unit (control unit) via CAN communication:
|
| Steering angle sensor | Mainly transmits the following signals to ABS actuator and electric unit (control unit) via CAN communication:
|