LEMON Manuals: Even more car manuals for everyone: 1960-2025
Home >> Infiniti >> 2024 >> QX55 Essential >> Repair and Diagnosis (Single Page) >> Steering >> Power Steering >> Steering System (Direct Adaptive Steering) >> Unit Disassembly And Assembly >> Steering Gear And Linkage >> Disassembly and Assembly
April 5, 2026: LEMON Manuals is launched! Read the announcement.

Disassembly and Assembly

DISASSEMBLY 

  1. Remove inner socket lock nut (A) and outer socket (1).
    GNSDB110164Courtesy of NISSAN NORTH AMERICA, INC.
    CAUTION:

    To prevent damage, hold outer socket (1) across flats using suitable tool while loosening inner socket lock nut (A).

  2. Remove boot clamps and boot.
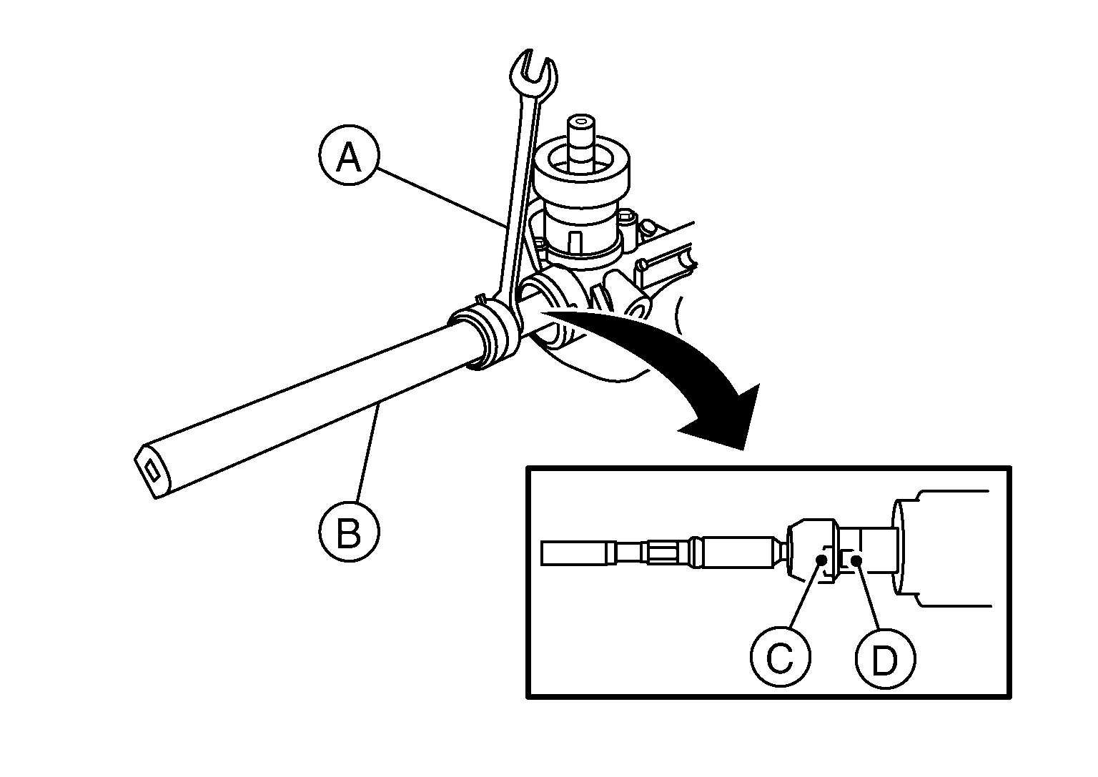
  3. Remove inner socket.
    GNSDB128471Courtesy of NISSAN NORTH AMERICA, INC.
    CAUTION:

    To prevent damage to the rack bar when removing the inner socket, hold suitable tool (A) across rack bar flats (D) while turning suitable tool (B) across inner socket flats (C).

  4. Remove spacer.

INSPECTION AFTER DISASSEMBLY 

Boot

Steering Gear

Outer Socket and Inner Socket

ASSEMBLY 

  1. Install spacer on the end of the rack bar.
  2. Apply medium strength thread locker to threads of inner socket. Tighten inner socket to the specified torque. Refer to Exploded View .
    CAUTION:

    To prevent damage to the rack bar when installing the inner socket, hold suitable tool across rack bar flats while turning suitable tool across inner socket flats.

  3. Install large end of boot (1) to steering gear housing.
    GNSDB125966Courtesy of NISSAN NORTH AMERICA, INC.
  4. Apply silicone grease between the inner socket and small end of boot (2). Install small end of boot to inner socket boot mounting groove.
    CAUTION:

    To prevent boot deformation or damage during toe-in adjustment, apply silicone grease between the inner socket and small end of boot.

  5. Install small boot clamp.
  6. Install large boot clamp using Tool.
    CAUTION:

    Do not reuse boot clamp.

    Tool number : KV40107300 (NI-51751)
  7. Adjust inner socket to standard length (L), and then tighten inner socket lock nut to the specified torque. Refer to Exploded View . Check length of inner socket (L) again after tightening inner socket lock nut. Make sure that the length is to specification.
    GNSDB139413Courtesy of NISSAN NORTH AMERICA, INC.
    Inner socket length (L) : Refer to Steering Gear .
    CAUTION:
    • Adjust toe-in after this procedure. The length achieved after toe-in adjustment is not necessarily the above value.
    • To prevent damage, hold outer socket across flats using suitable tool while tightening inner socket lock nut.
    • Inspect to make sure no boot deformation has occurred during toe-in adjustment. Adjust boot as necessary.