LEMON Manuals: Even more car manuals for everyone: 1960-2025
Home >> Infiniti >> 2024 >> QX55 Luxe >> Repair and Diagnosis >> Engine Performance >> Fuel Delivery >> Fuel System >> Unit Disassembly And Assembly >> Fuel Level Sensor Unit >> Disassembly and Assembly
April 5, 2026: LEMON Manuals is launched! Read the announcement.

Disassembly and Assembly

Disassembly 

NOTE: SYMBOL Before disassembly, note the proper placement of the wires to the correct terminals and correct wire routing to the terminals.
  1. Disconnect fuel level sensor unit and fuel tank temperature sensor harness connectors (A).
    GNSDB138949Courtesy of NISSAN NORTH AMERICA, INC.
  2. Remove wires from wire clips (B).
    CAUTION:

    Be careful not to damage wires when removing them from wire clips.

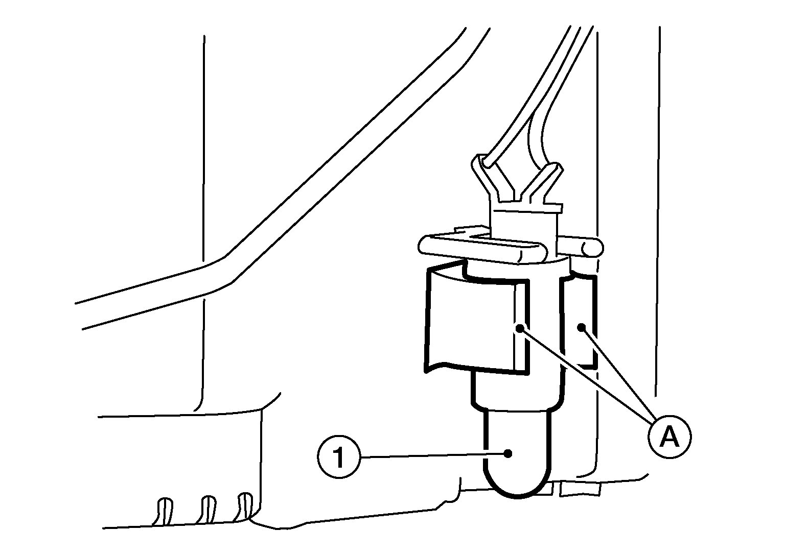
  3. Release clips (A), then remove fuel temperature sensor (1) from fuel filter and fuel pump assembly.
    GNSDB138848Courtesy of NISSAN NORTH AMERICA, INC.
  4. Release tab (A) using suitable tool, then slide fuel level sensor unit (1) in direction shown in the illustration.
    GNSDB139284Courtesy of NISSAN NORTH AMERICA, INC.
    NOTE: SYMBOL Fuel level sensor unit shown in the illustration removed from fuel filter and fuel pump assembly for clarity.

Assembly 

Assembly is in the reverse order of disassembly.

NOTE: SYMBOL
  • Ensure proper placement of the wires to the correct terminals and correct wire routing to the terminals.
  • After connecting terminals, ensure they are securely locked and cannot be pulled out.