LEMON Manuals: Even more car manuals for everyone: 1960-2025
Home >> Infiniti >> 2024 >> QX55 Sensory >> Repair and Diagnosis >> Engine Mechanical >> Engine Mechanical >> Removal And Installation >> Intake Manifold >> Exploded View
April 5, 2026: LEMON Manuals is launched! Read the announcement.

Exploded View

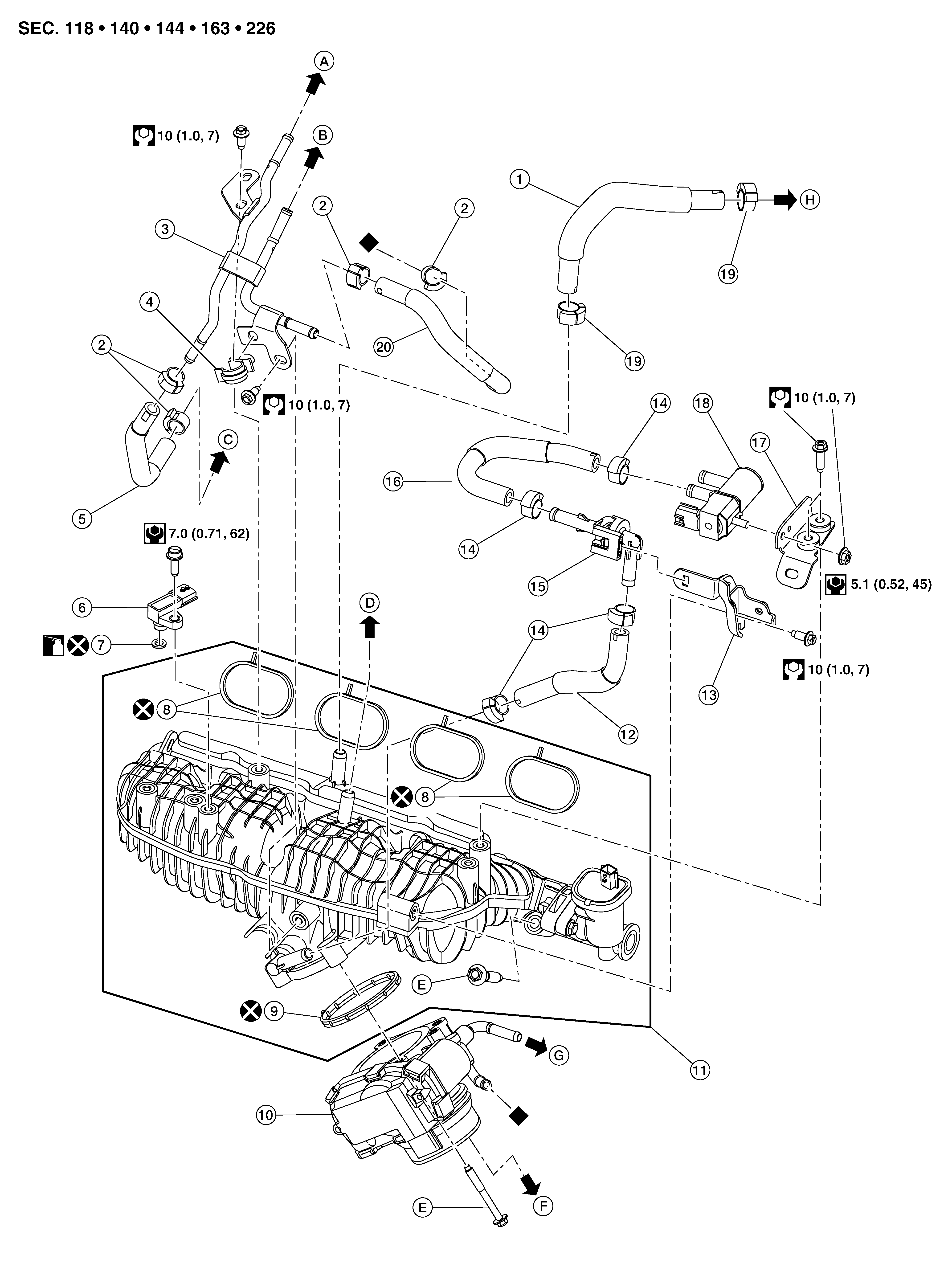
Fig 1: Intake Manifold With Torque Specifications
GNSDB128155Courtesy of NISSAN NORTH AMERICA, INC.
1. PCV hose 2. Clamp 3. Turbocharger water pipe
4. Retainer 5. Turbocharger water outlet hose 6. Manifold Absolute Pressure (MAP) sensor
7. O-ring 8. Intake manifold gasket 9. Electronic throttle control actuator gasket
10. Electronic throttle control actuator 11. Intake manifold 12. EVAP hose A
13. EVAP check valve bracket 14. Clamp 15. EVAP check valve
16. EVAP hose B 17. EVAP canister purge volume control solenoid valve bracket 18. EVAP canister purge volume control solenoid valve
19. Clamp 20. Turbocharger water inlet hose A. To turbocharger water outlet hose. Refer to Exploded View .
B. To turbocharger water inlet hose. Refer to Exploded View . C. To water inlet pipe. Refer to Exploded View . D. To vacuum hose. Refer to Exploded View .
E. Refer to Removal and Installation . F. To air outlet tube. Refer to Exploded View . G. To water hose A. Refer to Exploded View .
H. To PCV valve. Refer to Exploded View .        
SYMBOL : Indicates that the part is connected at points with same symbol in actual vehicle.