Disassembly and Assembly
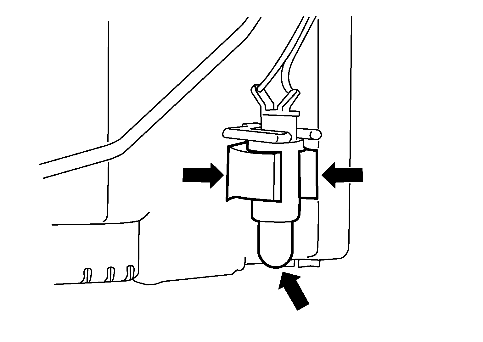
| 1. | Fuel level sensor unit | 2. | Fuel tank temperature sensor | A. | Fuel level sensor unit harness connector |
| B. | Fuel pump harness connector | C. | Fuel tank temperature sensor harness connector | D. | Float arm assembly |
Disassembly
NOTE:
Before disassembly, note the proper placement of the wires to the correct terminals and correct wire routing to the terminals.
- Disconnect the fuel level sensor unit harness connector (A) and the fuel tank temperature sensor harness connector (C). Press the tabs on the terminals to release the locking tabs.
(B) : Fuel pump harness connector - Release the two clips and remove the fuel tank temperature sensor from the pump assembly.
- Release the tab and slide the fuel level sensor unit and float arm assembly up to remove.
Assembly
Assembly is in the reverse order of disassembly.
NOTE:

- Ensure proper placement of the wires to the correct terminals and correct wire routing to the terminals.
- After connecting terminals, ensure they are securely locked and can not be pulled out.
- When installing the fuel level sensor unit, push down until the tab is locked into place.