LEMON Manuals: Even more car manuals for everyone: 1960-2025
Home >> Infiniti >> 2024 >> QX80 Premium Select, AWD >> Repair and Diagnosis >> Brakes >> Traction Control >> Brake Control System >> Basic Inspection >> Distance Sensor >> Distance Sensor Alignment >> Work Procedure
April 5, 2026: LEMON Manuals is launched! Read the announcement.

Work Procedure

Application Notice 

Type Description
TYPE 1 When using KV99112700 for radar alignment. Refer to Description.
TYPE 2 When using 1-20-2851-1 for radar alignment. Refer to Description.

TYPE 1 

Description 

OUTLINE OF RADAR ALIGNMENT PROCEDURE

WARNING: Radio waves could adversely affect electric medical equipment. Those who use a pacemaker should contact the electric medical equipment manufacturer for the possible influences before use.
CAUTION:

The system does not operate normally unless the radar alignment is performed. Always perform it.

  1. Set the distance sensor target board (SST: KV99112700) to the correct position in front of the vehicle.
  2. Set the radar alignment mode ("MILLIWAVE RADAR ADJUST" on "Work support") with CONSULT, and then perform the adjustment according to the display. (Distance sensor automatically adjusts.)

CAUTIONARY POINT FOR RADAR ALIGNMENT PROCEDURE

CAUTION:
  • For radar alignment procedure, choose a level location with a few meter of working space in front and surrounding the vehicle.
  • Vehicle must be stationary and unoccupied during the whole alignment procedure.
  • Any slight vibration during the alignment procedure can cause the test to fail. If this happens, you will have to restart the alignment process.
  • The ignition switch must be in the ON position.
  • The battery voltage must not fall below 12 volts during the whole alignment procedure. Failure to maintain adequate battery voltage will cause the test to fail. If this happens, you will have to restart the alignment process.
  • The ICC target board must be set in front of the vehicle facing the sensor.
  • Adjust the radar alignment with CONSULT. (The radar alignment procedure cannot be adjusted without CONSULT.)
  • Never enter the vehicle during radar alignment.
  • Never block the area between the radar and the ICC target board at any time during the alignment process.
  • Accurate steering wheel setting is crucial. Once set, do not disturb the steering wheel for the remainder of the alignment procedure.
  • For proper system operation and adjustment, all vehicle wheels must be of the same size.

Preparation 

  1. ADVANCE PREPARATION FOR RADAR ALIGNMENT 
    1. Adjust all tire pressure to the specified value.
    2. Empty the vehicle. (Remove any luggage from the passenger compartment, luggage room, etc.)
    3. Shift the selector lever to "P" position, and release the parking brake.
    4. Fully fill the fuel tank, and then check that the coolant and oils are filled up to correct level.
    5. Clean the distance sensor area SYMBOL of the front bumper grille.
      GNSDB146807Courtesy of NISSAN NORTH AMERICA, INC.

    >>

    GO TO 2.

  2. RADAR ALIGNMENT OPERATION AREA 

    Position the vehicle in a place that is level and where SYMBOL area can be secured.

    GNSDB145166Courtesy of NISSAN NORTH AMERICA, INC.
    W : 3, 000 mm (118.11 in)
    L : 2, 000 mm (78.74 in)
    H : 2, 000 mm (78.74 in)
    NOTE: SYMBOL is a no object zone.

    >>

    Go to Setting The ICC Target Board.

Setting The ICC Target Board 

Accurate adjustment of the radar alignment requires that the distance sensor target board be accurately positioned.

CAUTION:

If the radar alignment is adjusted with the distance sensor target board in the incorrect position, the ICC system does not function normally.

  1. DISTANCE SENSOR TARGET BOARD HEIGHT ADJUSTMENT 

    Adjust the base of ICC target board to approximately 523 mm (20.6 in) from the ground.

    >>

    GO TO 2.

  2. PREPARATION OF SETTING DISTANCE SENSOR TARGET BOARD (1) 
    GNSDB132412Courtesy of NISSAN NORTH AMERICA, INC.
    "A"-"E" ("C"-"F") : 2, 388 mm (94.02 in)
    1. Mark points "A", "B", "C" and "D"at the center of the lateral surface of each wheels.
      GNSDB145126Courtesy of NISSAN NORTH AMERICA, INC.
      NOTE: Hang a string with a cone from the fender so as to pass through the center of wheel, and then mark a point at the center of the lateral surface of the wheel.
    2. Draw line "LH" passing through points "A" and "B" on the left side of vehicle.
      NOTE: Approximately 3 m (9.84 ft) or more from the front end of vehicle.
    3. Mark point "E" on the line "LH" at the positions 2, 388 mm (94.02 in) from point "A".
    4. Draw line "RH" passing through points "C" and "D" on the right side of vehicle in the same way as step 2.
      NOTE: Approximately 2 m (6.56 ft) or more from the front end of vehicle.
    5. Mark point "F" on the line "RH" at the positions 2, 388 mm (94.02 in) from point "C".
    6. Draw line "FW" passing through the points "E" and "F" on the front side of vehicle.
    7. Mark point "X" at the center of point "E" and "F" on the line "FW".
      CAUTION:

      Make sure that "E" to "X" is equal to "F" to "X".

    >>

    GO TO 3.

  3. SETTING DISTANCE SENSOR TARGET BOARD 

    Place the center of ICC target board on point "G" at line "E-F" and install the ICC target board.

    CAUTION:

    For performing the radar alignment correctly, securely install (ICC target board) to be parallel with the "E-F" line.

    L1 : 2, 388 mm (94.02 in)
    L2 : 0 mm (0 in)
    GNSDB146047Courtesy of NISSAN NORTH AMERICA, INC.

    >>

    GO TO 4.

  4. CHECK THE DISTANCE SENSOR TARGET BOARD INSTALLATION AREA 

    Do not place anything other than distance sensor target board in the space shown in the figure, below (view from top).

    GNSDB145154Courtesy of NISSAN NORTH AMERICA, INC.
    SYMBOL No object zone SYMBOL Distance sensor SYMBOL ICC target board
    W. 3, 000 mm (118.11 in) L. 1, 500 mm (59.06 in)

    >>

    Go to Radar Alignment.

Radar Alignment 

The radar alignment is performed automatically with CONSULT.

CAUTION:

Perform all necessary work for radar alignment until the adjustment completes as shown in the procedure. If the procedure does not complete, the ICC system is inoperable.

  1. PERFORM RADAR ALIGNMENT 
    1. Start the engine.
    2. Connect CONSULT and select "Work support" of "LASER/RADAR".
    3. Select "MILLIWAVE RADAR ADJUST".
      NOTE: Confirm the following items;
      • The target should be accurately placed.
      • The vehicle should be stopped.
    4. Select "Start" after the conditions displayed on CONSULT are satisfied.
      CAUTION:

      Never select "Start" when the target is not accurately placed.

    5. Select "Next" after the "Radar alignment conditions are ready." screen is displayed.
      NOTE: If the radar is in alignment at this time, "In progress" is displayed. It may take several 10s of seconds until the result is displayed.
    6. Confirm the displayed item.
      • "Completed.": Go to 7.
      • Except "Completed.": Perform the following services.
        Displayed item Possible cause Service procedure
        Alignment result is over threshold.
        • DTC is detected
        • The position of the target board is incorrect
        • Vehicle is moving
        Check the vehicle alignment condition and perform radar alignment again
        Horizontal value is over threshold.
        Check the condition.
        Perform the adjust again.
        • DTC is detected
        • The position of the target board is shifted horizontally
        • Vehicle is moving
        Check the vehicle alignment condition and perform radar alignment again
        Vertical value is over threshold.
        Check the condition.
        Perform the adjust again.
        • DTC is detected
        • The position of the target board is shifted vertically
        • Vehicle is moving
        Check the vehicle alignment condition and perform radar alignment again
        Horizontal value and Vertical value are over threshold.
        Check the condition.
        Perform the adjust again.
        • DTC is detected
        • The position of the target board is shifted horizontally and vertically
        • Vehicle is moving
        Check the vehicle alignment condition and perform radar alignment again
        This display direction is looking from driver seat side.
        NOTE: This is not an error message, so service procedures are not required.
        Target is not detected. (Reflection radio waves is weak.)
        Reconfirm the placing condition, and then re-perform adjustment.
        • A target is not-yet-placed
        • The position of the target board is incorrect
        • The position of the distance sensor is incorrect
        Check the vehicle alignment condition and perform radar alignment again
        Target setting is offset in horizontal direction.
        Reconfirm the placing condition. And then re-perform adjustment or re-install the radar.
        • The position of the target board is shifted horizontally
        • The position of the distance sensor is shifted horizontally
        Check the vehicle alignment condition and perform radar alignment again
        Target setting is offset in vertical direction.
        Reconfirm the placing condition. And then re-perform adjustment or re-install the radar.
        • The position of the target board is shifted vertically
        • The position of the distance sensor is shifted vertically
        Check the vehicle alignment condition and perform radar alignment again
        EEPROM writing is error.
        Re-perform adjustment or replace the ECU.
        • The condition of the alignment is incorrect
        • Distance sensor malfunction
        • Check the vehicle alignment condition and perform radar alignment again
        • If same massage displays again, replace the distance sensor
        Hardware is imperfect.
        Replace the ECU.
        Distance sensor hardware has trouble for alignment Replace the distance sensor
        Signal of vehicle side is imperfect or combination of ECU is incorrect.
        Diagnose the other ECU.
        Other ECU except distance sensor have trouble for alignment
        • Check if any DTC is detected in "Self Diagnostic Result" of other ECU except distance sensor
        • If any DTC is not detected, replace the distance sensor
        Software is incorrect.
        Replace the ECU.
        Distance sensor software is incorrect Replace the distance sensor
    7. Confirm displayed value.
      Displayed item Monitor item Reference value
      Completed Vertical Angle Radar angle "DownW" or "UpW"
      Vertical Angle Radar measurement result (- 2.50) - (+ 3.00)
      Horizontal Angle Radar angle "LeftW" or "RightW"
      Horizontal Angle Radar measurement result Less than ± 4.00 deg
      Alignment complete
      • Within reference value: Go to 8.
      • Outside of reference value: Check the target board condition and perform radar alignment again.
        NOTE:
        • Check the condition of the distance sensor installation.
        • Check the vehicle for damage.
        • Replace distance sensor if it is outside the reference value, even when distance sensor installation is installed normally and the vehicle is not damaged.
    8. Select "End".
      CAUTION:

      Once "MILLIWAVE RADAR ADJUST" is started with CONSULT, always continue the work until the horizontal radar alignment is completed successfully. If the job is stopped midway, the radar alignment is not adjusted and the ICC/FEB/PFCW systems cannot operate.

    >>

    RADAR ALIGNMENT END

TYPE 2 

Description 

OUTLINE OF RADAR ALIGNMENT PROCEDURE

WARNING: Radio waves could adversely affect electric medical equipment. Those who use a pacemaker should contact the electric medical equipment manufacturer for the possible influences before use.
CAUTION:

The system does not operate normally unless the distance sensor is aligned properly.

  1. Required tools, refer to Required Tools.
  2. Preparation, refer to Preparation.
  3. Vehicle set up, refer to Vehicle Set Up.
  4. Setting the target board, refer to Setting The Target Board.
  5. Distance sensor adjustment, refer to Radar Alignment.

CAUTIONARY POINT FOR RADAR ALIGNMENT PROCEDURE

CAUTION:
  • For radar alignment procedure, choose a level location with a few feet of working space in front and surrounding the vehicle.
  • Vehicle must be stationary and unoccupied during the whole alignment procedure.
  • Any slight vibration during the alignment procedure can cause the test to fail. If this happens, you will have to restart the alignment process.
  • The battery voltage must not fall below 12 volts during the whole alignment procedure. Failure to maintain adequate battery voltage will cause the test to fail. If this happens, you will have to restart the alignment process.
  • The target board must be set in front of the vehicle facing the sensor.
  • Adjust the radar alignment with CONSULT. (The radar alignment procedure cannot be adjusted without CONSULT.)
  • Never enter the vehicle during radar alignment.
  • Never block the area between the radar and the target board at any time during the alignment process.
  • Accurate steering wheel setting is crucial. Once set, do not disturb the steering wheel for the remainder of the alignment procedure.
  • For proper system operation and adjustment, all vehicle wheels must be of the same size.

Required Tools 

The following tools are necessary to perform distance sensor alignment:

Use kit 1-20-2851-1 with a self-centering wheel adapter (e.g. 1-20-2722-1-IF, Hunter 20-3339-1 or equivalent).

NOTE: Tools 1-20-2721-1-IF, 1-20-2722-1-IF and J-50808 have been superseded and are no longer available, but may still be used for distance sensor alignment.

Preparation 

  1. ADVANCE PREPARATION FOR RADAR ALIGNMENT PROCEDURE 
    1. Adjust all tire pressure to the specified value.
    2. Empty the vehicle. (Remove any luggage from the passenger compartment, luggage room, etc.)
    3. Shift the selector lever to "P" position, and release the parking brake.
    4. Fully fill the fuel tank, and then check that the coolant and oils are filled up to correct level.
    5. Clean the distance sensor area SYMBOL of the front bumper grille.
      GNSDB146807Courtesy of NISSAN NORTH AMERICA, INC.

    >>

    Refer to Vehicle Set Up.

Vehicle Set Up 

Accurate adjustment of the radar alignment requires that the target board, wheel adapter, laser assembly, and rear stand be properly positioned.

CAUTION:

If the radar alignment is adjusted with the target board, wheel adapter, laser assembly, or rear stand in the incorrect position, the ICC system will not function properly or the alignment procedure may not be completed successfully.

  1. PREPOSITION TARGET BOARD 
    NOTE:
    • To identify the sensor wave axis center, measure the point SYMBOL as shown in the illustration, below.
      GNSDB145331Courtesy of NISSAN NORTH AMERICA, INC.
      A : 0 mm (0 in)
      B : 523 mm (20.6 in)
      C : Vehicle center
    • Target board setting must be in the center position. (Position 2)
    • Attaching the ICC alignment kit attachment board to the target board.
    1. Position the target board in front facing the right front side of the vehicle:
      GNSDB107853Courtesy of NISSAN NORTH AMERICA, INC.
      1. Place the marked center of the target board SYMBOL 1060 mm (41.73 in.) ± 50 mm (1.97 in) facing the distance sensor.
      2. Adjust the height of the target board using the adjustable nut SYMBOL to achieve the proper height. The up/down tolerance is ± 30 mm (1.18 in).
      3. Adjust the target board lateral position aligning the marked center of the board horizontally with the center of the distance sensor. The right/left tolerance is ± 80 mm (3.15 in).
    2. Extend the machined arm of the target board exposing the reflective surface SYMBOL to the right front side of the vehicle.
    3. Place one side of the laser assembly SYMBOL flush against the center of the target board SYMBOL to assist in the positioning.
      GNSDB145957Courtesy of NISSAN NORTH AMERICA, INC.
    4. Turn the laser assembly ON SYMBOL allowing the laser beam to emit through the opening of the laser assembly toward the center of the distance sensor.
    5. Move the target board SYMBOL as necessary so that center of target board aligns with center of distance sensor.
    6. Turn the laser assembly OFF when done.

    Are using Hunter alignment equipment?

    YES>>

    Refer to Hunter's equipment instructions for complete vehicle set up and target board setting. Then, refer to Radar Alignment.

    NO>>

    GO TO 2.

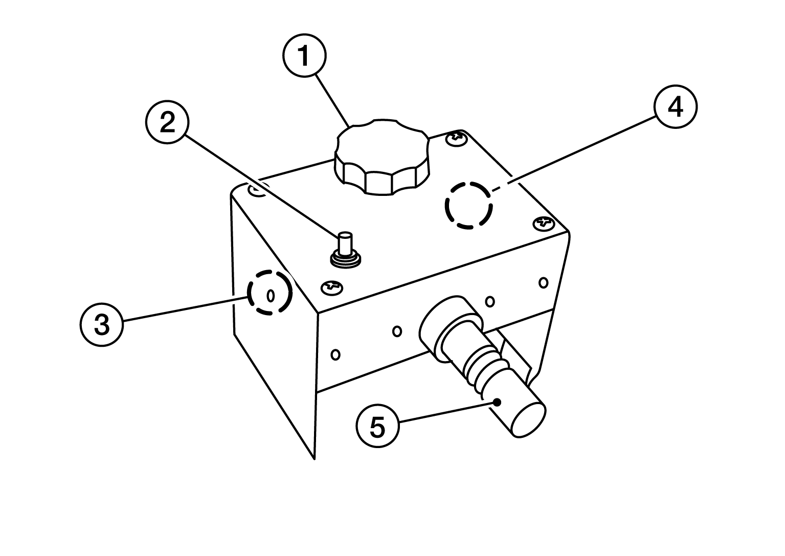
  2. INSTALLING LASER ASSEMBLY 
    NOTE:
    • Insure the steering wheel is positioned in the center straight forward position.
    • Insure all 4 vehicle wheels do not contain any physical damage.
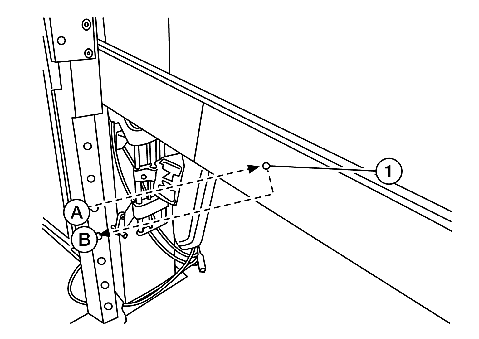
    1. Install the wheel adapter SYMBOL on the right front wheel.
      GNSDB107338Courtesy of NISSAN NORTH AMERICA, INC.
    2. Mount the laser assembly SYMBOL to the wheel adapter SYMBOL as shown in the above figure.
      NOTE: When the power switch is turned ON, the front laser signal SYMBOL will be emitted toward the front target board, and the rear laser signal SYMBOL will be emitted toward the rear of the vehicle.

    >>

    GO TO 3.

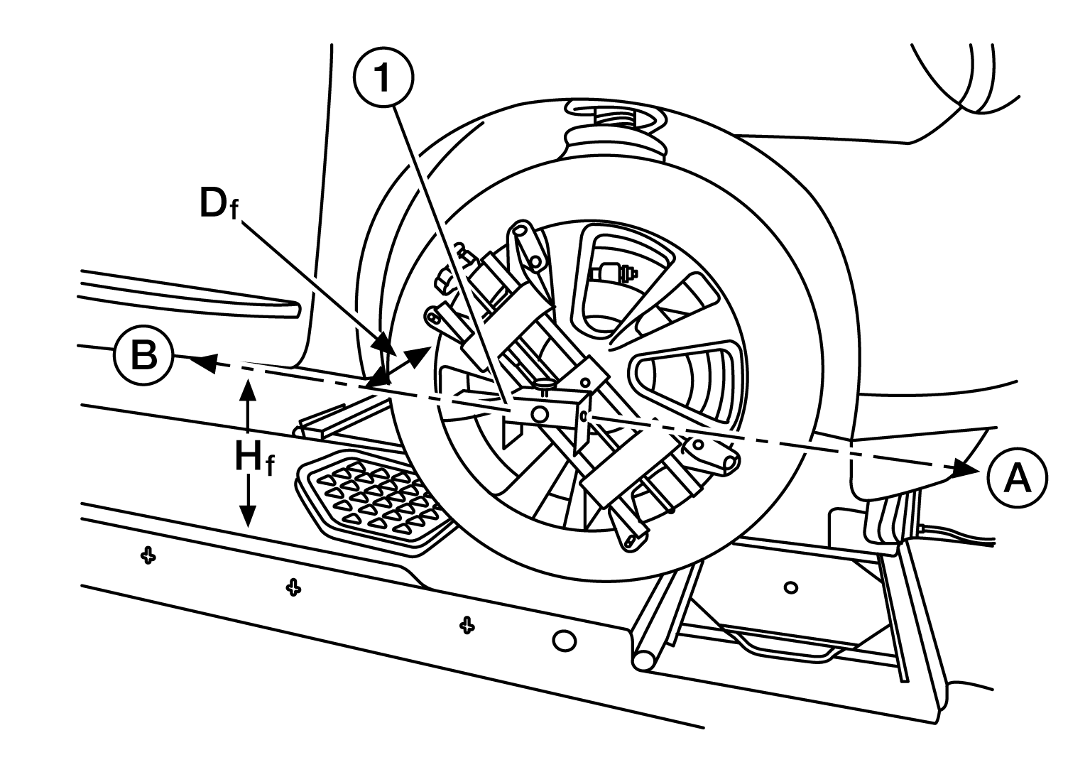
  3. SETTING UP REAR STAND 
    1. Place the rear stand next to the right rear tire as shown in the figure, below.
      GNSDB106526Courtesy of NISSAN NORTH AMERICA, INC.
    2. Turn the laser assembly ON allowing the laser beam to be emitted through the front and rear laser assembly openings.
    3. Measure and record the distance (Dr ) between the edge of the right rear wheel and the laser beam SYMBOL on the rear stand (horizontal line).
    4. Measure and record the height (Hr ) between the laser beam SYMBOL on the rear stand and ground level (vertical line).
    5. Measure and record the distance (Df ) between the edge of the right front wheel and the laser beam signal/opening SYMBOL on the laser assembly (horizontal line).
      GNSDB106755Courtesy of NISSAN NORTH AMERICA, INC.
    6. Measure and record the height (Hf ) between the laser beam signal/opening SYMBOL on the laser assembly and ground level (vertical line).
      NOTE:
      • Horizontal adjustment [front distance (Df) and rear distance (Dr )] is accomplished by slowly turning the steering wheel until the 2 distances are the same.
      • Vertical adjustment [front height (Hf) and rear height (Hr )] is accomplished by rotating the laser assembly around its axis until the two heights are the same.
      • Directional arrows SYMBOL and SYMBOL are shown to illustrate the direction of the laser assembly beams.
    7. Adjust laser beam as necessary until the two distances match and the two heights match.
      NOTE: Must be verify both horizontal and vertical adjustments anytime one adjustment is made.

    >>

    Refer to Setting The Target Board.

Setting The Target Board 

Accurate adjustment of the radar alignment requires that the target board be accurately positioned.

CAUTION:

If the radar alignment is adjusted with the target board in the incorrect position, the ICC system will not function properly or the alignment procedure may not be completed successfully.

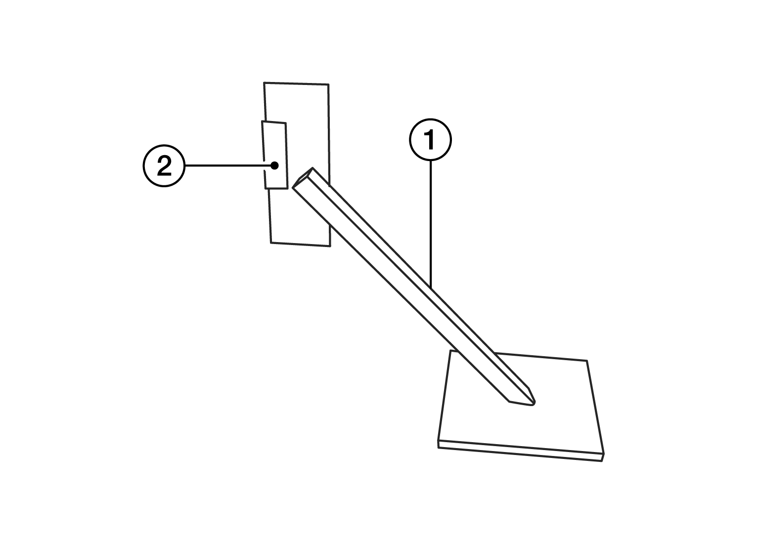
  1. TARGET BOARD FINAL SETTING 
    1. With the target board arm extended, the laser beam SYMBOL emitted by the laser assembly SYMBOL will be reflected back SYMBOL toward the laser assembly.
      GNSDB108667Courtesy of NISSAN NORTH AMERICA, INC.
      NOTE: When adjusted properly, reflected laser beam SYMBOL must align with emitted laser beam SYMBOL and the two laser beams will be seen as one.
    2. Rotate the target board to achieve the necessary horizontal adjustment.
    3. Adjust the target board leveling screws to achieve the necessary vertical adjustment.
    4. The figure shown illustrates the laser beam SYMBOL emitted by the laser assembly SYMBOL and its reflection SYMBOL off of the target board arm.
      GNSDB106582Courtesy of NISSAN NORTH AMERICA, INC.

    >>

    GO TO 2.

  2. CHECK THE POSITION OF THE TARGET BOARD 

    Do not place anything other than the target board in the space shown in front of the vehicle (view from top).

    GNSDB146090Courtesy of NISSAN NORTH AMERICA, INC.
    SYMBOL Target board arm SYMBOL Target board SYMBOL Distance sensor
    SYMBOL Vehicle        
    SYMBOL Distance between front wheel and laser beam (Df) SYMBOL Distance between rear wheel and laser beam (Dr) SYMBOL Height between front laser beam and ground (Hf)
    SYMBOL Height between rear laser beam and ground (Hr) SYMBOL Target board center position SYMBOL 1010 - 1110 mm (39.76 - 43.7 in)

    >>

    Refer to Radar Alignment.

Radar Alignment 

The radar alignment is performed automatically with CONSULT.

CAUTION:

Perform all necessary work for radar alignment until the adjustment completes as shown in the procedure. If the procedure does not complete, the ICC system is inoperable.

  1. PERFORM RADAR ALIGNMENT 
    1. Start the engine.
    2. Connect CONSULT and select "Work support" of "LASER/RADAR".
    3. Select "MILLIWAVE RADAR ADJUST".
      NOTE: Confirm the following items;
      • The target should be accurately placed.
      • The vehicle should be stopped.
    4. Select "Start" after the conditions displayed on CONSULT are satisfied.
      CAUTION:

      Never select "Start" when the target is not accurately placed.

    5. Select "Next" after the "Radar alignment conditions are ready." screen is displayed.
      NOTE: If the radar is in alignment at this time, "In progress" is displayed. It may take several 10s of seconds until the result is displayed.
    6. Confirm the displayed item.
      • "Completed.": Go to 7.
      • Except "Completed.": Perform the following services.
        Displayed item Possible cause Service procedure
        Alignment result is over threshold.
        • DTC is detected
        • The position of the target board is incorrect
        • Vehicle is moving
        Check the vehicle alignment condition and perform radar alignment again
        Horizontal value is over threshold.
        Check the condition.
        Perform the adjust again.
        • DTC is detected
        • The position of the target board is shifted horizontally
        • Vehicle is moving
        Check the vehicle alignment condition and perform radar alignment again
        Vertical value is over threshold.
        Check the condition.
        Perform the adjust again.
        • DTC is detected
        • The position of the target board is shifted vertically
        • Vehicle is moving
        Check the vehicle alignment condition and perform radar alignment again
        Horizontal value and Vertical value are over threshold.
        Check the condition.
        Perform the adjust again.
        • DTC is detected
        • The position of the target board is shifted horizontally and vertically
        • Vehicle is moving
        Check the vehicle alignment condition and perform radar alignment again
        This display direction is looking from driver seat side.
        NOTE: This is not an error message, so service procedures are not required.
        Target is not detected. (Reflection radio waves is weak.)
        Reconfirm the placing condition, and then re-perform adjustment.
        • A target is not-yet-placed
        • The position of the target board is incorrect
        • The position of the distance sensor is incorrect
        Check the vehicle alignment condition and perform radar alignment again
        Target setting is offset in horizontal direction.
        Reconfirm the placing condition. And then re-perform adjustment or re-install the radar.
        • The position of the target board is shifted horizontally
        • The position of the distance sensor is shifted horizontally
        Check the vehicle alignment condition and perform radar alignment again
        Target setting is offset in vertical direction.
        Reconfirm the placing condition. And then re-perform adjustment or re-install the radar.
        • The position of the target board is shifted vertically
        • The position of the distance sensor is shifted vertically
        Check the vehicle alignment condition and perform radar alignment again
        EEPROM writing is error.
        Re-perform adjustment or replace the ECU.
        • The condition of the alignment is incorrect
        • Distance sensor malfunction
        • Check the vehicle alignment condition and perform radar alignment again
        • If same massage displays again, replace the distance sensor
        Hardware is imperfect.
        Replace the ECU.
        Distance sensor hardware has trouble for alignment Replace the distance sensor
        Signal of vehicle side is imperfect or combination of ECU is incorrect.
        Diagnose the other ECU.
        Other ECU except distance sensor have trouble for alignment
        • Check if any DTC is detected in "Self Diagnostic Result" of other ECU except distance sensor
        • If any DTC is not detected, replace the distance sensor
        Software is incorrect.
        Replace the ECU.
        Distance sensor software is incorrect Replace the distance sensor
    7. Confirm displayed value.
      Displayed item Monitor item Reference value
      Completed Vertical Angle Radar angle "DownW" or "UpW"
      Vertical Angle Radar measurement result (- 2.50) - (+ 3.00)
      Horizontal Angle Radar angle "LeftW" or "RightW"
      Horizontal Angle Radar measurement result Less than ± 4.00 deg
      Alignment complete
      • Within reference value: Go to 8.
      • Outside of reference value: Check the target board condition and perform radar alignment again.
        NOTE:
        • Check the condition of the distance sensor installation.
        • Check the vehicle for damage.
        • Replace distance sensor if it is outside the reference value, even when distance sensor installation is installed normally and the vehicle is not damaged.
    8. Select "End".
      CAUTION:

      Once "MILLIWAVE RADAR ADJUST" is started with CONSULT, always continue the work until the horizontal radar alignment is completed successfully. If the job is stopped midway, the radar alignment is not adjusted and the ICC/FEB/PFCW systems cannot operate.

    >>

    RADAR ALIGNMENT END