LEMON Manuals: Even more car manuals for everyone: 1960-2025
Home >> Infiniti >> 2024 >> QX80 Premium Select, AWD >> Repair and Diagnosis >> Electrical >> Body Electrical >> Body Control System >> Description >> System >> Power Consumption Control System >> System Description
April 5, 2026: LEMON Manuals is launched! Read the announcement.

System Description

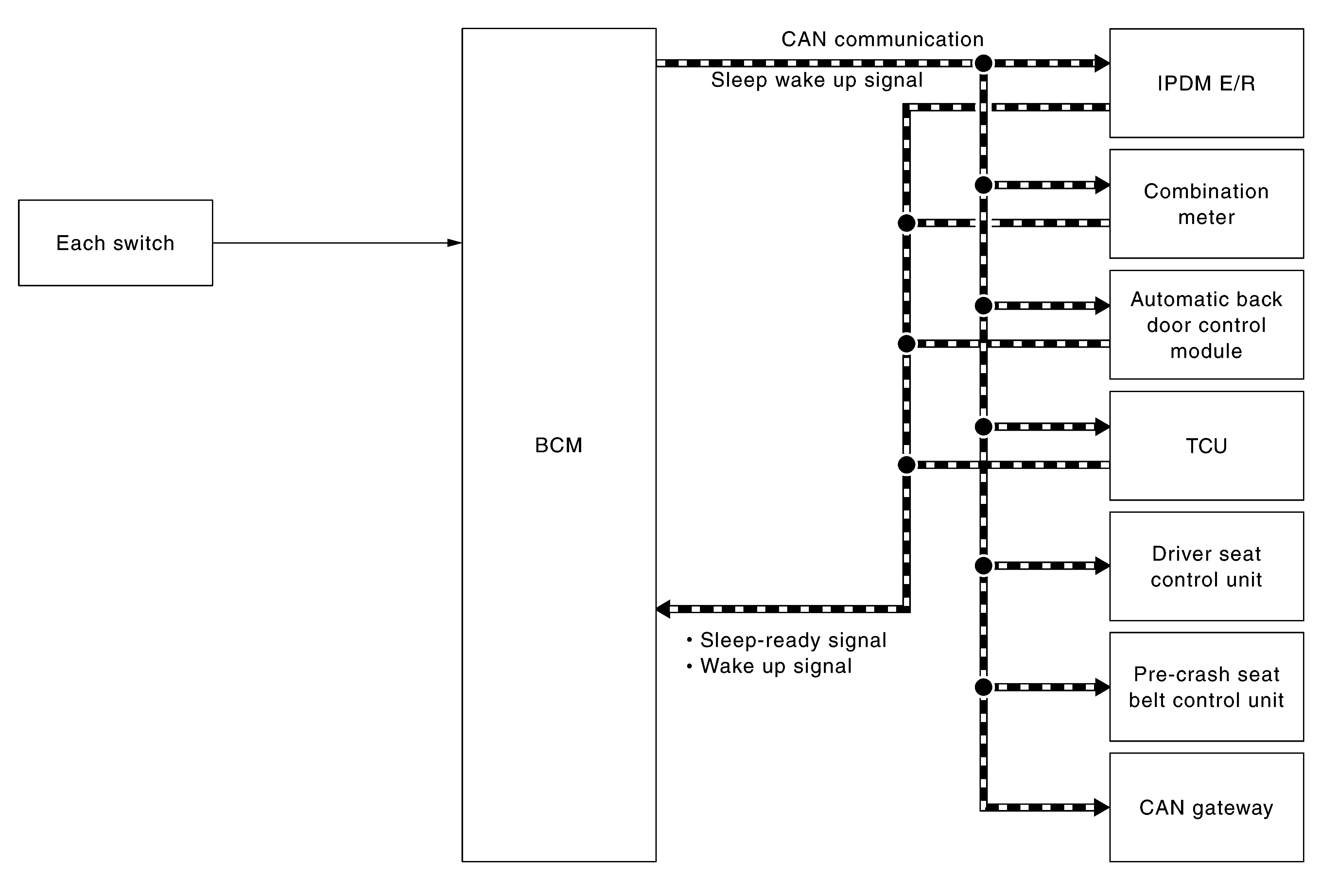
SYSTEM DIAGRAM 

GNSDB146779Courtesy of NISSAN NORTH AMERICA, INC.
NOTE: Pre-crash seat belt control unit is not used.

OUTLINE 

LOW POWER CONSUMPTION CONTROL WITH BCM 

BCM reduces the power consumption with the following operation in the low power consumption MODE.

Sleep MODE activation 

Sleep condition

CAN sleep condition BCM sleep condition
  • Receiving the sleep-ready signal (ready) from all units
  • Ignition switch: OFF
  • Vehicle security system: Not operation
  • Warning chime: Not operation
  • Intelligent Key system buzzer: Not operation
  • Stop lamp switch: OFF
  • Turn signal indicator lamp: Not operation
  • Exterior lamp: OFF
  • Door lock status: No change
  • CONSULT communication status: Not communication
  • Meter display signal: Non-transmission
  • Door switch status: No change
  • Rear window defogger: OFF
  • Interior room lamp battery saver: Time out
  • RAP system: OFF
  • IVIS: Not operation
  • Remote keyless entry receiver communication status: No communication
  • LOCK indicator lamp: Not operation
  • ACC indicator lamp: Not operation
  • ON indicator lamp: Not operation

Wake-up operation 

Wake-up condition

BCM wake-up condition CAN wake-up condition
Back door opener switch: OFF → ON
  • Receiving the sleep-ready signal (Not-ready) from any units
  • Push-button ignition switch (push switch): OFF→ ON
  • Hazard switch: ON
  • HI BEAM switch: OFF → ON, ON → OFF
  • PASSING switch: OFF → ON, ON → OFF
  • HEADLAMP 1 switch: OFF → ON, ON → OFF
  • HEADLAMP 2 switch: OFF → ON, ON → OFF
  • TAIL LAMP switch: OFF → ON
  • FR FOG switch: OFF → ON, ON → OFF
  • TURN RH: OFF → ON
  • TURN LH: OFF → ON
  • Driver door switch: OFF → ON, ON → OFF
  • Passenger door switch: OFF → ON, ON → OFF
  • Rear RH door switch: OFF → ON, ON → OFF
  • Rear LH door switch: OFF → ON, ON → OFF
  • Back door switch: OFF → ON, ON → OFF
  • Driver door request switch: OFF → ON
  • Passenger door request switch: OFF → ON
  • Back door request switch: OFF → ON
  • Stop lamp switch: ON
  • Door lock and unlock switch:

    NEUTRAL → LOCK, NEUTRAL → UNLOCK

  • Door key cylinder switch:

    NEUTRAL → LOCK, NEUTRAL → UNLOCK

  • Remote keyless entry receiver communication: Receiving
  • Front door lock assembly (driver side) (unlock sensor):

    OFF → ON, ON → OFF