LEMON Manuals: Even more car manuals for everyone: 1960-2025
Home >> Infiniti >> 2024 >> QX80 Premium Select, AWD >> Repair and Diagnosis >> Engine Performance >> Engine Control Systems >> Engine Control System (2 Of 2) >> Description >> Component Location >> Battery Current Sensor (With Battery Temperature Sensor) >> Component Description
April 5, 2026: LEMON Manuals is launched! Read the announcement.

Component Description

OUTLINE 

The power generation voltage variable control enables fuel consumption to be decreased by reducing the engine load which is caused by the power generation of the generator.

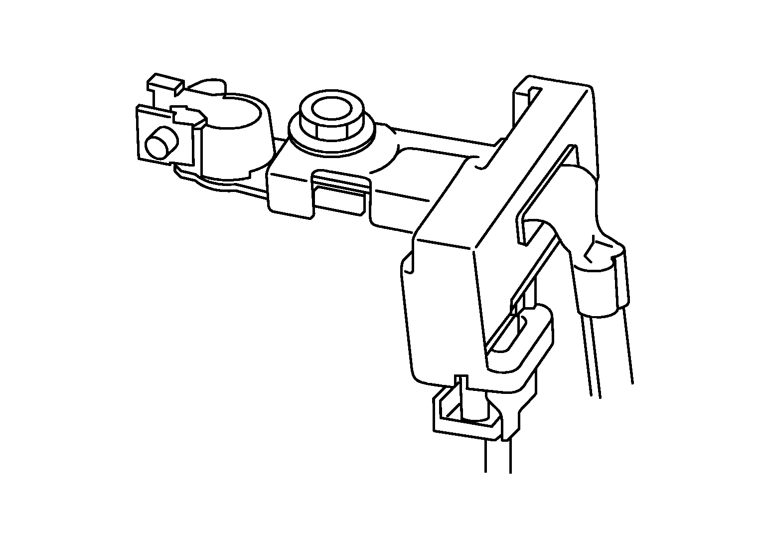
GNSDB131114Courtesy of NISSAN NORTH AMERICA, INC.

Based on sensor signals, ECM judges whether or not the power generation voltage variable control is performed. When performing the power generation voltage variable control, ECM calculates the target power generation voltage based on the sensor signal. And ECM sends the calculated value as the power generation command value to IPDM E/R. For the details of the power generation voltage variable control, Refer to System Description .

CAUTION:

Never connect the electrical component or the ground wire directly to the battery terminal. The connection causes the malfunction of the power generation voltage variable control, and then the battery discharge may occur.

BATTERY CURRENT SENSOR 

The battery current sensor is installed to the battery cable at the negative terminal. The sensor measures the charging/discharging current of the battery.

BATTERY TEMPERATURE SENSOR 

Battery temperature sensor is integrated in battery current sensor.

GNSDB107941Courtesy of NISSAN NORTH AMERICA, INC.

The sensor measures ambient temperature around the battery.

The electrical resistance of the thermistor decreases as temperature increases.

<Reference data>

Temperature [°C (°F)] Voltage * (V) Resistance (kΩ)
25 (77) 3.333 1.9 - 2.1
90 (194) 0.969 0.222 - 0.258

* : These data are reference values and are measured between ECM terminals.