LEMON Manuals: Even more car manuals for everyone: 1960-2025
Home >> Jaguar >> 1996 >> XJS >> Repair and Diagnosis (Single Page) >> Engine Performance >> System >> Engine Controls - Tests W/Codes >> Connector Identification >> Notes
April 5, 2026: LEMON Manuals is launched! Read the announcement.

Connector Identification: Notes

For DLC and PCM connector terminal identification, See Fig 1 and Fig 2 . DO NOT backprobe PCM when testing. Place tester probe into contact with terminal, from terminal side of wiring harness connectors in engine compartment. DO NOT puncture wire insulation. For female connectors, just touch terminal lightly with tester probe. DO NOT insert probe into terminal.

Fig 1: Data Link Connector (DLC) Connector Terminals
G95A31567Courtesy of JAGUAR CARS, INC.
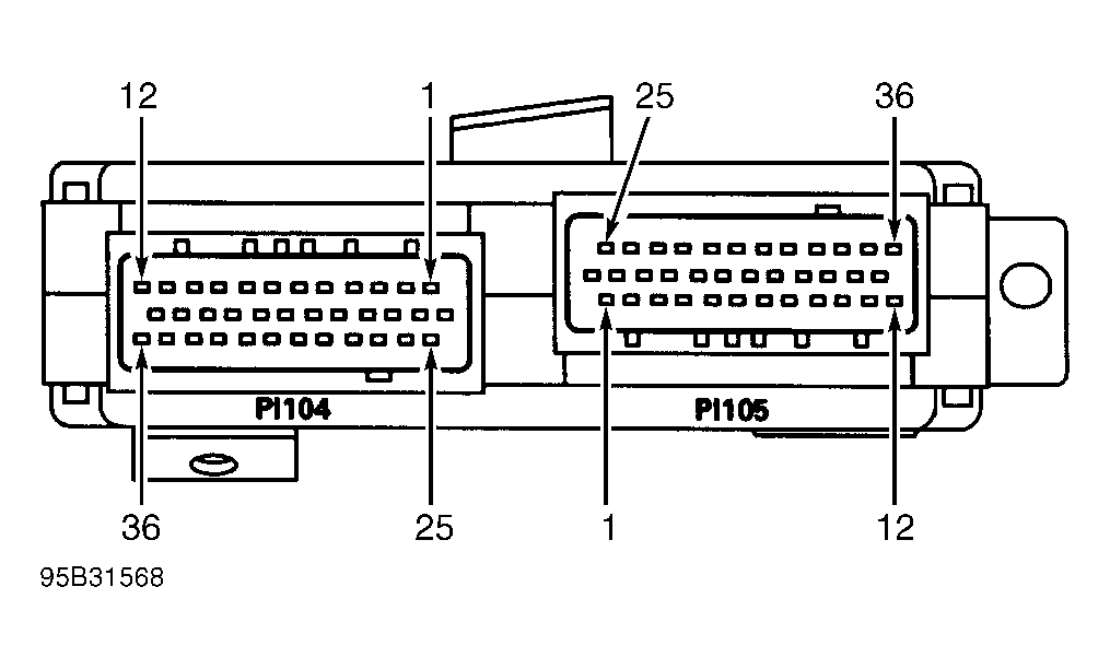
Fig 2: Powertrain Control Module (PCM) Connector Terminals (4.0L)
G95B31568Courtesy of JAGUAR CARS, INC.
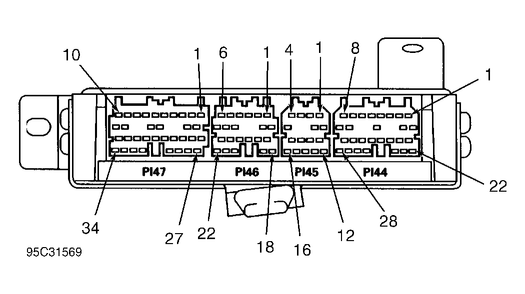
Fig 3: Powertrain Control Module (PCM) Connector Terminals (6.0L)
G95C31569Courtesy of JAGUAR CARS, INC.