LEMON Manuals: Even more car manuals for everyone: 1960-2025
Home >> Jaguar >> 2004 >> XK8 2D Convertible >> Repair and Diagnosis (Single Page) >> Steering >> Steering Column >> Steering Column >> Steering Column >> Steering Column - Description & Operation >> Steering Wheel
April 5, 2026: LEMON Manuals is launched! Read the announcement.

Steering Wheel

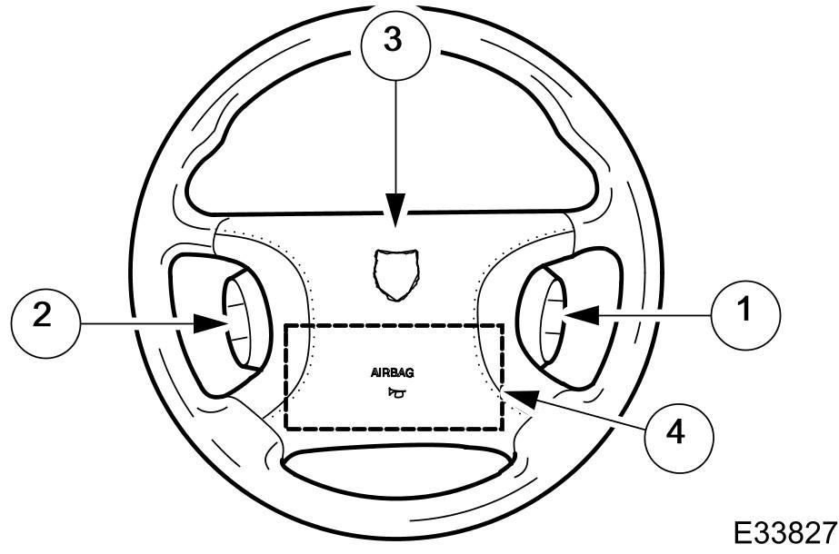
Fig 1: Steering Wheel Components
GJ0000478Courtesy of JAGUAR CARS, INC.
Item Number Description
1 ICE switchpack
2 Cruise control switchpack
3 Horn pad
4 Air bag module location

The steering wheel assembly incorporates: