LEMON Manuals: Even more car manuals for everyone: 1960-2025
Home >> Jaguar >> 2007 >> S-Type (X200) V8-4.2L SC >> Repair and Diagnosis >> Cruise Control >> Cruise Control Module >> Diagrams
April 5, 2026: LEMON Manuals is launched! Read the announcement.

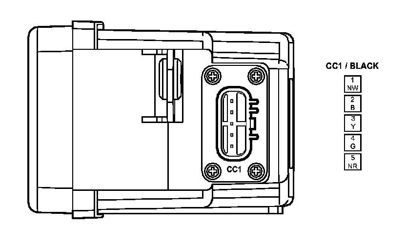
Cruise Control Module: Diagrams

Speed Control Sensor:



Speed Control Module:



Speed Control Module: