LEMON Manuals: Even more car manuals for everyone: 1960-2025
Home >> Lexus >> 1992 >> LS 400 >> Repair and Diagnosis >> Brakes >> Traction Control >> Anti-Lock Brake System >> Wiring Diagram
April 5, 2026: LEMON Manuals is launched! Read the announcement.

Anti-Lock Brake System: Wiring Diagram

Fig 1: Anti-Lock Brake System Wiring Diagram (1990-91)
G91I03804Courtesy of © TOYOTA, LICENSE AGREEMENT TMS1002
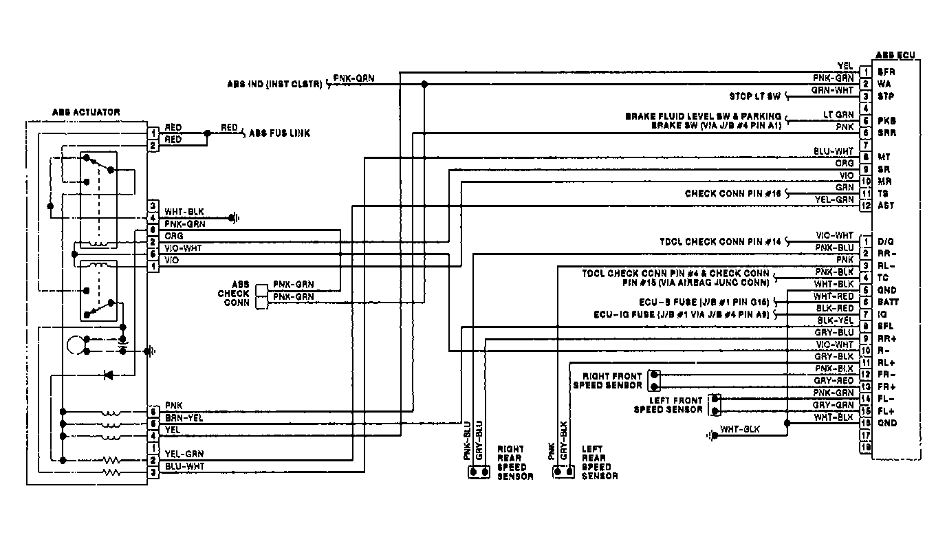
Fig 2: Anti-Lock Brake System Wiring Diagram (1992)
G93C00879Courtesy of © TOYOTA, LICENSE AGREEMENT TMS1002