LEMON Manuals: Even more car manuals for everyone: 1960-2025
Home >> Lexus >> 1992 >> SC 400 >> Repair and Diagnosis (Single Page) >> Engine Performance >> Engine Controls - Adjustments >> Throttle Position Sensor & Sub-Throttle Position Sensor
April 5, 2026: LEMON Manuals is launched! Read the announcement.

Throttle Position Sensor & Sub-Throttle Position Sensor

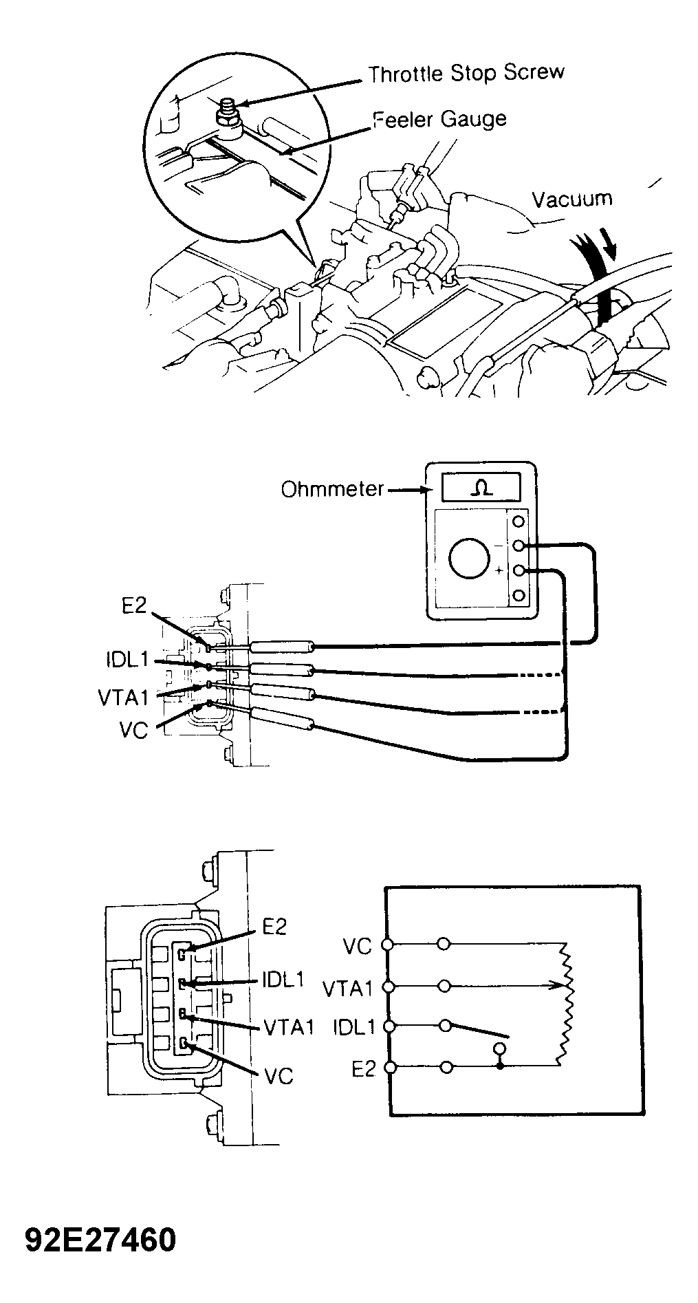
  1. Loosen TPS mounting screws. Unplug TPS and connect ohmmeter between throttle position sensor IDL and E2 terminals. See Fig 1, Fig 2 or Fig 3. Insert feeler gauge between throttle stop screw and lever. Feeler gauge should be .020" (.50 mm) on ES300, or .0157" (.40 mm) on LS400 and SC400. On SC300, feeler gauge should be .018" (.45 mm) on TPS and .014" (.35 mm) on sub-TPS.
  2. Rotate TPS clockwise until ohmmeter deflects. Tighten mounting screws. Using specified feeler gauge, recheck adjustment. See THROTTLE POSITION SENSOR ADJUSTMENT  table. Remove ohmmeter and connect TPS.
THROTTLE POSITION SENSOR ADJUSTMENT

Clearance Between Lever & Stop Screw Ohmmeter Reading At Terminals IDL & E2
ES300
.012" (.30 mm) Continuity
.028" (.70 mm) No Continuity
LS400
.016" (.40 mm) Continuity
.034" (.85 mm) No Continuity
SC300
.014" (.35 mm) Continuity
.020" (.50 mm) No Continuity
SC400
.016" (.40 mm) Continuity
.026" (.65 mm) No Continuity
Fig 1: Adjusting Throttle Position Sensor (ES300, LS400 & SC400)
G90F20771Courtesy of © TOYOTA, LICENSE AGREEMENT TMS1002
Fig 2: Adjusting Throttle Position Sensor (SC300)
G92E27460Courtesy of © TOYOTA, LICENSE AGREEMENT TMS1002
Fig 3: Adjusting Sub-Throttle Position Sensor (SC300)
G92F27461Courtesy of © TOYOTA, LICENSE AGREEMENT TMS1002