LEMON Manuals: Even more car manuals for everyone: 1960-2025
Home >> Lexus >> 1992 >> SC 400 >> Repair and Diagnosis >> Electrical >> Charging Systems >> Alternator & Regulator >> Description
April 5, 2026: LEMON Manuals is launched! Read the announcement.

Alternator & Regulator: Description

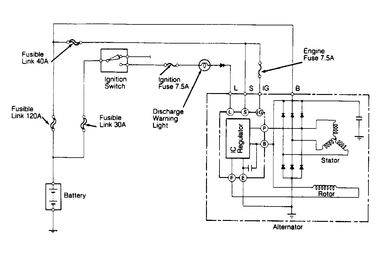
Nippondenso 3-phase alternators use 3 positive and 3 negative diodes to rectify current. Charging system voltage is controlled by an internal Integrated Circuit (IC) voltage regulator. See Fig 1, Fig 2 or Fig 3 .

Fig 1: Charging Circuit Schematic (ES300)
G93G01639Courtesy of © TOYOTA, LICENSE AGREEMENT TMS1002
Fig 2: Charging Circuit Schematic (LS400)
G91E02732Courtesy of © TOYOTA, LICENSE AGREEMENT TMS1002
Fig 3: Charging Circuit Schematic (SC300 & SC400)
G93I01640Courtesy of © TOYOTA, LICENSE AGREEMENT TMS1002