LEMON Manuals: Even more car manuals for everyone: 1960-2025
Home >> Lexus >> 1994 >> LS 400 >> Repair and Diagnosis >> Engine Mechanical >> Starter >> On-Vehicle Testing >> Starter Relay Test
April 5, 2026: LEMON Manuals is launched! Read the announcement.

Starter Relay Test

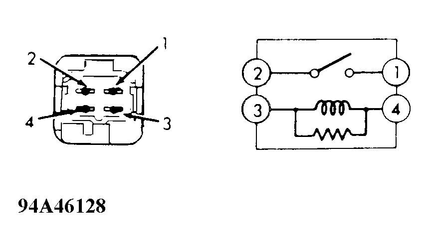
Remove starter relay. See ELECTRICAL COMPONENT LOCATIONS  table under DESCRIPTION. Starter relay is okay if it tests as follows:

Fig 1: Identifying Starter Relay Terminals (LS400)
G94A46128Courtesy of © TOYOTA, LICENSE AGREEMENT TMS1002