LEMON Manuals: Even more car manuals for everyone: 1960-2025
Home >> Lexus >> 1994 >> SC 400 >> Repair and Diagnosis >> Electrical >> Gauges >> Instrument Panel >> Component Testing >> Rheostat Volume Control Test
April 5, 2026: LEMON Manuals is launched! Read the announcement.

Rheostat Volume Control Test

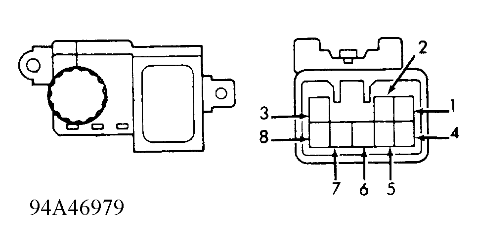
NOTE: Rheostat and rheostat volume control are separate components. Rheostat is an electronic module that receives signals from rheostat volume control (control wheel).

Remove instrument cluster. Replace rheostat volume control if it does not test as follows.

Fig 1: Terminal Of Rheostat Volume Control ID
G94A46979Courtesy of © TOYOTA, LICENSE AGREEMENT TMS1002