LEMON Manuals: Even more car manuals for everyone: 1960-2025
Home >> Lexus >> 1995 >> GS 300 >> Repair and Diagnosis >> Electrical >> Starter >> On-Vehicle Testing >> Starter Relay Test
April 5, 2026: LEMON Manuals is launched! Read the announcement.

Starter Relay Test

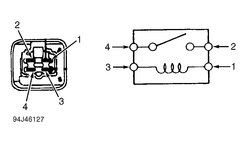
Remove starter relay. See ELECTRICAL COMPONENT LOCATIONS  under DESCRIPTION & OPERATION. Starter relay is okay if it tests as follows:

Fig 1: Identifying Starter Relay Terminals
G94J46127Courtesy of © TOYOTA, LICENSE AGREEMENT TMS1002