LEMON Manuals: Even more car manuals for everyone: 1960-2025
Home >> Lexus >> 1996 >> LS 400 >> Repair and Diagnosis >> Body & Frame >> Body, Cab Control Systems >> Multiplex Control System >> Testing >> Test No. 6, Driver's Door Switch Circuit
April 5, 2026: LEMON Manuals is launched! Read the announcement.

Test No. 6, Driver's Door Switch Circuit

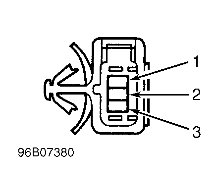
  1. Remove appropriate door panel to access door key lock and unlock switch 3-pin connector. Disconnect 3-pin connector. Check for continuity between terminals No. 1 and 2. See Fig 1. Continuity should exist with door key lock and unlock switch in LOCK position. Check for continuity between terminals No. 2 and 3. Continuity should exist with door key lock and unlock switch in LOCK position. If continuity is as specified, go to next step. If continuity is not as specified, replace door lock assembly.
  2. Disconnect driver's memory switch 7-pin connector. Check for continuity between specified terminals of driver's memory switch. See Fig 2. See DRIVER'S MEMORY SWITCH TEST table. If continuity is as specified, go to next step. If continuity is not as specified, replace driver's memory switch.
  3. Disconnect shoulder belt adjusting switch 7-pin connector. Check for continuity between terminals No. 2 and 3. See Fig 2. Continuity should exist with switch in UP position. Check for c ontinuity between terminals No. 1 and 3. Continuity should exist with switch in DOWN position. If continuity is not as specified, replace shoulder belt adjusting switch. If continuity is as specified, repair or replace wiring between each switch and driver's door ECU.
Fig 1: Identifying Door Key Lock & Unlock Switch Terminals
G96B07380Courtesy of © TOYOTA, LICENSE AGREEMENT TMS1002
Fig 2: Driver's Memory Switch& Shoulder Belt Adj. Switch Terminal ID
G96F07382Courtesy of © TOYOTA, LICENSE AGREEMENT TMS1002
DRIVER'S MEMORY SWITCH TEST

Switch Position Terminals No.
Set Switch ON 3 & 4
Switch No. 1 ON 3 & 7
Switch No. 2 ON 3 & 6