LEMON Manuals: Even more car manuals for everyone: 1960-2025
Home >> Lexus >> 1996 >> LX 450 >> Repair and Diagnosis >> Engine Performance >> System >> Engine Controls - System/Component Tests >> Idle Control System >> Idle Air Control (IAC) Valve
April 5, 2026: LEMON Manuals is launched! Read the announcement.

Idle Air Control (IAC) Valve

NOTE: IAC valve is located on side of throttle body, near throttle position sensor.
  1. Listen for clicking sound at IAC valve immediately after engine is shut off. If no clicking sound is heard, check IAC valve resistance and operation.
  2. To test IAC valve resistance, ensure ignition is off. Disconnect electrical connector from IAC valve. Using ohmmeter, check resistance between specified terminals. See IAC VALVE RESISTANCE SPECIFICATIONS  table. See Fig 1. Replace IAC valve if resistance is not within specification.
    IAC VALVE RESISTANCE SPECIFICATIONS

    Terminals Ohms
    B1 To S1 Or S3
    Cold (1) 15-25
    Hot (2) 20-30
    B2 To S2 Or S4
    Cold (1) 15-25
    Hot (2) 20-30
    (1) Cold is with temperature of 14-122°F (-10-50°C).
    (2) Hot is with temperature of 122-212°F (50-100°C).
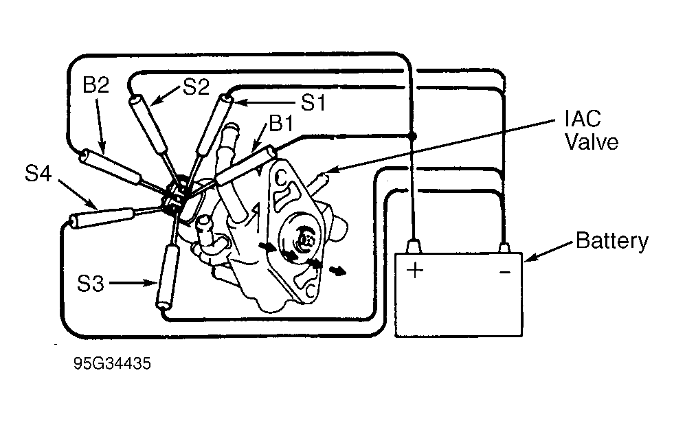
  3. To test IAC valve operation, remove IAC valve. Apply battery voltage to terminals B1 and B2. See Fig 1. Repeatedly ground terminals in sequence, and ensure IAC valve closes and opens. See IAC VALVE GROUNDING SEQUENCE  table. See Figure. Replace IAC valve if defective.
    IAC VALVE GROUNDING SEQUENCE

    Application Terminal Grounding Sequence
    To Close IAC Valve S1-S2-S3-S4-S1
    To Open IAC Valve S4-S3-S2-S1-S4
  4. If IAC valve resistance is within specification and IAC valve operates correctly, check wiring between Engine Control Module (ECM) and IAC valve. See appropriate wiring diagram in WIRING DIAGRAMS article.
  5. ECM is located above glove box.
Fig 1: IAC Valve Terminal ID
G95D34432Courtesy of © TOYOTA, LICENSE AGREEMENT TMS1002
Fig 2: Testing Typical IAC Valve Operation - Closing IAC Valve
G95G34435Courtesy of © TOYOTA, LICENSE AGREEMENT TMS1002
Fig 3: Testing Typical IAC Valve Operation - Opening IAC Valve
G95H34436Courtesy of © TOYOTA, LICENSE AGREEMENT TMS1002