LEMON Manuals: Even more car manuals for everyone: 1960-2025
Home >> Lexus >> 1997 >> LX 450 >> Repair and Diagnosis >> Suspension >> Wheel Alignment >> Specifications & Procedures >> Wheel Alignment Procedures >> Toe-In Adjustment
April 5, 2026: LEMON Manuals is launched! Read the announcement.

Toe-In Adjustment

  1. Inspect toe-in. If toe-in is not within specification, adjust by the tie rod end. See Fig 1 and Figure .
    Fig 1: Inspecting Toe-In
    G00161869Courtesy of © TOYOTA, LICENSE AGREEMENT TMS1002
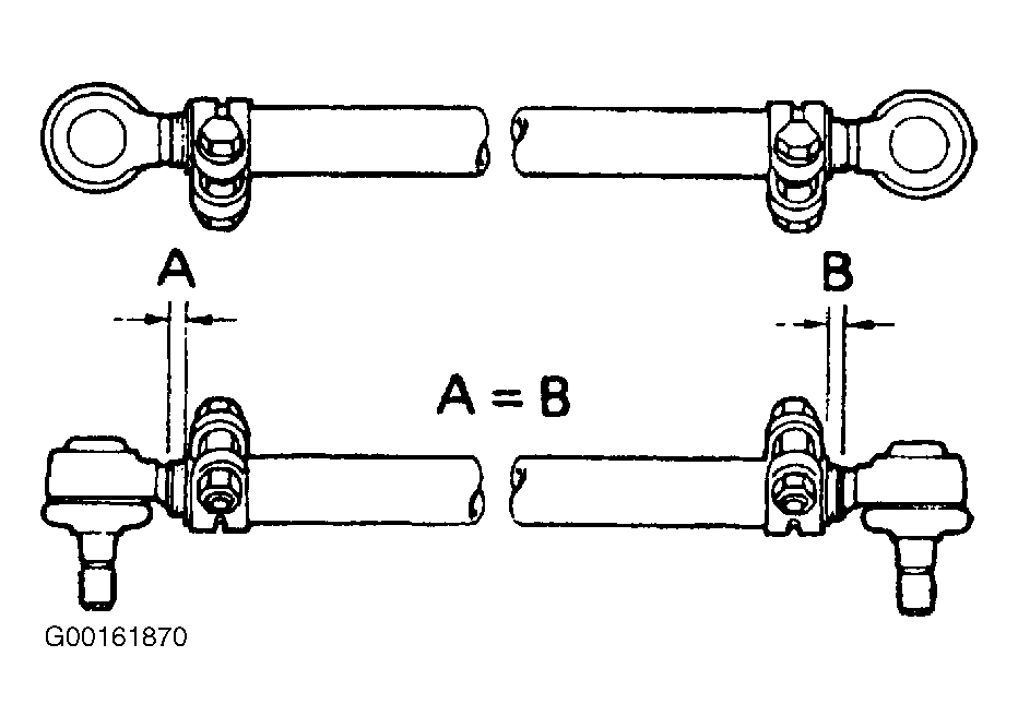
  2. NOTE: Make sure that the length of the left and right tie rod ends are the same.
  3. Adjust toe-in. Loosen the clamp bolts and nuts. Adjust toe-in to the correct value by turning the tie rod. See Fig 3. The clamps opening must be positioned at the rear of the tie rod and face within 60° +/- 10° from the vehicle axis. See Fig 2. Torque the clamp bolts and nuts.
Fig 2: Positioning Tie Rod Clamps
G00161871Courtesy of © TOYOTA, LICENSE AGREEMENT TMS1002
Fig 3: Adjusting Toe-In
G00161870Courtesy of © TOYOTA, LICENSE AGREEMENT TMS1002