LEMON Manuals: Even more car manuals for everyone: 1960-2025
Home >> Lexus >> 1999 >> ES 300 V6-3.0L (1MZ-FE) >> Repair and Diagnosis >> Powertrain Management >> Computers and Control Systems >> Vehicle Speed Sensor >> Testing and Inspection
April 5, 2026: LEMON Manuals is launched! Read the announcement.

Vehicle Speed Sensor: Testing and Inspection




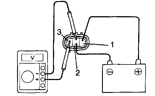
INSPECT VEHICLE SPEED SENSOR OPERATION
a. Connect the positive (+) lead from the battery to terminal 1 and negative (-) lead to terminal 2.
b. Connect the positive (+) lead from the tester to terminal 3 and the negative (-) lead to terminal 2.
c. Rotate the shaft.
d. Check that there is voltage change from approx. 0 V to 11 V or more between terminals 2 and 3.

HINT: The voltage change should be performed 4 times for every revolution of the speed sensor shaft.
If operation is not as specified, replace the sensor.


INSPECT VEHICLE SPEED SENSOR CIRCUIT







Disconnect the connector from sensor and inspect the connector on wire harness side, as shown.
If circuit is not as specified, inspect power source or wire harness.