LEMON Manuals: Even more car manuals for everyone: 1960-2025
Home >> Lexus >> 1999 >> LX 470 >> Repair and Diagnosis >> Body & Frame >> Power Windows >> Connector Views
April 5, 2026: LEMON Manuals is launched! Read the announcement.

Connector Views

Use Fig 1-Fig 6 for diagnostic testing in TROUBLE SHOOTING , COMPONENT TESTS  and CIRCUIT TESTS  .

Fig 1: Identifying Power Window Switch Terminals (Driver Switch)
G99I50748Courtesy of © TOYOTA, LICENSE AGREEMENT TMS1002
Fig 2: Identifying Power Window Switch Terminals (Passenger & Rear Switches)
G99D50750Courtesy of © TOYOTA, LICENSE AGREEMENT TMS1002
Fig 3: Identifying Power Window Motor Terminals
G98I10833Courtesy of © TOYOTA, LICENSE AGREEMENT TMS1002
Fig 4: Identifying Instrument ECU Terminals
G99F50752Courtesy of © TOYOTA, LICENSE AGREEMENT TMS1002
Fig 5: Identifying Rear Quarter Power Window Switch Terminals
G96I06869Courtesy of © TOYOTA, LICENSE AGREEMENT TMS1002
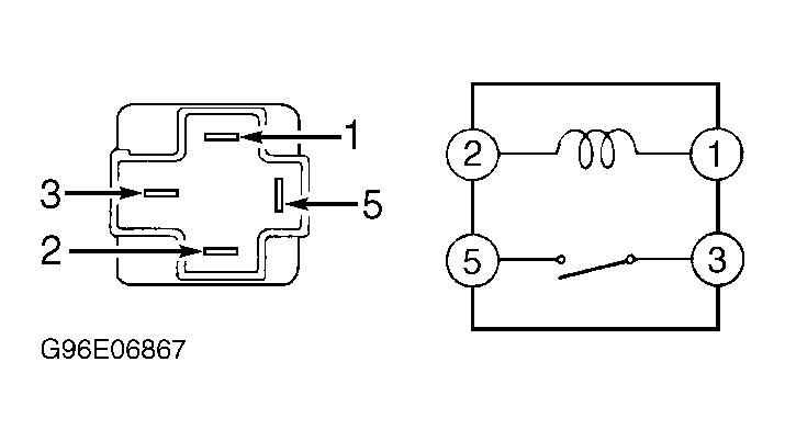
Fig 6: Identifying Power Main Relay Terminals
G96E06867Courtesy of © TOYOTA, LICENSE AGREEMENT TMS1002