LEMON Manuals: Even more car manuals for everyone: 1960-2025
Home >> Lexus >> 1999 >> SC 400 V8-4.0L (1UZ-FE) >> Repair and Diagnosis >> Steering and Suspension >> Steering >> Steering Column >> Steering Column Control Module >> Testing and Inspection >> Sensor Power Source Circuit
April 5, 2026: LEMON Manuals is launched! Read the announcement.

Sensor Power Source Circuit

CIRCUIT DESCRIPTION

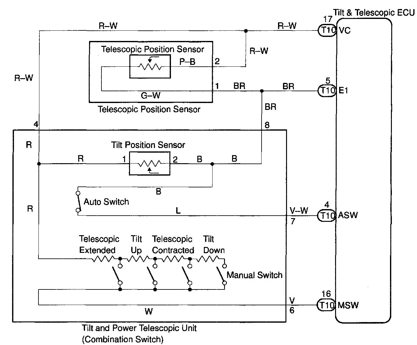
Power to the position sensors, manual switch and auto set switch is output from the ECU.




WIRING DIAGRAM

Step 1:




Step 2:




Step 3:




INSPECTION PROCEDURE