LEMON Manuals: Even more car manuals for everyone: 1960-2025
Home >> Lexus >> 2000 >> ES 300 V6-3.0L (1MZ-FE) >> Repair and Diagnosis >> Powertrain Management >> Computers and Control Systems >> Transmission Position Sensor/Switch >> Testing and Inspection
April 5, 2026: LEMON Manuals is launched! Read the announcement.

Transmission Position Sensor/Switch: Testing and Inspection

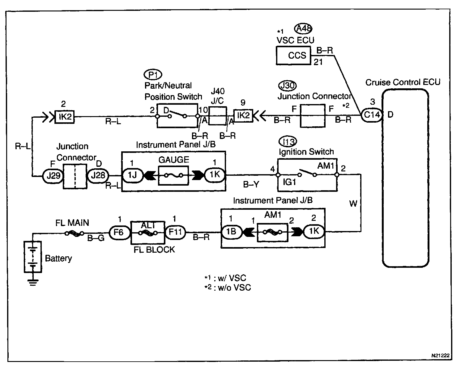
CIRCUIT DESCRIPTION
When the shift position is put in except D position, a signal is sent from the park/neutral position switch to the ECU. When this signal is input during cruise control driving, the ECU cancels the cruise control-

Wiring Diagram:






Steps 1 - 2:




Steps 3 - 4:




INSPECTION PROCEDURE