LEMON Manuals: Even more car manuals for everyone: 1960-2025
Home >> Lexus >> 2000 >> LS 400 V8-4.0L (1UZ-FE) >> Repair and Diagnosis >> Powertrain Management >> Computers and Control Systems >> Body Control Module >> Testing and Inspection >> Component Tests and General Diagnostics >> Stop Light Switch Circuit
April 5, 2026: LEMON Manuals is launched! Read the announcement.

Stop Light Switch Circuit

CIRCUIT DESCRIPTION
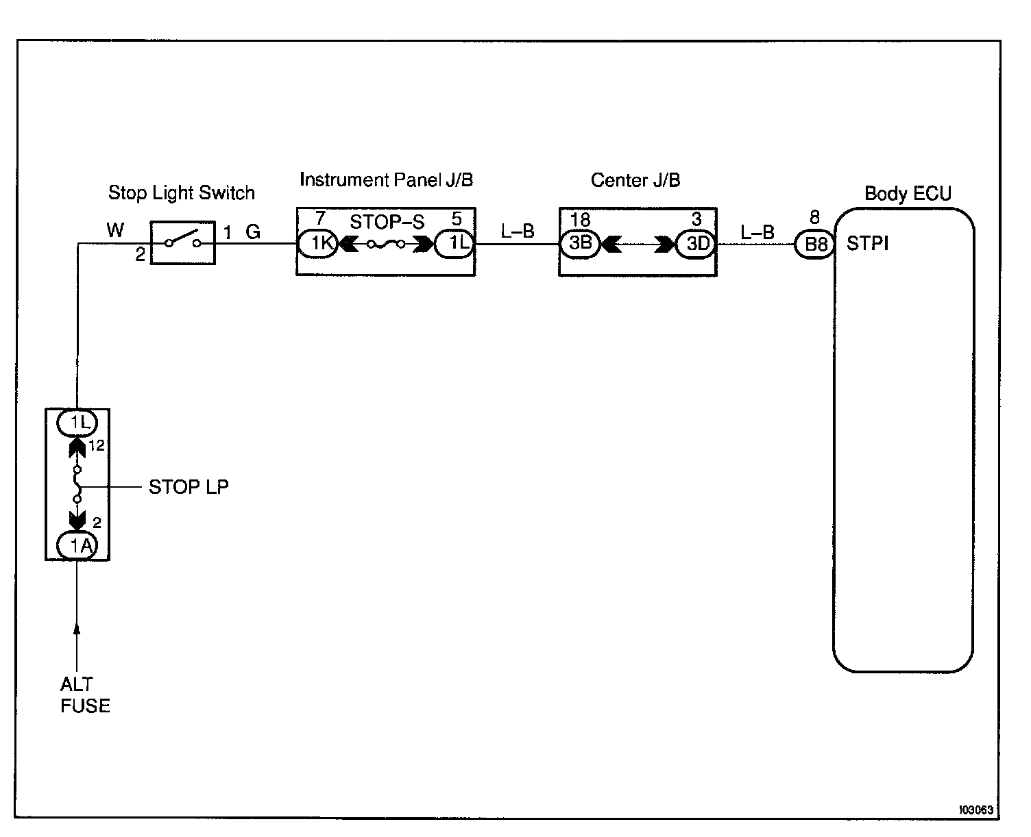
The Body ECU is detecting the condition of the stop light switch.

Wiring Diagram:






Steps 1 - 3:




INSPECTION PROCEDURE