LEMON Manuals: Even more car manuals for everyone: 1960-2025
Home >> Lexus >> 2000 >> LS 400 V8-4.0L (1UZ-FE) >> Repair and Diagnosis >> Powertrain Management >> Computers and Control Systems >> Body Control Module >> Testing and Inspection >> Component Tests and General Diagnostics >> Taillight Relay Circuit
April 5, 2026: LEMON Manuals is launched! Read the announcement.

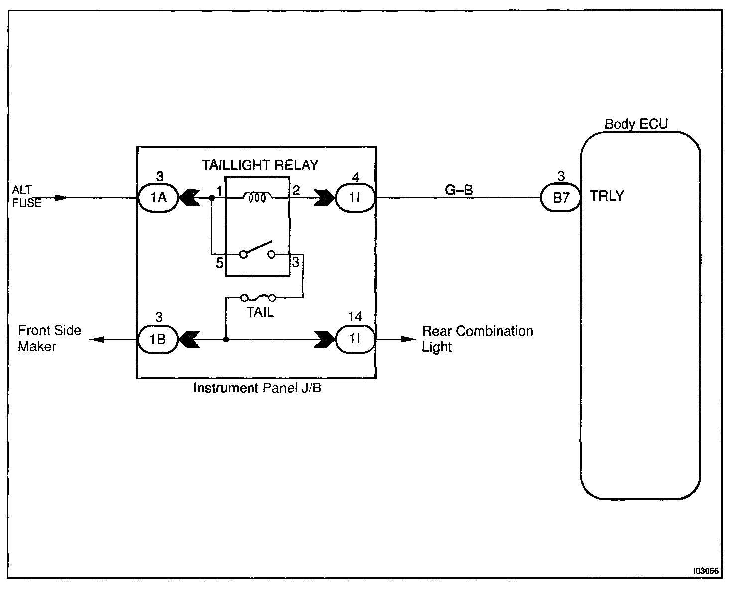
Taillight Relay Circuit

CIRCUIT DESCRIPTION
Taillight relay will be "ON" by operating the taillight switch. The transistor which activates the tail light relay has two sorts: one activates by the tail light switch for fail safe and the other activates by CPU.

Wiring Diagram:






Steps 1 - 3:




INSPECTION PROCEDURE