LEMON Manuals: Even more car manuals for everyone: 1960-2025
Home >> Lexus >> 2000 >> SC 300 >> Repair and Diagnosis >> Engine Performance >> System >> Engine Controls - System & Component Testing >> Motors, Relays & Solenoids >> Motors >> Throttle Control Motor
April 5, 2026: LEMON Manuals is launched! Read the announcement.

Throttle Control Motor

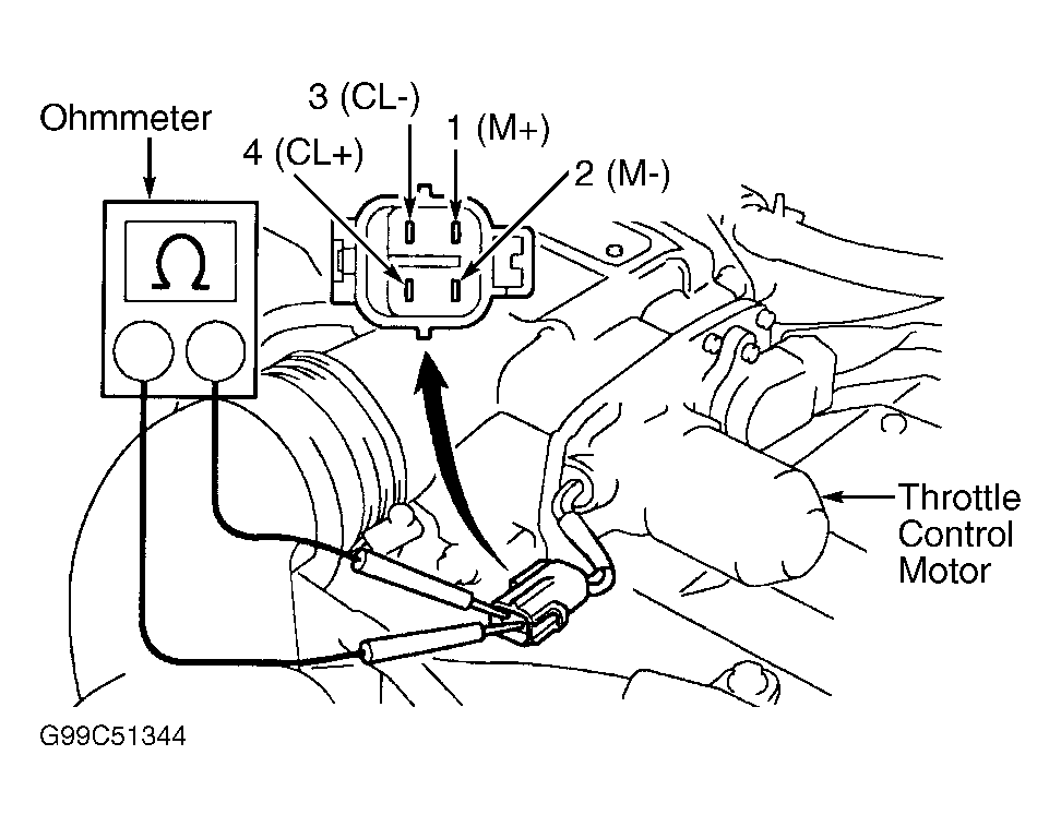
  1. Disconnect throttle motor 4-pin connector. Throttle control motor is mounted on side of throttle body. Measure resistance between terminals No. 3 (CL-) and 4 (CL+) at throttle control motor. See Fig 1, Fig 2 or Fig 3 . Resistance should be 4.2-5.2 ohms at 68°F (20°C). If resistance is not 4.2-5.2 ohms, replace throttle control motor. If resistance is as specified, go to next step.
  2. Measure resistance between terminals No. 1 (M+) and 4 (M-) at throttle control motor connector. See Fig 1, Fig 2 or Fig 3 . Resistance should be .3-100.0 ohms at 68°F (20°C). If resistance is not .3-100.0 ohms, replace throttle control motor.
Fig 1: Testing Throttle Control Motor (GS300 & SC300)
G99C51344Courtesy of © TOYOTA, LICENSE AGREEMENT TMS1002
Fig 2: Testing Throttle Control Motor (GS400 & SC400)
G99E51346Courtesy of © TOYOTA, LICENSE AGREEMENT TMS1002
Fig 3: Testing Throttle Control Motor (lS400)
G99E50520Courtesy of © TOYOTA, LICENSE AGREEMENT TMS1002