LEMON Manuals: Even more car manuals for everyone: 1960-2025
Home >> Lexus >> 2000 >> SC 400 >> Repair and Diagnosis >> External Pages >> Different car >> Section 16 (Front Suspension System) >> Torque Specifications
April 5, 2026: LEMON Manuals is launched! Read the announcement.

Torque Specifications

WARNING: This page does not describe the selected car, but rather 15 other vehicles, including the 2000 Toyota Sienna, 2000 Toyota RAV4, 2000 Toyota ECHO, 2000 Toyota Corolla, and 2000 Toyota Celica. However, it is still accessible from the selected car via links, so may be relevant.
TORQUE SPECIFICATIONS

Application Ft. Lbs. (N.m)
ABS Speed Sensor Wire Harness Clamp Bolt
Avalon, Camry, Camry Solara, Echo & Sienna 22 (30)
Brace Mounting Nuts
Corolla 51 (69)
Brake Caliper Mounting Bolts-To-Steering Knuckle
Avalon, Camry, Camry Solara, RAV4 & Sienna 79 (107)
Celica
1999 76 (103)
2000 79 (107)
Corolla & Echo 65 (88)
Brake Hose Clamp Bolt
Avalon, Camry, Camry Solara, Corolla & Sienna 22 (30)
Celica & RAV4 14 (19)
Drive Axle Nut
Avalon, Camry, Camry Solara & Sienna 217 (294)
Celica, Echo & RAV4 159 (216)
Corolla 166 (225)
Exhaust Pipe Bracket Bolts
Celica 14 (19)
Lower Ball Joint-To-Axle Hub Nut
Avalon, Camry, Camry Solara & Sienna 90 (122)
Celica 76 (103)
Corolla 91 (123)
Echo 72 (98)
RAV4 94 (127)
Lower Control Arm-To-Ball Joint Nuts & Bolt
Avalon, Camry, Echo & RAV4 94 (127)
Camry Solara & Sienna 90 (122)
Celica
1999 94 (127)
2000 105 (142)
Corolla 105 (142)
Lower Control Arm Bracket Bolts & Nuts
Corolla
Front Bracket-To-Bracket Bolt 167 (226)
Lower Bracket (Rear)-To-Upper Bracket (Center) Bolt 109 (148)
Lower Bracket-To-Upper Bracket Nut 14 (19)
Upper Bracket Center Bolt 129 (175)
Upper Bracket Outer (Short) Bolt 109 (147)
RAV4
Inner Nut 21 (28)
Mounting Bolts 101 (137)
Rear Nut (To Lower Control Arm) 101 (137)
Lower Control Arm Bushing-To-Body Bolts
Avalon, Camry, Camry Solara & Sienna 152 (206)
Echo 65 (88)
Lower Control Arm Bushing-To-Suspension Crossmember Bolts
Celica
1999 116 (157)
2000 101 (137)
Corolla 158 (214)
Echo 97 (132)
RAV4 126 (171)
Power Steering Gear Mounting Bolts
Celica
1999 94 (127)
2000 33 (45)
RAV4 83 (113)
Sienna 134 (182)
Shock Absorber Center Nut
Avalon, Camry, Camry Solara & Sienna 36 (49)
Celica, Corolla, RAV4 35 (47)
Echo 24 (33)
Shock Absorber Lower Nuts
Avalon & Camry 156 (212)
Camry Solara 162 (220)
Celica 113 (153)
Corolla 203 (274)
Echo 97 (132)
RAV4 117 (159)
Sienna 155 (210)
Shock Absorber Upper Nuts
Avalon, Camry, Camry Solara, RAV4 & Sienna 59 (80)
Celica
1999 59 (80)
2000 29 (39)
Corolla & Echo 29 (39)
Stabilizer Bar Bracket Bolts
Avalon, Camry, Camry Solara, Celica & Sienna 14 (19)
RAV4 22 (29)
Stabilizer Bar Link Nuts
Avalon, Camry, Camry Solara & Sienna 29 (39)
Celica & Corolla 33 (45)
Echo 13 (18)
RAV4
2-Door Model 33 (45)
All Other Models 54 (73)
Suspension Crossmember Mounting Bolts
Celica
1999
Outer Center 94 (127)
Outer Rear (Long) 123 (167)
Outer Rear (Short) 130 (176)
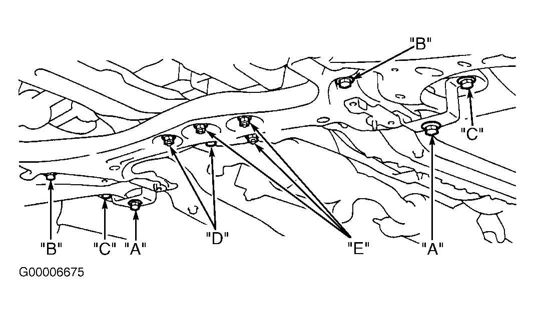
2000 (1)
"A" 33 (45)
"B" 38 (52)
"C" 83 (113)
"D" 116 (157)
"E" 29 (39)
Corolla (2)
Front Bolts ("B") 167 (226)
Rear Bolts ("D") 45 (61)
Center Nuts ("E") 42 (57)
Outer End Bolts ("C") 109 (148)
Outer Rear Bolts ("A") 129 (175)
RAV4
Outer 152 (206)
Suspension Crossmember-To-Center Member Bolt & Nuts
Celica 59 (80)
RAV4 (Nuts) 85 (115)
Tie Rod End Nut 36 (49)
INCH Lbs. (N.m) 
ABS Speed Sensor Bolt
Avalon, Camry, Camry Solara, & Corolla 71 (8.0)
Celica
1999 44 (5.0)
2000 71 (8.0)
Sienna 69 (7.8)
ABS Speed Sensor Wire Harness Clamp Bolt
Celica
1999 44 (5.0)
2000 71 (8.0)
RAV4 48 (5.4)
Axle Hub Dust Cover Bolts 74 (8.3)
Front Suspension Clamp (A/T Only)
RAV4 74 (8.3)
(1) See Figure.
(2) See Figure.