LEMON Manuals: Even more car manuals for everyone: 1960-2025
Home >> Lexus >> 2001 >> LS 430 >> Repair and Diagnosis >> Body & Frame >> Power Mirrors >> Component Tests >> Power Mirror Position Sensor
April 5, 2026: LEMON Manuals is launched! Read the announcement.

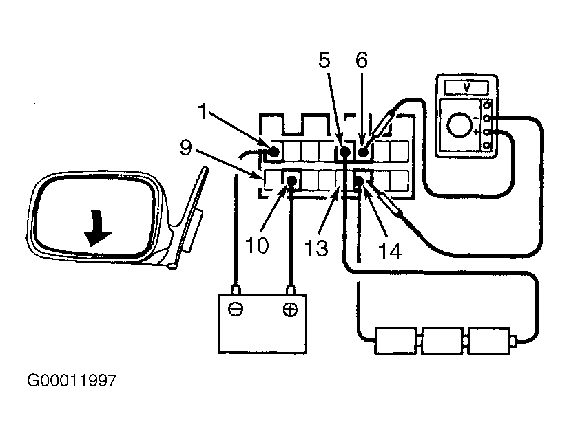
Power Mirror Position Sensor

  1. Disconnect power mirror motor harness connector. Connect three 1.5-volt dry cell batteries together in series. See Fig 1. Connect dry cell battery positive lead to terminal No. 5 and negative lead to terminal No. 14. Connect positive lead of voltmeter to terminal No. 6 and negative lead to terminal No. 14.
  2. While watching voltmeter, apply battery voltage and ground to terminals No. 1 and 10, reversing polarity as necessary to move mirror in both directions. As mirror moves, voltage should gradually and smoothly change from 0-1.0 volt to 2.8-5.0 volts. If voltage is not as specified, replace power mirror motor assembly. If voltage is as specified, go to next step.
  3. Disconnect 4 leads of voltmeter and battery voltage from power mirror motor connector terminals (leave dry cell assembly connected). Connect positive lead of voltmeter to terminal No. 13 and negative lead to terminal No. 14.
  4. Apply battery voltage and ground between terminals No. 9 and 10, reversing polarity as necessary to move mirror in both directions. As mirror moves, voltage should gradually and smoothly change from 0-1.0 volt to 2.8-5.0 volts. If voltage is not as specified, replace power mirror motor assembly.
Fig 1: Testing Power Mirror Position Sensor
G00011997Courtesy of © TOYOTA, LICENSE AGREEMENT TMS1002