LEMON Manuals: Even more car manuals for everyone: 1960-2025
Home >> Lexus >> 2001 >> LS 430 >> Repair and Diagnosis >> External Pages >> Different car >> Section 192 (Combination Meter) >> Combination Meter >> Inspection
April 5, 2026: LEMON Manuals is launched! Read the announcement.

Combination Meter: Inspection

WARNING: This page is about a different car, the 2002 Lexus LS 430. However, it is still accessible from the selected car via links, so may be relevant.
  1. Connector disconnected: INSPECT COMBINATION METER CIRCUIT 

    Disconnect connector from the combination meter and inspect the connectors on the wire harness side as follows.

    Fig 1: Inspecting Combination Meter Circuit (Connector Disconnected )
    G01145449Courtesy of © TOYOTA, LICENSE AGREEMENT TMS1002
    Fig 2: Tester Connection And Specified Condition Table
    G01145450Courtesy of © TOYOTA, LICENSE AGREEMENT TMS1002
  2. INSPECT SPEEDOMETER/ON-VEHICLE 

    Using a speedometer tester, inspect the speedometer for allowable indication error and check the operation of the odometer.

    HINT:

    Tire wear and tire over or under inflation will increase the indication error.

    Fig 3: Standard Indication And Allowable Range Table
    G01145451Courtesy of © TOYOTA, LICENSE AGREEMENT TMS1002
  3. INSPECT SPEEDOMETER RESISTANCE 

    Measure the resistance between terminals with fixing pointer to the stopper.

    Fig 4: Tester Connection And Resistance Table
    G01145452Courtesy of © TOYOTA, LICENSE AGREEMENT TMS1002

    If resistance value is not as the specified, replace the meter.

    Fig 5: Identifying Speedometer Terminals
    G01145453Courtesy of © TOYOTA, LICENSE AGREEMENT TMS1002
  4. INSPECT TACHOMETER ON-VEHICLE 
    1. Connect a tune-up test tachometer, and start the engine.
      NOTE: Reversing the connection of the tachometer will damage the transistors and diodes inside.
    2. Compare the tester and tachometer indications.

      If error is excessive, replace the tachometer.

      RPM (DC 13.5 V, 25°C (77°F)) 

      Fig 6: Standard Indication And Allowable Range Table
      G01145454Courtesy of © TOYOTA, LICENSE AGREEMENT TMS1002
  5. INSPECT TACHOMETER RESISTANCE 

    Measure the resistance between terminals with fixing pointer to the stopper.

    Fig 7: Tester Connection And Resistance Table
    G01145455Courtesy of © TOYOTA, LICENSE AGREEMENT TMS1002

    If resistance value is not as the specified, replace the meter.

    Fig 8: Identifying Tachometer Terminals
    G01145456Courtesy of © TOYOTA, LICENSE AGREEMENT TMS1002
  6. INSPECT FUEL RECEIVER GAUGE OPERATION 
    1. Disconnect the connector from the main sender gauge.
    2. Disconnect the battery terminal once then after 30 seconds, reconnect the terminal.
    3. Turn the ignition switch ON, check that the receiver gauge needle indicates EMPTY.
      Fig 9: Inspecting Fuel Receiver Gauge Operation
      G01145457Courtesy of © TOYOTA, LICENSE AGREEMENT TMS1002
    4. Connect the main sender gauge.
    5. Disconnect the connector from the sub sender gauge.
    6. Disconnect the battery terminal once then after 30 seconds, reconnect the terminal.
    7. Turn the ignition switch ON, check that the receiver gauge needle indicates EMPTY.

      HINT:

      Because of the silicon oil in the gauge, it will take a short time for needle to stabilize.

      If operation is not as specified, inspect the receiver gauge resistance.

      Fig 10: Inspecting Receiver Gauge Resistance
      G01145458Courtesy of © TOYOTA, LICENSE AGREEMENT TMS1002
  7. INSPECT FUEL RECEIVER GAUGE RESISTANCE 

    Measure the resistance between terminals with fixing pointer to the stopper.

    Fig 11: Tester Connection And Resistance Table
    G01145459Courtesy of © TOYOTA, LICENSE AGREEMENT TMS1002

    If resistance value is not as specified, replace the receiver gauge.

    Fig 12: Identifying Receiver Gauge Terminals
    G01145460Courtesy of © TOYOTA, LICENSE AGREEMENT TMS1002
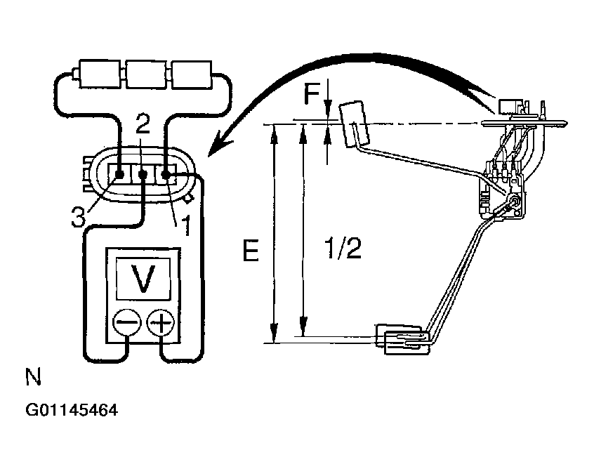
  8. INSPECT FUEL MAIN SENDER GAUGE VOLTAGE 
    1. Apply voltage between terminals 2 and 3.
    2. Measure the voltage between terminals 1 and 3 for each float position.
      Fig 13: Float Position Voltage Table
      G01145461Courtesy of © TOYOTA, LICENSE AGREEMENT TMS1002

      If resistance value is not as specified, replace the main sender gauge.

      Fig 14: Inspecting Fuel Main Sender Gauge Voltage
      G01145462Courtesy of © TOYOTA, LICENSE AGREEMENT TMS1002
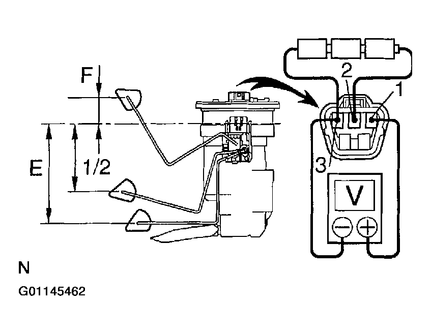
  9. INSPECT FUEL SUB SENDER GAUGE VOLTAGE 
    1. Apply voltage between terminals 1 and 3.
    2. Measure the voltage between terminals 1 and 2 for each float position.
      Fig 15: Float Position Voltage Table
      G01145463Courtesy of © TOYOTA, LICENSE AGREEMENT TMS1002

      If resistance value is not as specified, replace the sub sender gauge.

      Fig 16: Inspecting Fuel Sub Sender Gauge Voltage
      G01145464Courtesy of © TOYOTA, LICENSE AGREEMENT TMS1002
  10. INSPECT WATER TEMPERATURE RECEIVER GAUGE RESISTANCE 

    Measure the resistance between terminals.

    HINT:

    Connect the test leads so the current from the ohmmeter can flow according to the chart order.

    Fig 17: Terminals Resistance Table
    G01145465Courtesy of © TOYOTA, LICENSE AGREEMENT TMS1002

    If resistance value is not as specified, replace the water temperature receiver gauge.

    Fig 18: Identifying Water Temperature Receiver Gauge Terminals
    G01145466Courtesy of © TOYOTA, LICENSE AGREEMENT TMS1002
  11. INSPECT BRAKE WARNING LIGHT 
    1. Disconnect the connector from the brake fluid warning switch.
    2. Release the parking brake pedal.
    3. Connect terminals on the wire harness side of the level warning switch connector.
    4. Start the engine and check that the warning light lights up.

      If the warning light does not light up, test the LED.

      Fig 19: Inspecting Brake Warning Light
      G01145467Courtesy of © TOYOTA, LICENSE AGREEMENT TMS1002
  12. INSPECT BRAKE FLUID LEVEL WARNING SWITCH 
    1. Disconnect the connector.
    2. Check that no continuity exists between terminals with the switch OFF (float up).
    3. Use siphon, etc. to take fluid out of the reservoir tank.
    4. Check that continuity exists between terminals with the switch ON (float down).
    5. Pour the fluid back in reservoir tank.

      If operation is not as specified, replace the reservoir tank.

      Fig 20: Inspecting Brake Fluid Level Warning Switch
      G01145468Courtesy of © TOYOTA, LICENSE AGREEMENT TMS1002
  13. INSPECT PARKING BRAKE SWITCH CONTINUITY 
    1. Check that continuity exists between the terminal and switch body with the switch ON (switch pin released).
    2. Check that no continuity exists between the terminal and switch body with the switch OFF (switch pin pushed in).
      Fig 21: Inspecting Parking Brake Switch Continuity
      G01145469Courtesy of © TOYOTA, LICENSE AGREEMENT TMS1002
  14. INSPECT OPEN DOOR WARNING LIGHT 

    Disconnect the connector from the door courtesy switch and ground terminal 1 on the wire harness side, and check that the warning light lights up.

    If the warning light does not light up, inspect the LED or wire harness.

    Fig 22: Inspecting Open Door Warning Light
    G01145470Courtesy of © TOYOTA, LICENSE AGREEMENT TMS1002
  15. INSPECT SEAT BELT WARNING LIGHT 
    1. Disconnect the connector from the buckle switch terminal 1 and 2 on the wire harness side connector.
    2. Turn the ignition switch ON and check that the warning light lights up.

      If the warning light does not light up, inspect the LED or wire harness.

      Fig 23: Inspecting Seat Belt Warning Light
      G01145471Courtesy of © TOYOTA, LICENSE AGREEMENT TMS1002
  16. INSPECT BUCKLE SWITCH CONTINUITY 
    1. Check that continuity exists between terminal 2 and 4 on the switch side connector with the switch ON (belt fastened).
    2. Check that no continuity exists between terminal 2 and 4 on the switch side connector with the switch OFF (belt unfastened).

      If operation is not as specified, replace the seat belt inner.

      Fig 24: Inspecting Buckle Switch Continuity
      G01145472Courtesy of © TOYOTA, LICENSE AGREEMENT TMS1002
  17. INSPECT SEAT BELT BUCKLE SWITCH CIRCUIT 

    Disconnect the switch connector and inspect the connector on wire harness side, as shown.

    Fig 25: Identifying Connector Terminals On Wire Harness Side
    G01145473Courtesy of © TOYOTA, LICENSE AGREEMENT TMS1002
  18. INSPECT TWIN TRIP AND ODO SWITCH CONTINUITY 
    Fig 26: Seat Belt Switch Continuity Table
    G01145474Courtesy of © TOYOTA, LICENSE AGREEMENT TMS1002

    If continuity is not as specified, replace the twin trip and odo switch.

    Fig 27: Inspecting Twin Trip And ODO Switch Continuity
    G01145475Courtesy of © TOYOTA, LICENSE AGREEMENT TMS1002
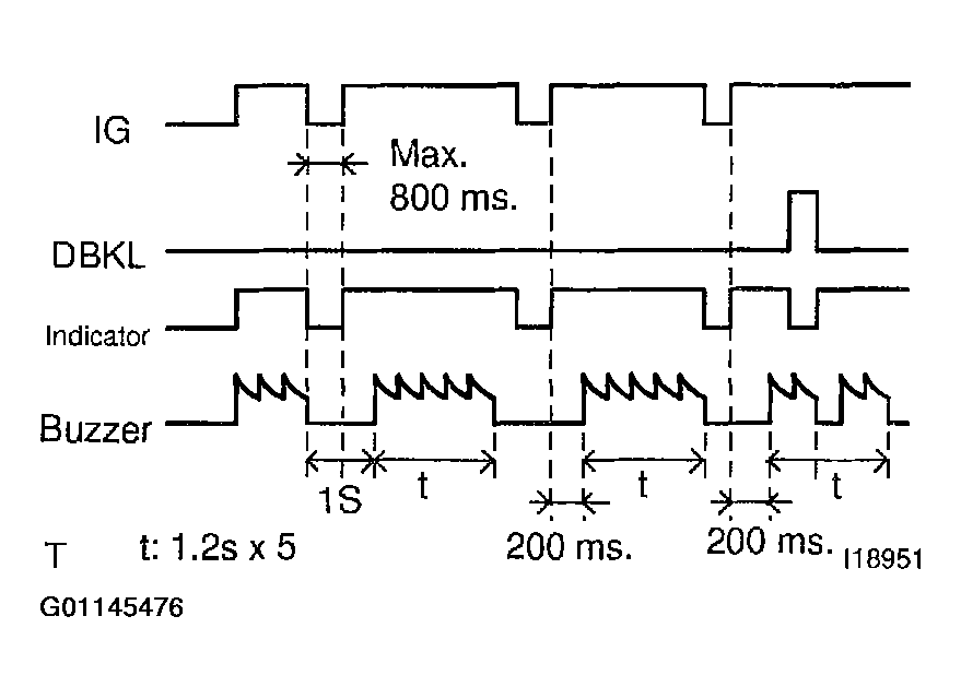
  19. INSPECT SEAT BELT WARNING BUZZER 

    Check that the buzzer sound when turning the ignition switch ON with the seat belt unfastened.

    Fig 28: Inspecting Seat Belt Warning Buzzer
    G01145476Courtesy of © TOYOTA, LICENSE AGREEMENT TMS1002
  20. Passenger seat only: INSPECT SEAT BELT WARNING OCCUPANT DETECTION SENSOR CONTINUITY 

    Check that continuity exists between the terminals 1 and 2 when pressing the sensing part.

    If operation is not as specified, replace the sensor.

    Fig 29: Checking That Continuity Exists Between Terminals 1 And 2 When Pressing Sensing Part
    G01145477Courtesy of © TOYOTA, LICENSE AGREEMENT TMS1002
  21. INSPECT RHEOSTAT LIGHT CONTROL VOLUME RESISTANCE
    Fig 30: Tester Connection And Specified Condition Table
    G01145478Courtesy of © TOYOTA, LICENSE AGREEMENT TMS1002

    If resistance is not as specified, replace switch.

    Fig 31: Inspecting Rheostat Resistance
    G01145479Courtesy of © TOYOTA, LICENSE AGREEMENT TMS1002
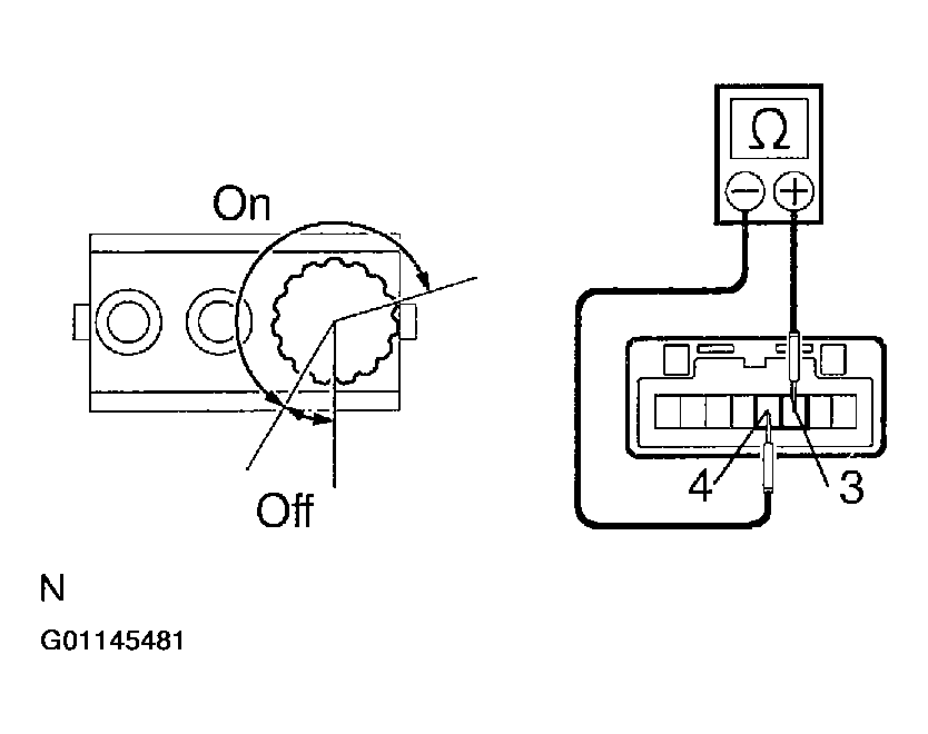
  22. INSPECT TAIL CANCEL SWITCH CONTINUITY 

    Inspect continuity between terminal 3 and 4.

    Fig 32: Switch Position And Specified Condition Table
    G01145480Courtesy of © TOYOTA, LICENSE AGREEMENT TMS1002

    If resistance is not as specified, replace the switch.

    Fig 33: Inspecting Tail Cancel Switch Continuity
    G01145481Courtesy of © TOYOTA, LICENSE AGREEMENT TMS1002