LEMON Manuals: Even more car manuals for everyone: 1960-2025
Home >> Lexus >> 2001 >> LS 430 >> Repair and Diagnosis >> External Pages >> Different car >> Section 196 (Power Door Lock Control System) >> Power Door Lock Control System >> Inspection
April 5, 2026: LEMON Manuals is launched! Read the announcement.

Power Door Lock Control System: Inspection

WARNING: This page is about a different car, the 2002 Lexus LS 430. However, it is still accessible from the selected car via links, so may be relevant.
  1. INSPECT PASSENGER'S DOOR LOCK CONTROL SWITCH CONTINUITY 
    Fig 1: Passenger's Door Lock Control Switch Continuity Table
    G01145538Courtesy of © TOYOTA, LICENSE AGREEMENT TMS1002

    If continuity is not as specified, replace the switch.

    Fig 2: Identifying Passengers Door Lock Switch & Connector Terminals
    G01145539Courtesy of © TOYOTA, LICENSE AGREEMENT TMS1002
  2. INSPECT PASSENGER'S DOOR LOCK CONTROL INDICATOR LIGHT OPERATION 

    Connect the positive (+) lead from the battery to terminal 4 and the negative (-) lead to terminal 2, and check that the indicator light does not light up, replace the switch.

    Fig 3: Inspecting Passengers Door Lock Control Indicator Light Operation
    G01145540Courtesy of © TOYOTA, LICENSE AGREEMENT TMS1002
  3. Driver's Door (w/o door closer): INSPECT DOOR KEY LOCK AND UNLOCK SWITCH CONTINUITY 
    Fig 4: Drivers Door Key Lock And Unlock Switch Continuity Table
    G01145541Courtesy of © TOYOTA, LICENSE AGREEMENT TMS1002

    If continuity is not as specified, replace the switch.

    Fig 5: Identifying Drivers Door Lock Actuator & Connector Terminals
    G01145542Courtesy of © TOYOTA, LICENSE AGREEMENT TMS1002
  4. Driver's Door (w/o door closer): INSPECT DOOR UNLOCK DETECTION SWITCH CONTINUITY 
    Fig 6: Drivers Door Unlock Detection Switch Continuity Table
    G01145543Courtesy of © TOYOTA, LICENSE AGREEMENT TMS1002

    If continuity is not as specified, replace the switch.

    Fig 7: Identifying Drivers Door Lock Actuator & Connector Terminals
    G01145544Courtesy of © TOYOTA, LICENSE AGREEMENT TMS1002
  5. Passenger's Door (w/o door closer) : INSPECT DOOR UNLOCK DETECTION SWITCH CONTINUITY 
    Fig 8: Passengers Door Unlock Detection Switch Continuity Table
    G01145545Courtesy of © TOYOTA, LICENSE AGREEMENT TMS1002

    If continuity is not as specified, replace the switch.

    Fig 9: Identifying Passengers Door Lock Actuator & Connector Terminals
    G01145546Courtesy of © TOYOTA, LICENSE AGREEMENT TMS1002
  6. Rear LH Door (w/o door closer) : INSPECT DOOR UNLOCK DETECTION SWITCH CONTINUITY 
    Fig 10: Left Rear Door Unlock Detection Switch Continuity Table
    G01145547Courtesy of © TOYOTA, LICENSE AGREEMENT TMS1002

    If continuity is not as specified, replace the switch.

    Fig 11: Identifying Left Rear Door Lock Actuator & Connector Terminals
    G01145548Courtesy of © TOYOTA, LICENSE AGREEMENT TMS1002
  7. Rear RH Door (w/o door closer) : INSPECT DOOR UNLOCK DETECTION SWITCH CONTINUITY 
    Fig 12: Right Rear Door Unlock Detection Switch Continuity Table
    G01145549Courtesy of © TOYOTA, LICENSE AGREEMENT TMS1002

    If continuity is not as specified, replace the switch.

    Fig 13: Identifying Right Rear Door Lock Actuator & Connector Terminals
    G01145550Courtesy of © TOYOTA, LICENSE AGREEMENT TMS1002
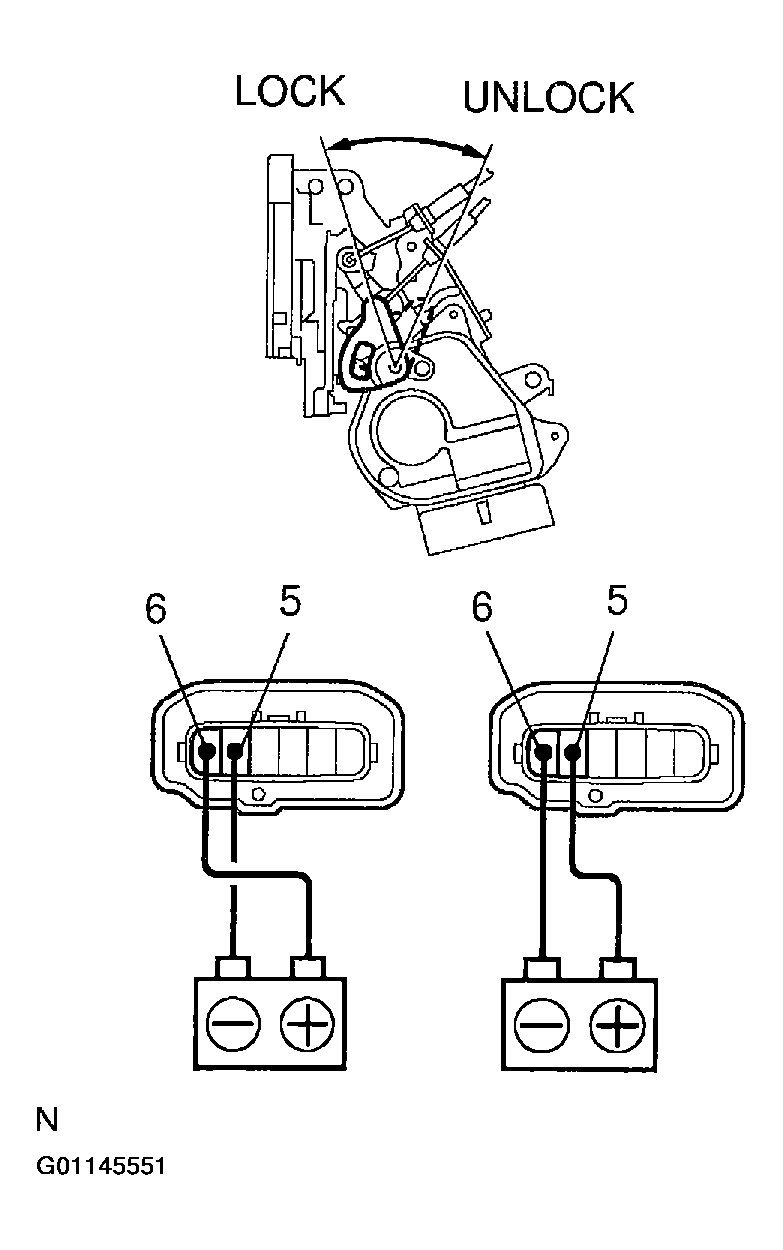
  8. Driver's door (w/o door closer) : INSPECT DOOR LOCK MOTOR OPERATION 
    1. connect the positive (+) lead from the battery to terminal 6 and the negative (-) lead to terminal 5, and check that the door lock link moves to UNLOCK position.
    2. Reverse the polarity and check that the door lock link moves to LOCK position.

      If operation is not as specified, replace the door lock assembly.

      Fig 14: Inspecting Door Lock Motor Operation (Driver Door)
      G01145551Courtesy of © TOYOTA, LICENSE AGREEMENT TMS1002
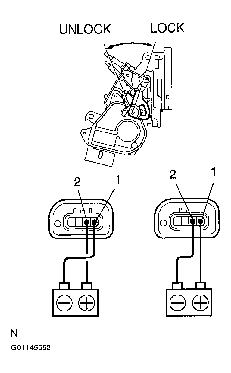
  9. Passenger's Door (w/o door closer) : INSPECT DOOR LOCK MOTOR OPERATION 
    1. Connect the positive (+) lead from the battery to terminal 2 and the negative (-) lead to terminal 1, and check that the door lock link moves to UNLOCK position.
    2. Reverse the polarity and check that the door lock link moves to LOCK position.

      If operation is not as specified, replace the door lock assembly.

      Fig 15: Inspecting Door Lock Motor Operation (Passenger Door)
      G01145552Courtesy of © TOYOTA, LICENSE AGREEMENT TMS1002
  10. Rear LH Door (w/o door closer) : INSPECT DOOR LOCK MOTOR OPERATION 
    1. Connect the positive (+) lead from the battery to terminal 4 and the negative (-) lead to terminal 3, and check that the door lock link moves to UNLOCK position.
    2. Reverse the polarity and check that the door lock link moves to LOCK position.

      If operation is not as specified, replace the door lock assembly.

      Fig 16: Inspecting Door Lock Motor Operation (Rear LH Door)
      G01145553Courtesy of © TOYOTA, LICENSE AGREEMENT TMS1002
  11. Driver's Door (w/ door closer) : INSPECT DOOR KEY LOCK AND UNLOCK SWITCH CONTINUITY 
    Fig 17: Door Key Lock And Unlock Switch Continuity Table
    G01145554Courtesy of © TOYOTA, LICENSE AGREEMENT TMS1002

    If continuity is not as specified, replace the switch.

    Fig 18: Inspecting Door Key Lock And Unlock Switch Continuity (Driver Door)
    G01145555Courtesy of © TOYOTA, LICENSE AGREEMENT TMS1002
  12. Driver's Door (w/ door closer) : INSPECT DOOR UNLOCK DETECTION SWITCH CONTINUITY 
    Fig 19: Drivers Door Unlock Detection Switch Continuity Table
    G01145556Courtesy of © TOYOTA, LICENSE AGREEMENT TMS1002

    If continuity is not as specified, replace the switch.

    Fig 20: Identifying Drivers Door Lock Actuator & Connector Terminals
    G01145557Courtesy of © TOYOTA, LICENSE AGREEMENT TMS1002
  13. Passenger's Door (w/ door closer) : INSPECT DOOR UNLOCK DETECTION SWITCH CONTINUITY 
    Fig 21: Passengers Door Unlock Detection Switch Continuity Table
    G01145558Courtesy of © TOYOTA, LICENSE AGREEMENT TMS1002

    If continuity is not as specified, replace the switch.

    Fig 22: Identifying Passengers Door Lock Actuator & Connector Terminals
    G01145559Courtesy of © TOYOTA, LICENSE AGREEMENT TMS1002
  14. Rear LH Door (w/ door closer): INSPECT DOOR UNLOCK DETECTION SWITCH CONTINUITY 
    Fig 23: Left Rear Door Unlock Detection Switch Continuity Table
    G01145560Courtesy of © TOYOTA, LICENSE AGREEMENT TMS1002

    If continuity is not as specified, replace the switch.

    Fig 24: Identifying Left Rear Door Lock Actuator & Connector Terminals
    G01145561Courtesy of © TOYOTA, LICENSE AGREEMENT TMS1002
  15. Rear RH Door (w/ door closer) : INSPECT DOOR UNLOCK DETECTION SWITCH CONTINUITY 
    Fig 25: Right Rear Door Unlock Detection Switch Continuity Table
    G01145562Courtesy of © TOYOTA, LICENSE AGREEMENT TMS1002

    If continuity is not as specified, replace the switch.

    Fig 26: Identifying Right Rear Door Lock Actuator & Connector Terminals
    G01145563Courtesy of © TOYOTA, LICENSE AGREEMENT TMS1002
  16. Front Door (w/ door closer) : INSPECT DOOR LOCK MOTOR OPERATION 
    1. Connect the positive (+) lead from the battery to terminal 2 and the negative (-) lead to terminal 1, and check that the door lock link moves to UNLOCK position.
    2. Reverse the polarity and check that the door lock link moves to LOCK position.

      If operation is not as specified, replace the door lock assembly.

      Fig 27: Inspecting Door Lock Motor Operation (Front Door)
      G01145564Courtesy of © TOYOTA, LICENSE AGREEMENT TMS1002
  17. Rear Door (w/ door closer) : INSPECT DOOR LOCK MOTOR OPERATION 
    1. Connect the positive (+) lead from the battery to terminal 2 and the negative (-) lead to terminal 1, and check that the door lock link moves to UNLOCK position.
    2. Reverse the polarity and check that the door lock link moves to LOCK position.

      If operation is not as specified, replace the door lock assembly.

      Fig 28: Inspecting Door Lock Motor Operation (Rear Door)
      G01145565Courtesy of © TOYOTA, LICENSE AGREEMENT TMS1002
  18. INSPECT LUGGAGE COMPARTMENT DOOR OPENER MAIN SWITCH CONTINUITY 
    Fig 29: Luggage Compartment Door Opener Main Switch Continuity Table
    G01145566Courtesy of © TOYOTA, LICENSE AGREEMENT TMS1002

    If continuity is not as specified, replace the switch.

  19. INSPECT LUGGAGE COMPARTMENT DOOR OPENER MAIN SWITCH CONTINUITY 
    Fig 30: Luggage Compartment Door Opener Main Switch Continuity Table
    G01145567Courtesy of © TOYOTA, LICENSE AGREEMENT TMS1002

    If continuity is not as specified, replace the switch.

  20. INSPECT LUGGAGE COMPARTMENT DOOR OPENER SWITCH AND MAIN SWITCH CIRCUIT 
    Fig 31: Identifying Luggage Compartment Door Opener Switch And Main Switch Circuit
    G01145568Courtesy of © TOYOTA, LICENSE AGREEMENT TMS1002