LEMON Manuals: Even more car manuals for everyone: 1960-2025
Home >> Lexus >> 2001 >> LS 430 >> Repair and Diagnosis >> External Pages >> Different car >> Section 198 (Power Seat Control System) >> Power Seat Control System >> Inspection
April 5, 2026: LEMON Manuals is launched! Read the announcement.

Power Seat Control System: Inspection

WARNING: This page is about a different car, the 2002 Lexus LS 430. However, it is still accessible from the selected car via links, so may be relevant.
  1. INSPECT FRONT PASSENGER'S POWER SEAT SWITCH CONTINUITY 
    Fig 1: Identifying Power Seat Switch & Connector Terminals
    G01145597Courtesy of © TOYOTA, LICENSE AGREEMENT TMS1002

    Slide switch: 

    Fig 2: Slide Switch Continuity Chart
    G01145593Courtesy of © TOYOTA, LICENSE AGREEMENT TMS1002

    Reclining switch: 

    Fig 3: Reclining Switch Continuity Chart
    G01145594Courtesy of © TOYOTA, LICENSE AGREEMENT TMS1002

    Front vertical switch: 

    Fig 4: Front Vertical Switch Continuity Chart
    G01145595Courtesy of © TOYOTA, LICENSE AGREEMENT TMS1002

    Lifter switch: 

    Fig 5: Lifter Switch Continuity Chart
    G01145596Courtesy of © TOYOTA, LICENSE AGREEMENT TMS1002

    If continuity is not as specified, replace the switch.

  2. INSPECT FRONT PASSENGER'S POWER SEAT SWITCH CIRCUIT 
    1. Disconnect the switch connector and connect the seat wire harness to the floor wire harness.
    2. Inspect the connector on the wire harness side.
      Fig 6: Identifying Front Passengers Power Seat Switch Connector & Terminals
      G01145598Courtesy of © TOYOTA, LICENSE AGREEMENT TMS1002
    Fig 7: Front Passengers Power Seat Switch Circuit Specification Chart
    G01145599Courtesy of © TOYOTA, LICENSE AGREEMENT TMS1002

    If circuit is not as specified, inspect the circuits connected to other parts.

  3. INSPECT DRIVER'S LUMBAR SUPPORT SWITCH CONTINUITY 
    Fig 8: Identifying Lumbar Switch Connector & Terminals
    G01145602Courtesy of © TOYOTA, LICENSE AGREEMENT TMS1002

    Upper side control: 

    Fig 9: Upper Side Continuity Chart
    G01145600Courtesy of © TOYOTA, LICENSE AGREEMENT TMS1002

    Lower side control: 

    Fig 10: Lower Side Continuity Chart
    G01145601Courtesy of © TOYOTA, LICENSE AGREEMENT TMS1002

    If continuity is not as specified, replace the switch.

  4. INSPECT DRIVER'S LUMBAR SUPPORT SWITCH CIRCUIT 
    1. Disconnect the switch connector and connect the seat wire harness to the floor wire harness.
    2. Inspect the connector on the wire harness side.
      Fig 11: Identifying Drivers Lumbar Support Switch Connector
      G01145603Courtesy of © TOYOTA, LICENSE AGREEMENT TMS1002
    Fig 12: Drivers Lumbar Support Switch Circuit Specification Chart
    G01145604Courtesy of © TOYOTA, LICENSE AGREEMENT TMS1002

    If circuit is not as specified, inspect the circuits connected to other parts.

  5. INSPECT DRIVER'S SEAT CUSHION SWITCH CIRCUIT 
    Fig 13: Identifying Drivers Seat Cushion Switch Connector & Terminals
    G01145606Courtesy of © TOYOTA, LICENSE AGREEMENT TMS1002
    Fig 14: Drivers Seat Cushion Switch Continuity Chart
    G01145605Courtesy of © TOYOTA, LICENSE AGREEMENT TMS1002

    If continuity is not as specified, replace the switch.

  6. INSPECT PASSENGER'S LUMBAR SUPPORT SWITCH CIRCUIT 
    Fig 15: Identifying Passengers Lumbar Support Switch Connector & Terminals
    G01145608Courtesy of © TOYOTA, LICENSE AGREEMENT TMS1002
    Fig 16: Passengers Lumbar Support Switch Continuity Chart
    G01145607Courtesy of © TOYOTA, LICENSE AGREEMENT TMS1002

    If continuity is not as specified, replace the switch.

  7. INSPECT PASSENGER'S LUMBAR SUPPORT SWITCH CIRCUIT 
    1. Disconnect the switch connector and connect the seat wire harness to the floor wire harness.
    2. Inspect the connector on the wire harness side.
      Fig 17: Inspecting Connector On Wire Harness Side
      G01145609Courtesy of © TOYOTA, LICENSE AGREEMENT TMS1002
    Fig 18: Passengers Lumbar Support Switch Circuit Chart
    G01145610Courtesy of © TOYOTA, LICENSE AGREEMENT TMS1002

    If circuit is not as specified, inspect the circuits connected to other parts.

  8. INSPECT PASSENGER POWER SEAT SUB SWITCH CONTINUITY 
    Fig 19: Identifying Passenger Power Seat Sub Switch Connector & Terminals
    G01145613Courtesy of © TOYOTA, LICENSE AGREEMENT TMS1002

    Slide switch: 

    Fig 20: Slide Switch Continuity Chart
    G01145611Courtesy of © TOYOTA, LICENSE AGREEMENT TMS1002

    Reclining switch: 

    Fig 21: Reclining Switch Continuity Chart
    G01145612Courtesy of © TOYOTA, LICENSE AGREEMENT TMS1002

    If continuity is not as specified, replace the switch.

  9. INSPECT REAR SEAT RETURN SWITCH CONTINUITY 
    Fig 22: Identifying Rear Seat Return Switch Connector
    G01145615Courtesy of © TOYOTA, LICENSE AGREEMENT TMS1002
    Fig 23: Rear Seat Return Switch Continuity Chart
    G01145614Courtesy of © TOYOTA, LICENSE AGREEMENT TMS1002

    If continuity is not as specified, replace the switch.

  10. Front seat: INSPECT SLIDE MOTOR OPERATION 
    1. Connect the positive (+) lead from the battery to terminal 2 and the negative (-) lead to terminal 1 and check that the motor turns counterclockwise.
    2. Reverse the polarity and check that the motor turns clockwise.

    If operation is not as specified, replace the motor.

    Fig 24: Inspecting Slide Motor Operation
    G01145616Courtesy of © TOYOTA, LICENSE AGREEMENT TMS1002
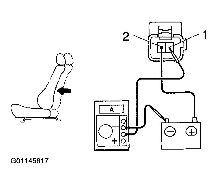
  11. Front seat: INSPECT SLIDE MOTOR PTC THERMISTOR OPERATION ( ): Passenger's seat 
    1. Connect the positive (+) lead from the battery to terminal 2(1), the positive (+) lead from the ammeter to terminal 1(2), and the negative (-) lead to battery negative (-) terminal, then move the seat to front position.
    2. Continue to apply voltage and check that the current changes to less than 1 ampere with 4 to 90 seconds.
      Fig 25: Inspecting Slide Motor PTC Thermistor Operation
      G01145617Courtesy of © TOYOTA, LICENSE AGREEMENT TMS1002
    3. Disconnect the lead from terminals.
    4. Approximately 60 seconds later, connect the positive (+) lead from battery to terminal 1(2) and the negative (-) lead to terminal 2(1) and check that the seat begins to move backwards.

    If operation is not as specified, replace the motor.

    Fig 26: Checking Seat Operation
    G01145618Courtesy of © TOYOTA, LICENSE AGREEMENT TMS1002
  12. Front seat: INSPECT FRONT VERTICAL MOTOR OPERATION ( ) : Passenger's seat 
    1. Connect the positive (+) lead from the battery to terminal 2 and the negative (-) lead to terminal 1 and check that the motor turns clockwise.
    2. Reverse the polarity and check that the motor turns counterclockwise.

    If operation is not as specified, replace the motor.

    Fig 27: Inspecting Front Vertical Motor Operation
    G01145619Courtesy of © TOYOTA, LICENSE AGREEMENT TMS1002
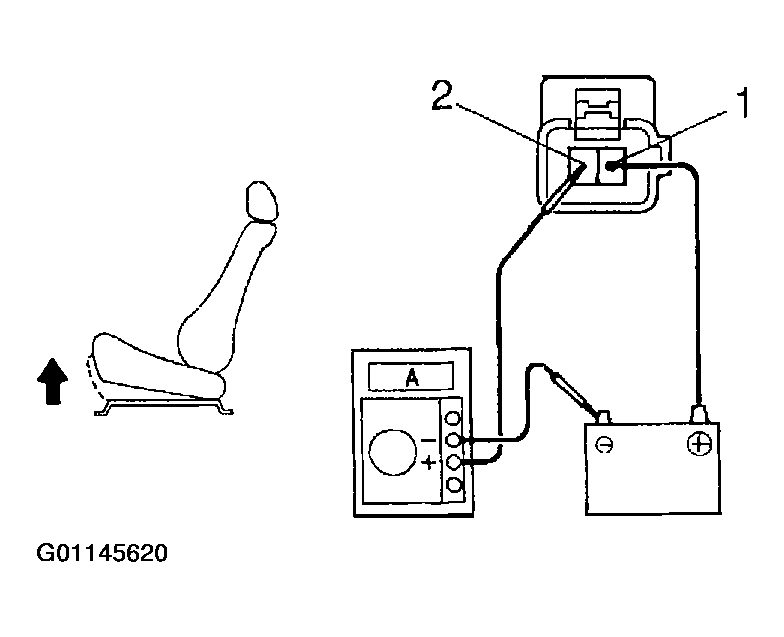
  13. Front seat: INSPECT FRONT VERTICAL MOTOR PTC THERMISTOR OPERATION 

    ( ): Passenger's seat 

    1. Connect the positive (+) lead from the battery to terminal 1(2), the positive (+) lead from the ammeter to terminal 2(1) and the negative (-) lead to battery negative (-) terminal, then move the front edge of seat cushion to the highest position.
      Fig 28: Inspecting Front Vertical Motor PTC Thermistor Operation
      G01145620Courtesy of © TOYOTA, LICENSE AGREEMENT TMS1002
    2. Continue to apply voltage, and check the current changes to less than 1 ampere with 4 to 90 seconds.
    3. Disconnect the leads from terminals.
    4. Approximately 60 seconds later, connect the positive (+) lead from battery to terminal 2(1) and the negative (-) lead to terminal 1(2), and check that the seat cushion begins to descend.

    If operation is not as specified, replace the motor.

    Fig 29: Checking Seat Cushion Begins To Descend
    G01145621Courtesy of © TOYOTA, LICENSE AGREEMENT TMS1002
  14. Front seat: INSPECT LIFTER MOTOR OPERATION 
    1. Connect the positive (+) lead from the battery to terminal 2 and the negative (-) lead to terminal 1, and check that the motor turns clockwise.
    2. Reverse the polarity, and check that the motor turns counterclockwise.

    If operation is not as specified, replace the motor.

    Fig 30: Inspecting Lifter Motor Operation
    G01145622Courtesy of © TOYOTA, LICENSE AGREEMENT TMS1002
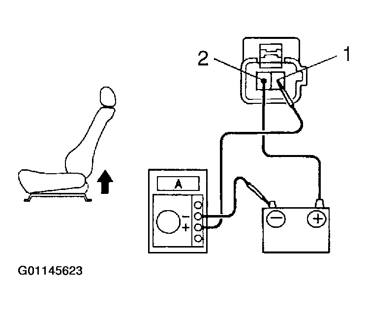
  15. Front seat: INSPECT LIFTER MOTOR PTC THERMISTOR OPERATION ( ) : Passenger's seat 
    1. Connect the positive (+) lead from the battery to terminal 2(1), the positive (+) lead from the ammeter to terminal 1(2) and the negative (-) lead to battery negative (-) terminal, then move the rear edge of seat cushion to the highest position.
    2. Continue to apply voltage, and check that the current changes to less than 1 ampere with 4 to 90 seconds.
      Fig 31: Inspecting Lifter Motor PTC Thermistor Operation
      G01145623Courtesy of © TOYOTA, LICENSE AGREEMENT TMS1002
    3. Disconnect the leads from terminals.
    4. Approximately 60 seconds later, connect the positive (+) lead from battery to terminal 1(2) and the negative (-) lead to terminal 2(1), and check that the seat cushion begins to descend.

    If operation is not as specified, replace the motor.

    Fig 32: Checking Seat Cushion Begins To Descend
    G01145624Courtesy of © TOYOTA, LICENSE AGREEMENT TMS1002
  16. Front seat: INSPECT RECLINING MOTOR OPERATION 
    1. Connect the positive (+) lead from the battery to terminal 2 and the negative (-) lead to terminal 1, and check that the motor turns counterclockwise.
    2. Reverse the polarity, and check that the motor turns clockwise.

    If operation is not as specified, replace the motor.

    Fig 33: Inspecting Reclining Motor Operation
    G01145625Courtesy of © TOYOTA, LICENSE AGREEMENT TMS1002
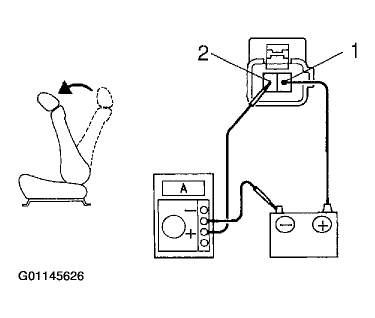
  17. Front seat: INSPECT RECLINING MOTOR PTC THERMISTOR OPERATION 
    1. Connect the positive (+) lead from the battery to terminal 1, the positive (+) lead from the ammeter to terminal 2 and the negative (-) lead to battery negative (-) terminal, then recline the seat back to the most forward position.
    2. Continue to apply voltage, and check that the current change to less than 1 ampere with 4 to 90 seconds.
      Fig 34: Inspecting Reclining Motor PTC Thermistor Operation
      G01145626Courtesy of © TOYOTA, LICENSE AGREEMENT TMS1002
    3. Disconnect the lead from terminals.
    4. Approximately 60 seconds later, connect the positive (+) lead from battery to terminal 2 and the negative (-) lead to terminal 1, check that the seat back starts to fall backwards.

    If operation is not as specified, replace the motor.

    Fig 35: Check Seat Back Starts To Fall Backwards
    G01145627Courtesy of © TOYOTA, LICENSE AGREEMENT TMS1002
  18. Front seat: INSPECT LUMBAR SUPPORT MOTOR OPERATION ( ) : Driver's Upper Side Control 
    1. Connect the positive (+) lead from the battery to terminal 1(2) and the negative (-) lead to terminal 2(1), and check that the lumbar support moves release side.
      Fig 36: Inspecting Lumbar Support Motor Operation
      G01145628Courtesy of © TOYOTA, LICENSE AGREEMENT TMS1002
    2. Reverse the polarity, and check that the lumbar support moves forward.

    If operation is not as specified, replace the motor.

    Fig 37: Checking That Lumbar Support Moves Forward
    G01145629Courtesy of © TOYOTA, LICENSE AGREEMENT TMS1002
  19. Front seat: INSPECT LUMBAR SUPPORT MOTOR PTC THERMISTOR OPERATION ( ): Driver's Upper Side Control 
    1. Connect the positive (+) lead from the battery to terminal 2(1), the positive (+) lead from the ammeter to terminal 1(2) and the negative (-) lead to battery negative (-) terminal, then move the front edge of seat cushion to the highest position.
    2. Continue to apply voltage, and check that the current changes to less than 1 ampere with 4 to 90 seconds.
      Fig 38: Inspecting Lumbar Support Motor PTC Thermistor Operation
      G01145630Courtesy of © TOYOTA, LICENSE AGREEMENT TMS1002
    3. Disconnect the leads from terminals.
    4. Approximately 60 seconds later, connect the positive (+) lead from battery to terminal 1(2), and the negative (-) lead to terminal 2(1), and check that the seat cushion begins to descend.

    If operation is not as specified, replace the motor.

    Fig 39: Checking That Seat Cushion Begins To Descend
    G01145631Courtesy of © TOYOTA, LICENSE AGREEMENT TMS1002
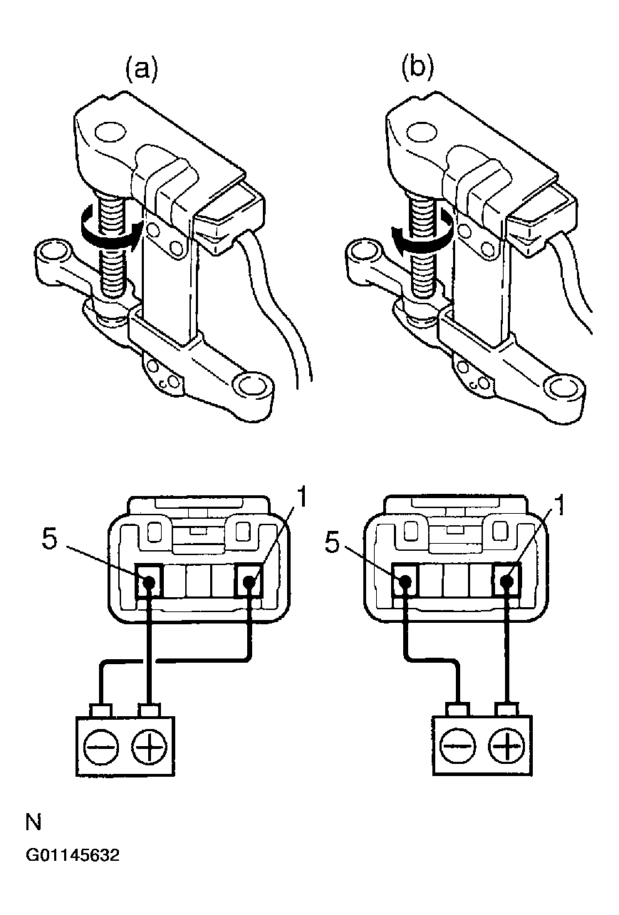
  20. Front seat: INSPECT HEADREST MOTOR OPERATION 
    1. Connect the positive (+) lead from the battery to terminal 1, and the negative (-) lead to terminal 5, and check that the motor turns counterclockwise.
    2. Reverse the polarity, and check that the motor turns clockwise.

    If operation is not as specified, replace the motor.

    Fig 40: Inspecting Headrest Motor Operation
    G01145632Courtesy of © TOYOTA, LICENSE AGREEMENT TMS1002
  21. Front seat: INSPECT HEADREST MOTOR CIRCUIT BREAKER OPERATION 
    1. Connect the positive (+) lead from the battery to terminal 1 and the negative (-) lead to terminal 5 on the motor connector and move the headrest to DOWN position.
      Fig 41: Inspecting Headrest Motor Circuit Breaker Operation
      G01145633Courtesy of © TOYOTA, LICENSE AGREEMENT TMS1002
    2. Continue to apply voltage, check that there is a circuit breaker operation noise within 4 to 60 seconds.
    3. Reverse the polarity check that the headrest begins to move UP side within approx. 60 seconds.

    If operation is not as specified, replace the motor.

    Fig 42: Checking That Headrest Begins To Move Up Side
    G01145634Courtesy of © TOYOTA, LICENSE AGREEMENT TMS1002
  22. Rear seat: INSPECT SLIDE MOTOR OPERATION 
    1. Connect the positive (+) lead from the battery to terminal 2 and the negative (-) lead to terminal 1 and check that the motor turns counterclockwise.
    2. Reverse the polarity and check that the motor turns clockwise.

    If operation is not as specified, replace the motor.

    Fig 43: Inspecting Slide Motor Operation
    G01145635Courtesy of © TOYOTA, LICENSE AGREEMENT TMS1002
  23. Rear seat: INSPECT SLIDE MOTOR PTC THERMISTOR OPERATION 

    ( ) : LH Seat Side Control 

    1. Connect the positive (+) lead from the battery to terminal 2(1), the positive (+) lead from the ammeter to terminal 1(2) and the negative (-) lead to battery negative (-) terminal, then move the seat to front position.
    2. Continue to apply voltage and check that the current changes to less than 1 ampere with 4 to 90 seconds.
      Fig 44: Inspecting Slide Motor PTC Thermistor Operation
      G01145636Courtesy of © TOYOTA, LICENSE AGREEMENT TMS1002
    3. Disconnect the leads from terminals.
    4. Approximately 60 seconds later, connect the positive (+) lead from battery to terminal 1(2), and the negative (-) lead to terminal 2(1), and check that the seat begins to move backwards.

    If operation is not as specified, replace the motor.

    Fig 45: Checking That Seat Begins To Move Backwards
    G01145637Courtesy of © TOYOTA, LICENSE AGREEMENT TMS1002
  24. Rear seat: INSPECT HEADREST MOTOR OPERATION 
    1. Connect the positive (+) lead from the battery to terminal 1, and the negative (-) lead to terminal 5, and check that the motor turns counterclockwise.
    2. Reverse the polarity, and check that the motor turns clockwise.

    If operation is not as specified, replace the motor.

    Fig 46: Inspecting Rear Seat Headrest Motor Operation
    G01145638Courtesy of © TOYOTA, LICENSE AGREEMENT TMS1002
  25. Rear seat: INSPECT HEADREST MOTOR CIRCUIT BREAKER OPERATION 
    1. Connect the positive (+) lead from the battery to terminal 1 and the negative (-) lead to terminal 5 on the motor connector and move the headrest to DOWN position.
      Fig 47: Inspecting Headrest Motor Circuit Breaker Operation
      G01145639Courtesy of © TOYOTA, LICENSE AGREEMENT TMS1002
    2. Continue to apply voltage, check that there is a circuit breaker operation noise within 4 to 60 seconds.
    3. Reverse the polarity check that the headrest begins to move UP side within approx. 60 seconds.

    If operation is not as specified, replace the motor.

    Fig 48: Checking That Headrest Begins To Move Up Side
    G01145640Courtesy of © TOYOTA, LICENSE AGREEMENT TMS1002
  26. INSPECT SEAT VIBRATOR 

    Measure the resistance between terminals.

    Fig 49: Identifying Seat Vibrator Connector
    G01145642Courtesy of © TOYOTA, LICENSE AGREEMENT TMS1002
    Fig 50: Identifying Terminals & Specifications
    G01145641Courtesy of © TOYOTA, LICENSE AGREEMENT TMS1002

    If resistance value is not as specified, replace the vibrator assembly.

  27. INSPECT VIBRATOR ECU CIRCUIT 

    Inspect the connector on the wire harness side.

    Fig 51: Identifying Vibrator ECU Connector
    G01145643Courtesy of © TOYOTA, LICENSE AGREEMENT TMS1002
    Fig 52: Vibrator ECU Circuit Specifications
    G01145644Courtesy of © TOYOTA, LICENSE AGREEMENT TMS1002

    If continuity is not as specified, replace the seat vibration ECU.

  28. INSPECT REAR SEAT MEMORY SWITCH 
    Fig 53: Identifying Rear Seat Memory Switch Connector & Terminals
    G01145646Courtesy of © TOYOTA, LICENSE AGREEMENT TMS1002
    Fig 54: Rear Seat Memory Switch Continuity Chart
    G01145645Courtesy of © TOYOTA, LICENSE AGREEMENT TMS1002
  29. INSPECT REAR SEAT HEADREST LIMIT SWITCH 
    Fig 55: Rear Seat Headrest Limit Switch Continuity Chart
    G01145647Courtesy of © TOYOTA, LICENSE AGREEMENT TMS1002
    Fig 56: Identifying Rear Seat Headrest Limit Switch Connector & Terminals
    G01145648Courtesy of © TOYOTA, LICENSE AGREEMENT TMS1002

    Measure the resistance between terminals.

    If resistance value is not as specified, replace the vibrator assembly.