LEMON Manuals: Even more car manuals for everyone: 1960-2025
Home >> Lexus >> 2001 >> LS 430 >> Repair and Diagnosis >> External Pages >> Different car >> Section 567 (Power Mirror Control System) >> Inspection
April 5, 2026: LEMON Manuals is launched! Read the announcement.

Section 567 (Power Mirror Control System): Inspection

WARNING: This page is about a different car, the 2003 Lexus LS 430. However, it is still accessible from the selected car via links, so may be relevant.
  1. INSPECT MIRROR SWITCH CONTINUITY 
    INSPECTION MIRROR SWITCH CONTINUITY

    Switch position Tester connection Resistance (Ω)
    LEFT 8 - 9 100
    RIGHT 8 - 9 0
    Illumination 5 - 6 Continuity

    If continuity is not as specified, replace the switch.

  2. INSPECT MIRROR SWITCH RESISTANCE 

    Measure resistance between terminals 7 and 9 at each switch position, as shown in the chart.

    RESISTANCE SPECIFICATIONS

    Switch position Resistance (Ω)
    UP Approx. 100
    RIGHT 250
    DOWN 470
    LEFT 800

    If resistance is not as specified, replace the switch.

    Fig 1: Identifying Mirror Switch Connector Terminals
    G03377060Courtesy of © TOYOTA, LICENSE AGREEMENT TMS1002
  3. INSPECT RETRACT SWITCH CONTINUITY 
    RESISTANCE SPECIFICATIONS

    Switch position Tester connection Specified condition
    RETURN - No continuity
    RETRACT 1 - 2 Continuity

    If continuity is not as specified, replace the switch.

    Fig 2: Identifying Retract Switch Connector Terminals
    G03377061Courtesy of © TOYOTA, LICENSE AGREEMENT TMS1002
  4. INSPECT MIRROR MOTOR OPERATION 
    1. Connect the positive (+) lead from the battery to terminal 9 and the negative (-) lead to terminal 11, and check that the mirror turns to the left side.
      Fig 3: Inspecting Mirror Motor Operation (1 Of 4)
      G03377062Courtesy of © TOYOTA, LICENSE AGREEMENT TMS1002
    2. Reverse the polarity, and check that the mirror turns to the right side.
      Fig 4: Inspecting Mirror Motor Operation (2 Of 4)
      G03377063Courtesy of © TOYOTA, LICENSE AGREEMENT TMS1002
    3. Connect the positive (+) lead from the battery to terminal 1 and the negative (-) lead to terminal 10, and check that the mirror turns upward.
      Fig 5: Inspecting Mirror Motor Operation (3 Of 4)
      G03377064Courtesy of © TOYOTA, LICENSE AGREEMENT TMS1002
    4. Reverse the polarity, and check that the mirror turns downward.

      If operation is not as specified, replace the mirror assembly.

      Fig 6: Inspecting Mirror Motor Operation (4 Of 4)
      G03377065Courtesy of © TOYOTA, LICENSE AGREEMENT TMS1002
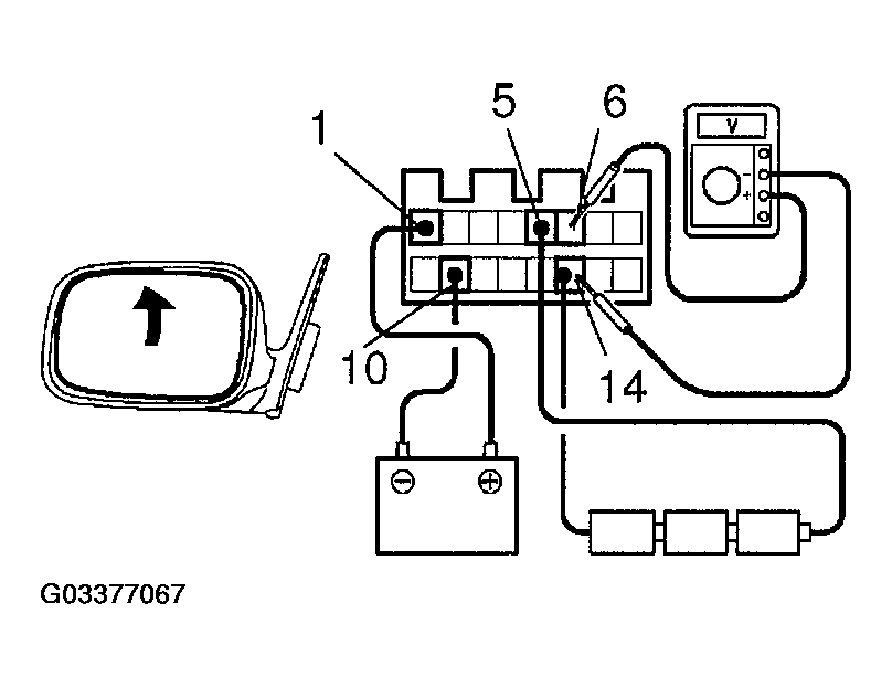
  5. w/ Driving position memory only: INSPECT MIRROR POSITION SENSORS OPERATION 

    HINT:

    Strip off the vinyl tape of the connector and remove terminals 1, 5, 6, 9, 10, 13 and 14 from the connector housing.

    1. Connect a series of three 1.5 V dry cell batteries.
    2. Connect the positive (+) lead from the dry cell batteries to terminal 5 and the negative (-) lead to terminal 14.
    3. Connect the positive (+) lead from the voltmeter to terminal 6 and the negative (-) lead to terminal 14.
      Fig 7: Inspecting Mirror Position Sensors Operation (1 Of 4)
      G03377066Courtesy of © TOYOTA, LICENSE AGREEMENT TMS1002
    4. Apply battery positive voltage to terminals 1 and 10, then check that the voltage gradually changes according to the table below while the mirror moves between the uppermost position and lowermost position.
      MIRROR POSITION

      Mirror position Lowermost Mirror position Uppermost
      Voltage 2.8 - 5.0 Changes gradually 0 - 1.0

      If voltage value is not as specified, replace the motor assembly.

      Fig 8: Inspecting Mirror Position Sensors Operation (2 Of 4)
      G03377067Courtesy of © TOYOTA, LICENSE AGREEMENT TMS1002
    5. Disconnect the 4 leads of the battery and voltmeter.
    6. Connect the positive (+) lead from the voltmeter to terminal 13 and negative (-) lead to terminal 14.
      Fig 9: Inspecting Mirror Position Sensors Operation (3 Of 4)
      G03377068Courtesy of © TOYOTA, LICENSE AGREEMENT TMS1002
    7. Apply battery positive voltage to terminals 9 and 10, then the table below while the mirror moves between the leftmost position and right-most position.
      MIRROR POSITION

      Mirror position Lowermost Mirror position Uppermost
      Voltage LEFT 2.8 - 5.0 Changes gradually 0 - 1.0
      Voltage RIGHT 0 - 1.0 Changes gradually 2.8 - 5.0

      If continuity is not as specified, replace the switch.

      Fig 10: Inspecting Mirror Position Sensors Operation (4 Of 4)
      G03377069Courtesy of © TOYOTA, LICENSE AGREEMENT TMS1002
  6. INSPECT MIRROR POSITION SENSOR CIRCUIT 

    Driver side: (See  MIRROR POSITION SENSOR CIRCUIT (W/ MEMORY)  ) 

    Passenger side: (See  MIRROR POSITION SENSOR CIRCUIT (W/ MEMORY)  ) 

  7. INSPECT DRIVING POSITION MEMORY AND RETURN SWITCH CONTINUITY 
    CONNECTOR TERMINALS SPECIFIED CONDITION

    Switch position Tester connection Specified condition
    SET switch ON 2 - 6 Continuity
    Return switch 1 ON 3 - 6 Continuity
    Return switch2 ON 4 - 6 Continuity
    Return switch3 ON 5 - 6 Continuity

    If continuity is not as specified, replace the switch.

    Fig 11: Identifying Driving Position Memory And Return Switch Connector Terminals
    G03377070Courtesy of © TOYOTA, LICENSE AGREEMENT TMS1002
  8. INSPECT ELECTRICAL RETRACT MOTOR OPERATION 
    1. When folded front position:
      1. Connect the positive (+) lead from the battery to terminal 3 and negative (-) lead to terminal 11, check that the mirror operates at retract position.
      2. Reverse the polarity, check that the mirror operate.

        If operation is not as specified, replace the mirror assembly.

    2. Between folded front position and driving position:
      1. Connect the positive (+) lead from the battery to terminal 3 and negative (-) lead to terminal 11, check that the mirror operates at retract position.
      2. Reverse the polarity, check that the mirror operate at folded front position.

        If operation is not as specified, replace the mirror assembly.

    3. When driving position:
      1. Connect the positive (+) lead from the battery to terminal 3 and negative (-) lead to terminal 11, check that the mirror operates at retract position.
        Fig 12: Inspecting Electrical Retract Motor Operation
        G03377071Courtesy of © TOYOTA, LICENSE AGREEMENT TMS1002
      2. Reverse the polarity, check that the mirror does not operate.

        If operation is not as specified, replace the mirror assembly.

    4. Between driving position and retract position:
      1. Connect the positive (+) lead from the battery to terminal 3 and negative (-) lead to terminal 11, check that the mirror operates at retract position.
      2. Reverse the polarity, check that the mirror operate at return position (Stopping at driving position).

        If operation is not as specified, replace the mirror assembly.

    5. When retract position:
      1. Connect the positive (+) lead from the battery to terminal 3 and negative (-) lead to terminal 11, check that the mirror does not operates.
      2. Reverse the polarity, check that the mirror operate at return position (Stopping at driving position).

        If operation is not as specified, replace the mirror assembly.