LEMON Manuals: Even more car manuals for everyone: 1960-2025
Home >> Lexus >> 2003 >> ES 300 >> Repair and Diagnosis (Single Page) >> General Information >> Identification >> Introduction >> Repair Instruction >> Precaution
April 5, 2026: LEMON Manuals is launched! Read the announcement.

Repair Instruction: Precaution

  1. BASIC REPAIR HINT 
    1. HINTS ON OPERATIONS
      Fig 1: Identifying Repair Precaution
      G03372193Courtesy of © TOYOTA, LICENSE AGREEMENT TMS1002
      BASIC REPAIR HINT

      1 Looks
      • Always wear a clean uniform.
      • Hat and safety shoes must be worn.
      2 Vehicle protection
      • Set a grill cover, fender cover, seat cover and floor mat before starting the operation.
      3 Safe operation
      • In case of working with 2 or more persons, be sure to check safety of one another.
      • When working with the engine running, pay attention to the ventilation of the workshop.
      • In case of operating on a high-temperature parts, rotating, moving and vibrating parts, pay attention to not burn or injure yourself.
      • When jacking up the vehicle, be sure to support the specified location with a safety stand.
      • When lifting up the vehicle, apply a safety equipment.
      4 Preparation of tools and measuring gauge
      • Before starting operation, prepare a tool stand, SST, gauge, oil, shop rag and parts for replacement.
      5 Removal and installation, disassembly and assembly operations
      • Diagnose with a thorough understanding of the trouble phenomenon and perform effective operations.
      • Before removing the parts, check the assembly for general condition, deformation and damage.
      • When the structure is complicated, take a note for general put matchmarks so as not to make mistakes that aftect the function of the parts.
      • Clean and wash the removed parts if necessary, and assemble them after a thorough check.
      6 Removed parts
      • Place the removed parts in the correct order to avoid mixing up or making them dirty.
      • As for non-reusable parts such as gasket, O-ring, and self lock nut, change them to new ones following the instruction of this manual.
      • Sort out the parts for replacement in a box and show them to the customer.
    2. JACKING UP AND SUPPORTING VEHICLE
      1. Care must be taken when jacking up and supporting the vehicle. Be sure to lift and support the vehicle at the proper locations (See VEHICLE LIFT AND SUPPORT LOCATIONS  ).
    3. PRECOATED PARTS
      1. Precoated parts are bolts, nuts, etc. that are coated with a seal lock adhesive at the factory.
      2. If a precoated part is retightened, loosened or caused to move in any way, it must be recoated with the specified adhesive.
      3. When reusing precoated parts, clean off the old adhesive and dry the part with compressed air. Then apply the specified seal lock adhesive to the bolt, nut or threads.
        Fig 2: Identifying Seal Lock Adhesive On Bolt
        G03372194Courtesy of © TOYOTA, LICENSE AGREEMENT TMS1002
        NOTE: Perform the torque checking with the lower limit value of the torque tolerance.
      4. Depending on the seal lock agent to apply, there may be a case where it is necessary to leave it for a specified time until it hardens.
    4. GASKETS
      1. When necessary, use a sealer on gaskets to prevent leaks.
    5. BOLTS, NUTS AND SCREWS
      1. Carefully observe all the specifications for tightening torques. Always use a torque wrench.
    6. FUSES
      1. When replacing fuses, be sure that a new fuse has the correct amperage rating. DO NOT exceed the rating, or use one with a lower rating.
        Fig 3: Identifying Fuses
        G03372195Courtesy of © TOYOTA, LICENSE AGREEMENT TMS1002
        Fig 4: Fuses Specification Chart
        G03372196Courtesy of © TOYOTA, LICENSE AGREEMENT TMS1002
    7. clips
      1. The removal and installation methods of typical clips used in body parts are shown in the table below.

        HINT:

        If the clip is damaged during the operation, always replace it with a new clip.

        Fig 5: Identifying Clip Removing And Installing Pattern (1 Of 2)
        G03372197Courtesy of © TOYOTA, LICENSE AGREEMENT TMS1002
        Fig 6: Identifying Clip Removing And Installing Pattern (2 Of 2)
        G03372198Courtesy of © TOYOTA, LICENSE AGREEMENT TMS1002
    8. REMOVAL AND INSTALLATION OF VACUUM HOSES
      1. To disconnect vacuum hoses, pull them by holding the end, not the middle of the hose.
        Fig 7: Identifying Vacuum Hoses Correct And Wrong Pattern Of Removing
        G03372199Courtesy of © TOYOTA, LICENSE AGREEMENT TMS1002
      2. When disconnecting vacuum hoses, use tags to identify where they should be reconnected.
      3. After completing the job, make a double check whether the vacuum hoses are properly connected. A label under the hood shows the proper layout.
      4. When using a vacuum gauge, never force the hose onto a connector that is too large. Use a step-down adapter for adjustment. Once the hose has been stretched, it may leak air.
        Fig 8: Identifying Tags On Vacuum Hose
        G03372200Courtesy of © TOYOTA, LICENSE AGREEMENT TMS1002
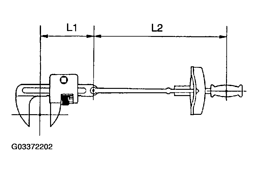
    9. TORQUE WHEN USING TORQUE WRENCH WITH EXTENSION TOOL
      1. When a SST or extension tool is combined with the torque wrench to extend its entire length, if you tighten until the reading of the torque wrench reaches the specified torque value, the actual torque becomes excessive.
      2. In this information, only the specified torque is described. In case of using SST or extension tool, calculate the reading of the torque wrench by the following formula.
        Fig 9: Identifying Torque Wrench
        G03372201Courtesy of © TOYOTA, LICENSE AGREEMENT TMS1002
      3. Formula T'=T x L2/(L1 + L2)
        FORMULA T'=T X L2/(L1 + L2) DESCRIPTION

        T Reading of torque wrench {N.m (kgf.cm, ft.lbf)}
        T Torque {N.m (kgf.cm, ft.lbf)}
        L1 Length of SST or extension tool (cm)
        L2 Length of torque wrench (cm)
        Fig 10: Identifying Length Of Torque Wrench
        G03372202Courtesy of © TOYOTA, LICENSE AGREEMENT TMS1002
  2. FOR VEHICLES EQUIPPED WITH SRS AIRBAG AND SEAT BELT PRETENSIONER 

    HINT:

    LEXUS ES300 is equipped with an SRS (Supplemental Restraint System), such as the driver airbag, front passenger airbag, side airbag, curtain shield airbag and seat belt pretensioner.

    Failure to carry out the service operations in the correct sequence could cause the supplemental restraint system to unexpectedly deploy during servicing. It may lead to a serious accident.

    Furthermore, if a mistake is made in servicing the supplemental restraint system, it is possible that the SRS will fail to operate when required. Before servicing (including removal or installation of parts, inspection or replacement), be sure to read the following items carefully. Then follow the correct procedure described in this information.

    1. GENERAL NOTICE
      1. Malfunction symptoms of the supplemental restraint system are difficult to confirm, so the diagnostic trouble codes become the most important source of information when troubleshooting. When troubleshooting the supplemental restraint system, always check the diagnostic trouble codes before disconnecting the battery (See DIAGNOSTIC TESTS ).
      2. Work must be started after 90 seconds from the time the ignition switch is turned to the "LOCK" position and the negative (-) terminal cable is disconnected from the battery.

        (The supplemental restraint system is equipped with a back-up power source, so, if work is started within 90 seconds after disconnecting the negative (-) terminal cable from the battery, the SRS may deploy.)

        When the negative (-) terminal cable is disconnected from the battery, memory of the clock and audio systems will be cancelled. So, before starting work, make a record of the memorized contents in each memory system. Then, when work is finished, reset the clock and audio systems as before. To avoid erasing the memory in each memory system, never use a back-up power) supply from another battery.

      3. Even in case of a minor collision where the SRS does not deploy, the horn button assembly, the instrument panel passenger airbag assembly, the front seat airbag assembly, the curtain shield airbag assembly and seat belt pretensioner should be inspected (See DISPOSAL PROCEDURES , ).
      4. Never use SRS related parts from another vehicle. When replacing parts, replace them with new parts.
      5. Before repairs, remove the airbag sensor if shocks are likely to be applied to the sensor during repairs.
      6. Never disassemble and repair the airbag sensor assembly, the horn button assembly, the instrument panel passenger airbag assembly, the front seat airbag assembly, the curtain shield airbag assembly or seat belt pretensioner.
      7. If the airbag sensor assembly, the side airbag assembly, the horn button assembly, the instrument panel passenger airbag assembly, the front seat airbag assembly, the curtain shield airbag assembly or seat belt pretensioner has been dropped, or if there are cracks, dents or other defects in the case, bracket or connector, replace them with new ones.
      8. Do not directly expose the airbag sensor assembly, the horn button assembly, the instrument panel passenger airbag assembly, the front seat airbag assembly, the curtain shield airbag assembly or seat belt pretensioner to hot air or flames.
      9. Use a volt/ohmmeter with high impedance (10 kΩ/V minimum) for troubleshooting of an electrical circuit.
      10. Information labels are attached to the SRS components. Follow the instructions on the notices.
      11. After work on the supplemental restraint system is completed, check the SRS warning light (See DIAGNOSTIC TESTS ).
    2. SPIRAL CABLE (in Combination Switch)
      1. The steering wheel must be fitted correctly to the steering column with the spiral cable at the neutral position, otherwise cable disconnection and other troubles may occur. Refer to SPIRAL CABLE on this information concerning the correct installation of the steering wheel.
        Fig 11: Identifying Spiral Cable (In Combination Switch)
        G03372203Courtesy of © TOYOTA, LICENSE AGREEMENT TMS1002
    3. HORN BUTTON ASSEMBLY (with Airbag)
      1. When removing the horn button assembly or handling a new horn button, it should be placed with the pad top surface facing upward. Placing it with the pad surface facing downward may lead to a serious accident if the airbag accidentally inflates. Also, do not place the horn button on top of one another.
      2. Never measure the resistance of the airbag squib (This may cause the airbag to inflate, which is very dangerous).
      3. Grease should not be applied to the horn button assembly, and the pad should not be cleaned with detergents of any kinds.
      4. Store the horn button assembly where the ambient temperature remains below 93°C (200°F), without high humidity and away from electrical noise.
      5. When using electric welding, first disconnect the airbag connector (2 yellow pins) under the steering column near the combination switch connector before starting work.
      6. When disposing of the vehicle or the horn button assembly alone, the airbag should be deployed using an SST before disposal (See DRIVER-SIDE & PASSENGER-SIDE AIR BAG MODULE ).

        Perform the operation in a safe place away from electrical noise.

        Fig 12: Identifying Horn Button
        G03372204Courtesy of © TOYOTA, LICENSE AGREEMENT TMS1002
        Fig 13: Identifying Wrong Pattern Of Checking
        G03372205Courtesy of © TOYOTA, LICENSE AGREEMENT TMS1002
    4. INSTRUMENT PANEL PASSENGER AIRBAG ASSEMBLY
      1. Always store a removed or new instrument panel passenger airbag assembly with the airbag inflation direction facing upward.

        Placing the airbag assembly with the airbag inflation direction facing downward could cause a serious accident if the airbag inflates.

      2. Never measure the resistance of the airbag squib (This may cause the airbag to inflate, which is very dangerous).
      3. Grease should not be applied to the instrument panel passenger airbag assembly, and the airbag door should not be cleaned with detergents of any kind.
      4. Store the airbag assembly where the ambient temperature remains below 93 °C (200°F), without high humidity and away from electrical noise.
      5. When using electric welding, first disconnect the airbag connector (2 yellow pins) installed on the assembly before starting work.
      6. When disposing of a vehicle or the airbag assembly alone, the airbag should be deployed using an SST before disposal (See DRIVER-SIDE & PASSENGER-SIDE AIR BAG MODULE ).

        Perform the operation in a safe place away from electrical noise.

        Fig 14: Identifying Air Bag Assembly
        G03372206Courtesy of © TOYOTA, LICENSE AGREEMENT TMS1002
        Fig 15: Identifying Wrong Pattern Of Checking Air Bag Assembly
        G03372207Courtesy of © TOYOTA, LICENSE AGREEMENT TMS1002
    5. FRONT SEAT AIRBAG ASSEMBLY
      1. Always store a removed or new front seat airbag assembly with the airbag direction facing upward. Placing the airbag assembly with the airbag inflation direction facing downward could cause a serious accident if the airbag inflates.
      2. Never measure the resistance of the airbag squib (This may cause the airbag to inflate, which is very dangerous).
      3. Grease should not be applied to the front seat airbag assembly, and the airbag door should not be cleaned with detergents of any kind.
      4. Store the airbag assembly where the ambient temperature remains below 93°C (200°F), without high humidity and away from electrical noise.
      5. When using electric welding, first disconnect the airbag connector (2 yellow pins) installed on the assembly before starting work.
      6. When disposing of a vehicle or the side airbag assembly alone, the airbag should be deployed using an SST before disposal (See SIDE AIR BAG MODULE ).

        Perform the operation in a safe place away from electrical noise.

        Fig 16: Identifying Front Seat Airbag Assembly
        G03372208Courtesy of © TOYOTA, LICENSE AGREEMENT TMS1002
        Fig 17: Identifying Checking Example
        G03372209Courtesy of © TOYOTA, LICENSE AGREEMENT TMS1002
    6. CURTAIN SHIELD AIRBAG ASSEMBLY
      1. Always store the removed or new curtain shield airbag assembly in a clear plastic bag, and keep it in a safe place.
        NOTE: Protection bag is not reusable.
        CAUTION: Never disassemble the curtain shield airbag assembly.
      2. Never measure the resistance of the airbag squib (This may cause the airbag to inflate, which is very dangerous).
      3. Grease should not be attached to the curtain shield airbag assembly, and the surface should not be cleared with detergents of any kind.
      4. Store the airbag assembly where the ambient temperature remains below 93°C (200°F), without high humidity and away from electrical noise.
      5. When using electric welding, first disconnect the airbag connector (2 yellow pins) into the instrument panel before starting work.
      6. When disposing of a vehicle or the curtain shield airbag assembly alone, the airbag should be deployed using an SST before disposal (See SIDE CURTAIN AIR BAG MODULE ).

        Perform the operation in a safe place away from electrical noise.

        Fig 18: Identifying Curtain Shield Airbag Assembly
        G03372210Courtesy of © TOYOTA, LICENSE AGREEMENT TMS1002
        Fig 19: Identifying Wrong Pattern Of Checking Curtain Shield Airbag Assembly
        G03372211Courtesy of © TOYOTA, LICENSE AGREEMENT TMS1002
    7. SEAT BELT PRETENSIONER
      1. Never measure the resistance of the seat belt pretensioner (This may cause the seat belt pretensioner to activate, which is very dangerous).
      2. Never disassemble the seat belt pretensioner.
      3. Never install the seat belt pretensioner to another vehicle.
      4. Store the seat belt pretensioner where the ambient temperature remains below 80°C (176°F) without high humidity and away from electrical noise.
      5. When using electric welding, first disconnect the connector (2 yellow pins) before starting work.
      6. When disposing of a vehicle or the seat belt pretensioner alone, the seat belt pretensioner should be activated before disposal (See DISPOSAL ). Perform the operation in a safe place away from electrical noise.
      7. The seat belt pretensioner is hot after activation, so let it cool down sufficiently before disposal. Never apply water to cool down the seat belt pretensioner.
      8. Oil or water should not be put on the front seat outer belt, and the front seat outer belt should not be cleaned with detergents of any kind.
        Fig 20: Identifying Wrong Pattern Of Seat Belt Pretensioner
        G03372212Courtesy of © TOYOTA, LICENSE AGREEMENT TMS1002
    8. AIRBAG SENSOR ASSEMBLY
      1. Never reuse the airbag sensor assembly involved in a collision where the SRS has deployed.
      2. The connectors to the airbag sensor assembly should be connected or disconnected with the sensor mounted on the floor. If the connectors are connected or disconnected while the airbag sensor assembly is not mounted to the floor, it could cause an undesired ignition of the supplemental restraint system.
      3. Work must be started after 90 seconds from the time the ignition switch is turned to the "LOCK" position and the negative (-) terminal cable is disconnected from the battery, even if only loosening the set bolts of the airbag sensor assembly.
    9. WIRE HARNESS AND CONNECTOR
      1. The SRS wire harness is integrated with the instrument panel wire harness assembly. All the connectors in the system are in a standard yellow color. If the SRS wire harness becomes disconnected or the connector becomes broken due to an accident, etc., repair or replace it.
  3. ELECTRONIC CONTROL 
    1. REMOVAL AND INSTALLATION OF BATTERY TERMINAL
      1. Before performing electrical work, disconnect the battery negative (-) terminal cable beforehand so as to prevent burnt-out damage by short.
      2. When disconnecting and installing the terminal cable, turn the ignition switch and lighting switch OFF, and loosen the terminal nut completely. Perform these operations without twisting or prying the terminal.
        Fig 21: Disconnecting Battery Negative Terminal Cable
        G03372213Courtesy of © TOYOTA, LICENSE AGREEMENT TMS1002
      3. When the battery terminal is removed, all the memories of the clock, radio, DTCs, etc. will be erased. So before removing it, check them and note them down.
      4. When the battery terminal is disconnected, the sliding roof position memory is erased.

        Make sure to reset the sliding roof zero point (See RESET ).

    2. HANDLING OF ELECTRONIC PARTS
      1. Do not open the cover or case of the ECU unless absolutely necessary (If the IC terminals are touched, the IC may be destroyed by static electricity).
      2. To disconnect electronic connectors, pull the connector itself, not the wires.
      3. Be careful not to drop electronic components, such as sensors or relays. If they are dropped on a hard floor, they should be replaced and not be reused.
        Fig 22: Identifying Wrong Pattern Of Handling Electronic Components
        G03372214Courtesy of © TOYOTA, LICENSE AGREEMENT TMS1002
      4. When cleaning the engine with steam, protect the electronic components, air filter and emission-related components from water.
      5. Never use an impact wrench to remove or install temperature switches or temperature sensors.
      6. When checking the continuity at the wire connector, insert the tester probe carefully to prevent terminals from bending.
  4. REMOVAL AND INSTALLATION OF FUEL CONTROL PARTS 
    1. PLACE FOR REMOVING AND INSTALLING OF FUEL SYSTEM PARTS
      1. Work in a place with good air ventilation and without anything flammable such as welder, grinder, drill, electric motor or stove in the surroundings.
      2. Never work in a place such as a pit or nearby a pit, as there is a possibility that vaporized fuel I is filled in those places.
    2. REMOVING AND INSTALLING OF FUEL SYSTEM PARTS
      1. Prepare a fire extinguisher before starting the operation.
      2. For prevention of the static electricity, install a ground on the fuel changer, vehicle and fuel tank, and do not spray much water so as to prevent slipping.
      3. Never use any electric equipment like an electric motor or a working light, as they may cause sparks or high temperature.
      4. Never use an iron hammer, as it may cause sparks.
      5. Dispose of the shop rag separately from any fuel deposit.
  5. REMOVAL AND INSTALLATION OF ENGINE INTAKE PARTS 
    1. If any metal tip is mixed in the inlet pass, that may give a bad effect to the engine and turbocharger.
    2. When removing and installing the inlet system parts, close the opening of the removed inlet system parts and the engine with a clean shop rag or gummed tape.
    3. When installing the inlet system parts, check that there is no mixing of a metal tip.
      Fig 23: Closing Opening Of Removed Inlet System Parts
      G03372215Courtesy of © TOYOTA, LICENSE AGREEMENT TMS1002
  6. HANDLING OF HOSE CLAMPS 
    1. Before removing the hose, check the clamp position to restore it securely.
    2. Change a deformed or dented clamp into a new one.
    3. In case of reusing the hose, install the clamp on the hose where it has a clamp track.
    4. For a spring type clamp, make adjustment by adding force to the arrow mark direction after the installation.
      Fig 24: Identifying Hose Clamp
      G03372216Courtesy of © TOYOTA, LICENSE AGREEMENT TMS1002
  7. FOR VEHICLES EQUIPPED WITH MOBILE COMMUNICATION SYSTEM 
    1. Install an antenna as far as possible away from the ECU and sensors of the vehicle's electronic systems.
    2. Install an antenna feeder at least 20 cm (7.87 in.) away from the ECU and sensors of the vehicle's electronic systems. For details of the ECU and sensors locations, refer to the information on the applicable component.
    3. Prevent the antenna feeder from getting entangled with the other wirings, and keep the antenna feeder separately from the other wirings as much as possible.
      Fig 25: Identifying Vehicles Equipped With Mobile Communication System
      G03372217Courtesy of © TOYOTA, LICENSE AGREEMENT TMS1002
    4. Check that the antenna and feeder are correctly adjusted.
    5. Do not install any powerful mobile communication system.
  8. FOR VEHICLES EQUIPPED WITH TRACTION CONTROL (TRAC) SYSTEM 
    1. NOTICES WHEN USING 2-WHEEL DRUM TESTER
      1. When using a 2-wheel drum tester such as a speedometer tester, a combination tester of speedometer and brake, chassis dynamometer or else, always turn the TRAC system off via the TRAC OFF switch before measurement.
        NOTE: TRAC system OFF condition can be confirmed by the indication, "TRAC OFF" of the warning light in the combination meter.
  9. FOR VEHICLES EQUIPPED WITH VEHICLE SKID CONTROL (VSC) SYSTEM 
    1. NOTICES WHEN USING DRUM TESTER
      1. When using a drum tester, be sure to start the engine with the ignition OFF, and connect SST to the terminals TS and CG of the DLC3 before measurement in order to prohibit the VSC operation.

        SST 09843-18040

        NOTE:
        • Confirm that the VSC warning light blinks.
        • VSC system will be reset when the engine is restarted.
        • Fasten the vehicle with lock chains.
        Fig 26: Identifying Terminals TS And CG
        G03372218Courtesy of © TOYOTA, LICENSE AGREEMENT TMS1002
    2. NOTICES OF RELATED OPERATIONS TO VSC
      1. Do not carry out unnecessary installation and removal, because it might disorder the adjustment of related parts to VSC.
      2. Be sure to carry out the preparation for operation and the confirmation of operation completion, in accordance with the instruction of the text, when the related operations to VSC are performed.
  10. FOR VEHICLES EQUIPPED WITH CATALYTIC CONVERTER 
    CAUTION: If large amount of unburned gasoline flows into the converter, it may cause overheating and a fire hazard. To prevent this, observe the following precautions.
    1. Use only unleaded gasoline.
    2. Avoid prolonged idling.

      Avoid running the engine at idle speed for more than 20 minutes.

    3. Avoid a spark jump test.
      1. Perform a spark jump test only when absolutely necessary. Perform this test as rapidly as possible.
      2. While testing, never race the engine.
    4. Avoid a prolonged engine compression measurement.

      Engine compression measurements must be performed as rapidly as possible.

    5. Do not run the engine when the fuel tank is nearly empty. This may cause the engine to misfire and create an extra load on the converter.