LEMON Manuals: Even more car manuals for everyone: 1960-2025
Home >> Lexus >> 2003 >> ES 300 >> Repair and Diagnosis >> External Pages >> Different car >> Section 249 (Engine Control System (SFI) (2AZ-FE)) >> Inspection
April 5, 2026: LEMON Manuals is launched! Read the announcement.

Section 249 (Engine Control System (SFI) (2AZ-FE)): Inspection

WARNING: This page is about a different car, the 2004 Toyota Camry Solara. However, it is still accessible from the selected car via links, so may be relevant.
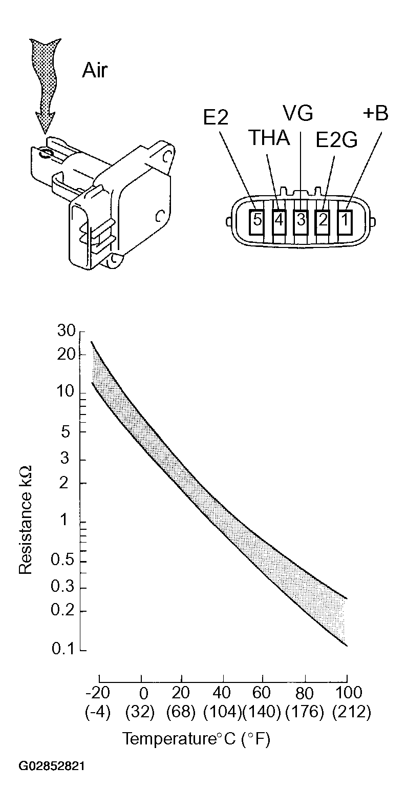
  1. INSPECT MASS AIR FLOW METER 
    1. Check the output voltage.
      1. Apply battery voltage across terminals 1 (+B) and 2 (E2G).
      2. Using a voltmeter, connect the positive (+) tester probe to terminal VG, and negative (-) tester probe to terminal E2G.
      3. Blow air into the MAF meter, and check that the voltage fluctuates.
    2. Measure the resistance between terminals 4 (THA) and 5 (E2).

      Standard: 

    AIR FLOW METER CHECKING REFERENCE

    Condition Specified Condition
    -20 °C (-4°F) 13.6 to 18.4 kΩ
    20°C(68°F) 2.21 to 2.69 kΩ
    60°C(140°F) 0.493 to 0.667 kΩ

    If the result is not as specified, replace the MAF meter.

    Fig 1: Inspecting Mass Air Flow Meter
    G02852821Courtesy of © TOYOTA, LICENSE AGREEMENT TMS1002
  2. INSPECT CAMSHAFT TIMING OIL CONTROL VALVE ASSY 
    1. Measure the resistance between the terminals.

      Standard:  6.9 to 7.9 Ω at 20°C (68°F)

      If the result is not as specified, replace the OCV assy.

    2. Connect the battery's positive (+) lead to terminal 1 and negative (-) lead to terminal 2, and check the movement of the valve.
      Fig 2: Connecting Battery To Terminals
      G02852822Courtesy of © TOYOTA, LICENSE AGREEMENT TMS1002
    NOTE: Confirm that the valve moves freely and does not become stuck in any position.

    If necessary, replace the OCV assy.

    If the valve cannot return properly because of foreign matter, a small pressure leak in the advanced direction may occur and a DTC will be output.

  3. INSPECT ACCELERATOR PEDAL ASSY (ACCELERATOR PEDAL POSITION SENSOR) 
    1. Measure the resistance between the terminals.

      Standard: 

    TESTER CONNECTION AND CONDITION-SPECIFICATION

    Tester Connection Specified Condition
    2(VPA2)-3(EP1) 5.0 kΩ or less
    5(VPA1)-1 (EP2) 5.0 kΩ or less
    6(VCP1)-3 (EP1) 2.25 to 4.75 kΩ
    4 (VCP2) - 1 (EP2) 2.25 to 4.75 kΩ

    If the result is not as specified, replace the pedal assy.

    Fig 3: Inspecting Accelerator Pedal Assy
    G02852823Courtesy of © TOYOTA, LICENSE AGREEMENT TMS1002
  4. INSPECT THROTTLE BODY ASSY 
    1. Measure the resistance between the terminals.

      Resistance: 

    TERMINALS CONDITION AND RESISTANCE SPECIFICATION

    Tester Connection Condition Specified Condition
    2 (M+) - 1 (M-) 20°C(68°F) 0.3 to 100 Ω
    5 (VC) - 3 (E2) 20°C(68°F) 1.2 to 3.2kΩ

    If the result is not as specified, replace the throttle body assy.

    Fig 4: Inspecting Throttle Body Assy
    G02852824Courtesy of © TOYOTA, LICENSE AGREEMENT TMS1002
  5. INSPECT ENGINE COOLANT TEMPERATURE SENSOR 
    1. Measure the resistance between the terminals.

      Standard: 

    TERMINAL CONDITION AND RESISTANCE SPECIFICATION

    Condition Specified Condition
    Approx. 20°C(68°F) 2.32 to 2.59 kΩ.
    Approx. 80°C(176°F) 0.310 to 0.326 kΩ.

    If the result is not as specified, replace the sensor.

    Fig 5: Inspecting Engine Coolant Temperature Sensor
    G02852825Courtesy of © TOYOTA, LICENSE AGREEMENT TMS1002
    NOTE: If checking the engine coolant temperature sensor in the water, keep the terminals dry. After the check, wipe the sensor dry.
  6. INSPECT KNOCK SENSOR 
    1. Using an ohmmeter, measure the resistance between the terminals.

      Standard:  120 to 280 kΩ at 20°C (68°F)

    If the result is not as specified, replace the sensor.

    Fig 6: Measuring Resistance Between Terminals Using An Ohmmeter
    G02852826Courtesy of © TOYOTA, LICENSE AGREEMENT TMS1002
  7. INSPECT RELAY (EFI, C/OPN) 
    1. Remove the EFI and C/OPN relays from the engine room J/B.
    2. Using an ohmmeter, measure the resistance of the relay.

      Standard: 

    If the result is not as specified, replace the relay.

    Fig 7: Inspecting Relay
    G02852827Courtesy of © TOYOTA, LICENSE AGREEMENT TMS1002
    Fig 8: Relay Inspection Specification Chart
    G02852828Courtesy of © TOYOTA, LICENSE AGREEMENT TMS1002