LEMON Manuals: Even more car manuals for everyone: 1960-2025
Home >> Lexus >> 2003 >> ES 300 >> Repair and Diagnosis >> Transmission >> Automatic Trans >> Servicing >> Removal & Installation >> Valve Body Assembly >> Installation
April 5, 2026: LEMON Manuals is launched! Read the announcement.

Valve Body Assembly: Installation

  1. Install transmission valve body assembly using the following steps:
    1. Install spring and check ball body. See Fig 2.
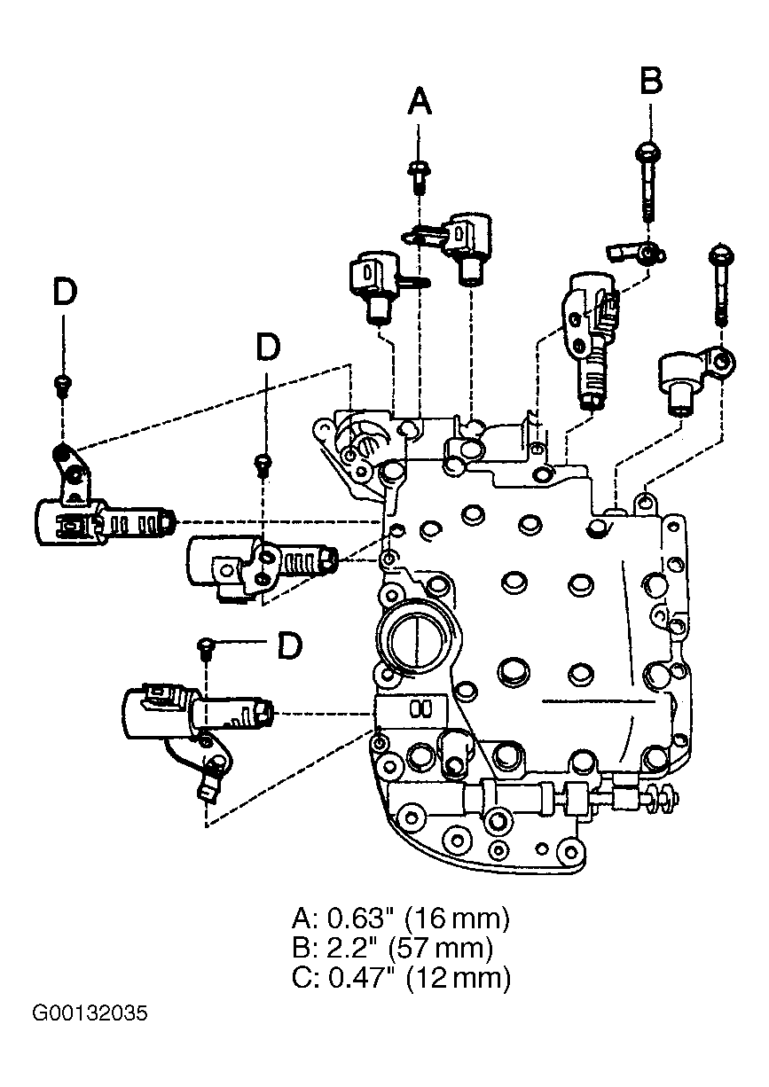
    2. Install 7 shift solenoid valves with 6 bolts. See Fig 4.
    3. Align the groove of manual valve with pin of lever.
    4. Install the 17 bolts. Push the valve body against the accumulator piston spring and the check ball body to install it. See Fig 3. Tighten bolts to specification. See TORQUE SPECIFICATIONS .
  2. Install valve body oil filter assembly using the following steps:
    1. Coat new "O" ring with ATF.
    2. Install "O" ring to the oil filter.
    3. Install oil filter with 3 bolts. See Figure.
  3. Connect transmission wire using the following steps:
    1. Coat an "O" ring with ATF.
    2. Install ATF temperature sensor with lock plate and bolt.
    3. Connect 7 shift solenoid valve connectors. See Fig 1. Tighten to specification. See TORQUE SPECIFICATIONS .
  4. Install automatic transaxle oil pan sub-assembly using the following steps:
    1. Install the 3 magnets in the oil pan.
    2. Apply appropriate seal packing to 18 bolts.
      NOTE: Apply seal packing to seal bolts and tighten them within 10 minutes after application.
    3. Install new gasket, oil pan and 18 bolts to the transaxle case.
  5. Add automatic transaxle fluid.
  6. Inspect automatic transaxle fluid. See CHECKING FLUID LEVELS  under LUBRICATION.
  7. Install engine under cover No. 2.
Fig 1: Removing/Installing Transmission Wire
G00218251Courtesy of © TOYOTA, LICENSE AGREEMENT TMS1002
Fig 2: Identifying Lengths & Locations Of Bolts
G00132036Courtesy of © TOYOTA, LICENSE AGREEMENT TMS1002
Fig 3: Removing/Installing Check Valve Body Ball & Spring
G00132034Courtesy of © TOYOTA, LICENSE AGREEMENT TMS1002
Fig 4: Removing/Installing Shift Solenoids
G00132035Courtesy of © TOYOTA, LICENSE AGREEMENT TMS1002