LEMON Manuals: Even more car manuals for everyone: 1960-2025
Home >> Lexus >> 2003 >> GS 300 L6-3.0L (2JZ-GE) >> Repair and Diagnosis >> Body and Frame >> Body Control Systems >> Testing and Inspection >> Symptom Related Diagnostic Procedures >> Driver Door Control System >> Symptom Diagnostic Procedures >> Memory Switch Circuit (W/Memory)
April 5, 2026: LEMON Manuals is launched! Read the announcement.

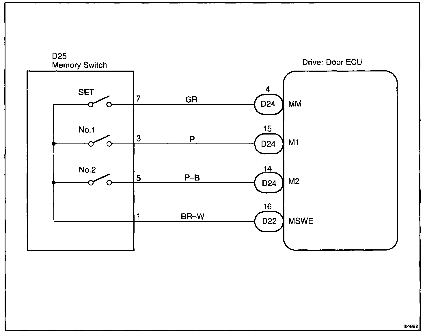
Memory Switch Circuit (W/Memory)

Wiring Diagram:






Step 1 - 2:




INSPECTION PROCEDURE