LEMON Manuals: Even more car manuals for everyone: 1960-2025
Home >> Lexus >> 2003 >> GS 300 >> Repair and Diagnosis >> Body & Frame >> Mirrors >> Power Mirror Control System >> Inspection >> W/O Driving Position Memory:
April 5, 2026: LEMON Manuals is launched! Read the announcement.

W/O Driving Position Memory:

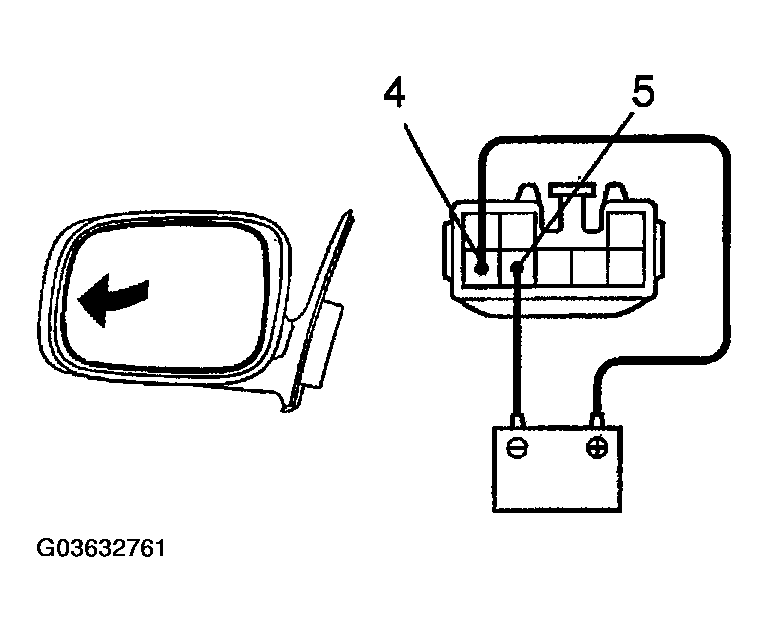
INSPECT MIRROR MOTOR OPERATION 

  1. Connect the positive (+) lead from the battery to terminal 4 and the negative (-) lead to terminal 5, and check that the mirror turns to the left side.
    Fig 1: Inspecting Mirror Motor Operation (W/O Driving Position Memory) (1 Of 3)
    G03632761Courtesy of © TOYOTA, LICENSE AGREEMENT TMS1002
  2. Reverse the polarity, and check that the mirror turns to the right side.
    Fig 2: Inspecting Mirror Motor Operation (W/O Driving Position Memory) (2 Of 3)
    G03632762Courtesy of © TOYOTA, LICENSE AGREEMENT TMS1002
  3. Connect the positive (+) lead from the battery to terminal 6 and the negative (-) lead to terminal 5, and check that the mirror turns upward.
    Fig 3: Inspecting Mirror Motor Operation (W/O Driving Position Memory) (3 Of 3)
    G03632763Courtesy of © TOYOTA, LICENSE AGREEMENT TMS1002
  4. Reverse the polarity, and check that the mirror turns downward.

If operation is not as specified, replace the mirror assembly.



INSPECT MIRROR MOTOR CIRCUIT 

Left side: (See  MIRROR MOTOR CIRCUIT  ) 

Right side: (See  MIRROR MOTOR CIRCUIT  ) 

Fig 1: Inspecting Mirror Motor Circuit (W/O Driving Position Memory)
G03632764Courtesy of © TOYOTA, LICENSE AGREEMENT TMS1002