LEMON Manuals: Even more car manuals for everyone: 1960-2025
Home >> Lexus >> 2003 >> GS 300 >> Repair and Diagnosis >> Body & Frame >> Windows >> Power Window Control System >> Inspection >> Inspect Power Main Relay Circuit
April 5, 2026: LEMON Manuals is launched! Read the announcement.

Inspect Power Main Relay Circuit

(See POWER SOURCE ).

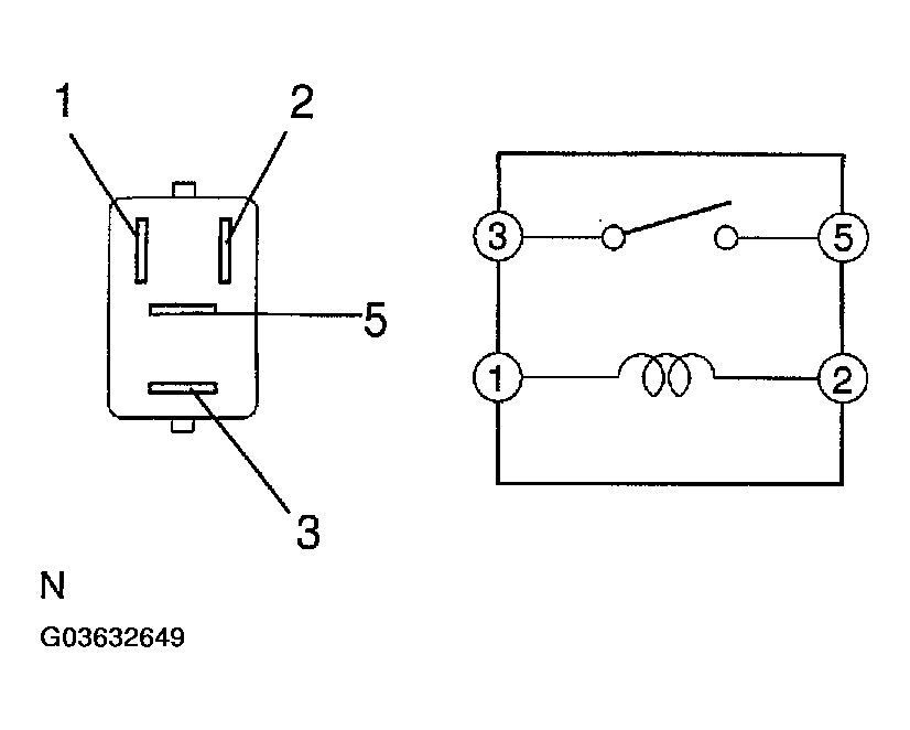
Fig 1: Inspecting Power Main Relay Continuity
G03632649Courtesy of © TOYOTA, LICENSE AGREEMENT TMS1002