LEMON Manuals: Even more car manuals for everyone: 1960-2025
Home >> Lexus >> 2003 >> GS 300 >> Repair and Diagnosis >> External Pages >> Different car >> Section 193 (Multiplex Communication System - Diagnostics) >> Pre-Check >> Notes
April 5, 2026: LEMON Manuals is launched! Read the announcement.

Section 193 (Multiplex Communication System - Diagnostics): Pre-Check: Notes

WARNING: This page is about a different car, the 2004 Lexus GS 430 and 2004 Lexus GS 300. However, it is still accessible from the selected car via links, so may be relevant.
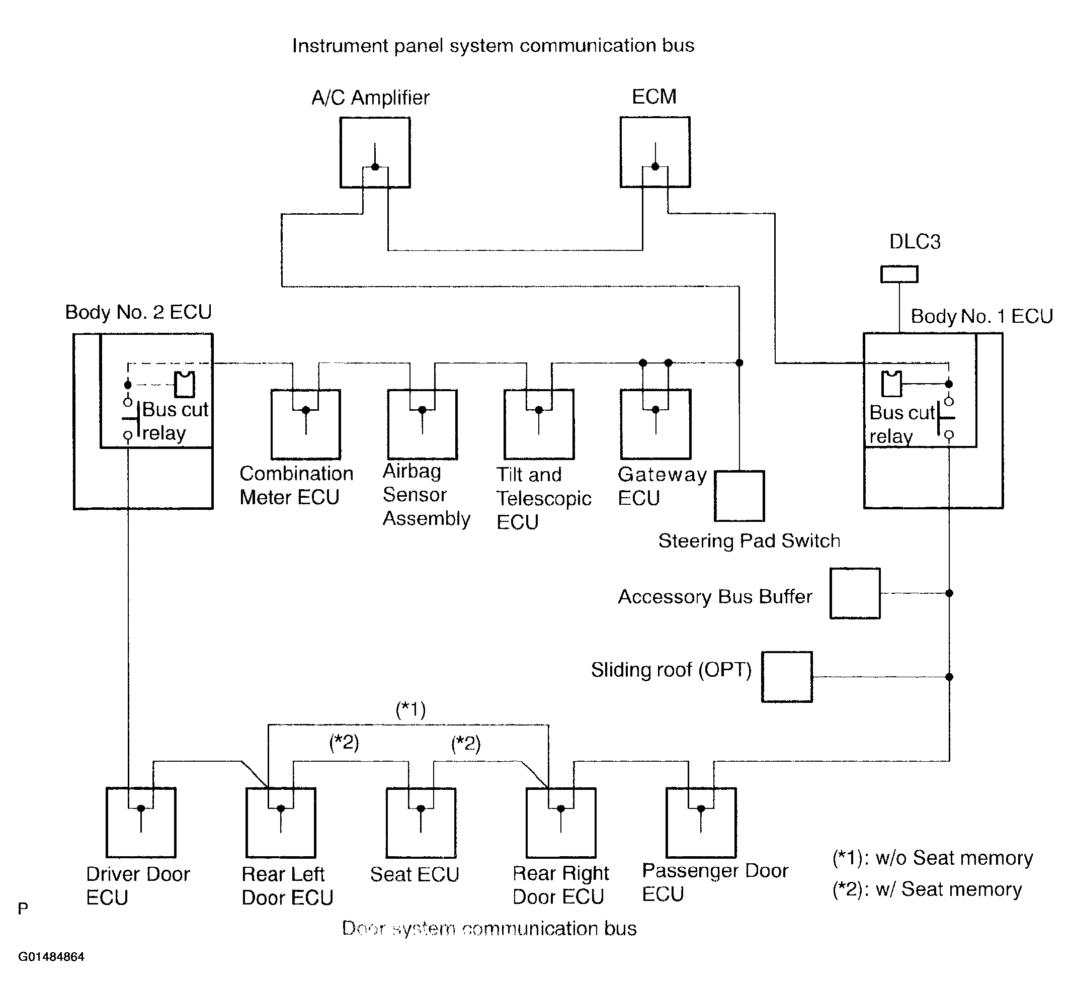
  1. DIAGNOSIS SYSTEM 
    1. As shown in the following illustration, each ECU of this vehicle is connected by communication bus and it transmits each signal by communication. This communication bus is self-diagnosed by Body No.1 ECU and it memorizes DTC when it detects communication bus +B short or GND short. There is a possibility that Body No.1 ECU cannot self-diagnose accurately unless it doesn't work normal. So, please note that the troubleshooting of Body Electrical System should be done after confirming if Body No.1 ECU and Open door indicator works normal by 2 "BASIC INSPECTION" described later.
      Fig 1: ECU Diagnosis System
      G01484864Courtesy of © TOYOTA, LICENSE AGREEMENT TMS1002
    2. If DTC of ECU communication stop is output, there is a possibility of connector disconnection or 2 communication buses open. It will not become abnormal with only 1 communication bus open.
      Fig 2: ECU Communication Output
      G01484865Courtesy of © TOYOTA, LICENSE AGREEMENT TMS1002
    3. If 2 communication buses are open at the position as shown in the illustration, DTC of ECU communication stop between those 2 buses is output.
      Fig 3: Communication Buses Output
      G01484866Courtesy of © TOYOTA, LICENSE AGREEMENT TMS1002
  2. BASIC INSPECTION 

Basic inspection is for checking Body No.1 ECU normal operation.