LEMON Manuals: Even more car manuals for everyone: 1960-2025
Home >> Lexus >> 2003 >> GS 300 >> Repair and Diagnosis >> External Pages >> Different car >> Section 441 (Interior Light System) >> Inspection
April 5, 2026: LEMON Manuals is launched! Read the announcement.

Section 441 (Interior Light System): Inspection

WARNING: This page is about a different car, the 2005 Lexus GS 430 and 2005 Lexus GS 300. However, it is still accessible from the selected car via links, so may be relevant.
  1. INSPECT FRONT PERSONAL LIGHT SWITCH CONTINUITY 
    FRONT PERSONAL LIGHT SWITCH CONTINUITY

    Switch position Tester connection Specified condition
    Interior light switch OFF (Lever switch) - No continuity
    Interior light switch DOOR (Lever switch) 1 - 3 Continuity
    Interior light switch ON (Lever switch) 1 - 2 Continuity
    (1)Personal light OFF (Push switch) - No continuity
    (1)Personal light ON (Push switch) 1 - 2 Continuity
    (1) Set the interior light switch to OFF or DOOR.

    If continuity is not as specified, replace the light assembly or bulb.

    Fig 1: Inspecting Front Personal Light Switch Continuity
    G02940345Courtesy of © TOYOTA, LICENSE AGREEMENT TMS1002
  2. INSPECT FRONT PERSONAL LIGHT SWITCH CIRCUIT (See  ILLUMINATION CIRCUIT  ) 

    Disconnect the connector from the switch and inspect the connector on the wire harness side, as shown in Fig 2.

    FRONT PERSONAL LIGHT SWITCH CIRCUIT

    Tester connection Condition Specified condition
    2 - Ground Constant Continuity
    1 - Ground Constant Battery positive voltage
    Fig 2: Inspecting Front Personal Light Switch Circuit
    G02940346Courtesy of © TOYOTA, LICENSE AGREEMENT TMS1002

    If circuit is not as specified, inspect power source or wire harness.

  3. INSPECT REAR PERSONAL LIGHT SWITCH CONTINUITY 
    REAR PERSONAL LIGHT SWITCH CONTINUITY

    Switch position Tester connection Specified condition
    Room light switch OFF and door closed - No continuity
    Room light switch ON and door closed 1 - 2 Continuity
    Room light switch OFF or ON and door opened 1 - 3 Continuity
    Fig 3: Inspecting Rear Personal Light Switch Continuity
    G02940347Courtesy of © TOYOTA, LICENSE AGREEMENT TMS1002

    If continuity is not as specified, replace the light assembly or bulb.

  4. INSPECT REAR PERSONAL LIGHT SWITCH CIRCUIT 

    Disconnect the connector from the switch and inspect the connector on the wire harness side, as shown in Fig 4.

    REAR PERSONAL LIGHT SWITCH CIRCUIT

    Tester connection Condition Specified condition
    2 - Ground Constant Continuity
    1 - Ground Constant Battery positive voltage
    Fig 4: Inspecting Rear Personal Light Switch Circuit
    G02940348Courtesy of © TOYOTA, LICENSE AGREEMENT TMS1002

    If circuit is not as specified, inspect power source or wire harness.

  5. INSPECT VANITY LIGHT CONTINUITY 
    VANITY LIGHT CONTINUITY

    Switch position Tester connection Specified condition
    OFF (closed) - No continuity
    ON (opened) 1 - 2 Continuity
    Fig 5: Inspecting Vanity Light Continuity
    G02940349Courtesy of © TOYOTA, LICENSE AGREEMENT TMS1002

    If continuity is not as specified, replace the vanity light assembly or bulb.

  6. INSPECT VANITY LIGHT CIRCUIT 

    Disconnect the connector from the light and inspect the connector on the wire harness side, as shown in Fig 6.

    VANITY LIGHT CIRCUIT

    Tester connection Condition Specified condition
    2 - Ground Constant Continuity
    1 - Ground Constant Battery positive voltage
    Fig 6: Inspecting Vanity Light Circuit
    G02940350Courtesy of © TOYOTA, LICENSE AGREEMENT TMS1002

    If circuit is not as specified, inspect power source or wire harness.

  7. Front door: INSPECT DOOR COURTESY SWITCH CONTINUITY 
    1. Connect the connector to the front door ECU.
    2. Check that continuity exists between terminals 1 and 2 when door is opened.
    3. Check that no continuity exists between terminals 1 and 2 when door is closed.

    If continuity is not as specified, replace the switch.

    Fig 7: Inspecting Door Courtesy Switch Continuity (Front Door)
    G02940351Courtesy of © TOYOTA, LICENSE AGREEMENT TMS1002
  8. Front door: INSPECT DOOR COURTESY SWITCH CIRCUIT 

    Driver side: (See  DOOR LOCK MOTOR CIRCUIT  ) 

    Passenger side: (See  DOOR LOCK MOTOR CIRCUIT  ) 

  9. Rear door: INSPECT DOOR COURTESY SWITCH CONTINUITY 
    1. Connect the connector to the rear door ECU.
    2. Check that continuity exists between terminals 1 and 2 when door is opened.
    3. Check that no continuity exists between terminals 1 and 2 when door is closed.

    If continuity is not as specified, replace the switch.

    Fig 8: Inspecting Door Courtesy Switch Continuity (Rear Door)
    G02940352Courtesy of © TOYOTA, LICENSE AGREEMENT TMS1002
  10. Rear door: INSPECT DOOR COURTESY SWITCH CIRCUIT 

    Rear LH side: (See  DOOR LOCK MOTOR CIRCUIT  ) 

    Rear RH side: (See  DOOR LOCK MOTOR CIRCUIT  ) 

  11. INSPECT DOOR COURTESY LIGHT CONTINUITY 

    Using an ohmmeter, check that continuity exists between terminals.

    If continuity is not as specified, replace the light assembly or bulb.

    Fig 9: Inspecting Door Courtesy Light Continuity
    G02940353Courtesy of © TOYOTA, LICENSE AGREEMENT TMS1002
  12. INSPECT DOOR COURTESY LIGHT CIRCUIT 

    Driver side: (See  DOOR COURTESY LIGHT AND COURTESY SWITCH CIRCUIT  ) 

    Passenger side: (See  DOOR COURTESY LIGHT AND COURTESY SWITCH CIRCUIT  ) 

    Rear LH side: (See  DOOR COURTESY LIGHT AND COURTESY SWITCH CIRCUIT  ) 

    Rear RH side: (See  DOOR COURTESY LIGHT AND COURTESY SWITCH CIRCUIT  ) 

    Fig 10: Inspecting Door Courtesy Light Circuit
    G02940354Courtesy of © TOYOTA, LICENSE AGREEMENT TMS1002
  13. INSPECT LUGGAGE COMPARTMENT DOOR COURTESY SWITCH CONTINUITY 
    LUGGAGE COMPARTMENT DOOR COURTESY SWITCH CONTINUITY

    Switch position Tester connection Specified condition
    OFF (closed) - No continuity
    ON (opened) 2 - Switch body Continuity
    Fig 11: Inspecting Luggage Compartment Door Courtesy Switch Continuity
    G02940355Courtesy of © TOYOTA, LICENSE AGREEMENT TMS1002

    If continuity is not as specified, replace the switch.

  14. INSPECT LUGGAGE COMPARTMENT DOOR COURTESY SWITCH CIRCUIT (See  LUGGAGE COURTESY SWITCH CIRCUIT  ) 

    Disconnect the connector from the switch and inspect the connector on the wire harness side, as shown in Fig 12.

    LUGGAGE COMPARTMENT DOOR COURTESY SWITCH CIRCUIT

    Tester connection Condition Specified condition
    2 - Body ground Luggage compartment door courtesy switch ON (door opened) Continuity
    Fig 12: Inspecting Luggage Compartment Door Courtesy Switch Circuit
    G02940356Courtesy of © TOYOTA, LICENSE AGREEMENT TMS1002

    If circuit is not as specified, inspect power source or wire harness.

  15. INSPECT LUGGAGE COMPARTMENT LIGHT CONTINUITY 

    Using an ohmmeter, check that continuity exists between terminals.

    If continuity is not as specified, replace the light assembly or bulb.

    Fig 13: Inspecting Luggage Compartment Light Continuity
    G02940357Courtesy of © TOYOTA, LICENSE AGREEMENT TMS1002
  16. INSPECT LUGGAGE COMPARTMENT LIGHT CIRCUIT 

    Disconnect the connector from the light and inspect the connector on the wire harness side, as shown in Fig 14.

    LUGGAGE COMPARTMENT LIGHT CIRCUIT

    Tester connection Condition Specified condition
    1 - Body ground Constant Continuity
    Fig 14: Inspecting Luggage Compartment Light Circuit
    G02940358Courtesy of © TOYOTA, LICENSE AGREEMENT TMS1002

    If circuit is not as specified, inspect power source or wire harness.

  17. INSPECT GLOVE COMPARTMENT DOOR COURTESY SWITCH CONTINUITY 
    GLOVE COMPARTMENT DOOR COURTESY SWITCH CONTINUITY

    Switch position Tester connection Specified condition
    OFF (closed) - No continuity
    ON (opened) 1 - 2 Continuity
    Fig 15: Inspecting Glove Compartment Door Courtesy Switch Continuity
    G02940359Courtesy of © TOYOTA, LICENSE AGREEMENT TMS1002

    If continuity is not as specified, replace the switch.

  18. INSPECT GLOVE COMPARTMENT DOOR COURTESY SWITCH CIRCUIT 

    Disconnect the connector from the switch and inspect the connector on the wire harness side, as shown in Fig 16.

    GLOVE COMPARTMENT DOOR COURTESY SWITCH CIRCUIT

    Tester connection Condition Specified condition
    2 - Ground Constant Continuity
    1 - Ground Light control switch OFF No voltage
    1 - Ground Light control switch TAIL or HEAD Battery positive voltage
    Fig 16: Inspecting Glove Compartment Door Courtesy Switch Circuit
    G02940360Courtesy of © TOYOTA, LICENSE AGREEMENT TMS1002

    If circuit is not as specified, inspect power source or wire harness.

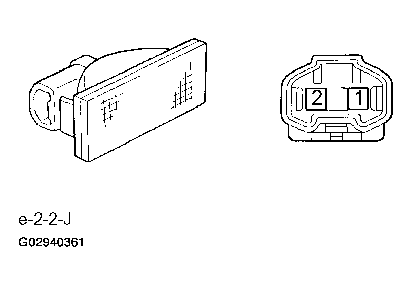
  19. INSPECT GLOVE COMPARTMENT LIGHT CONTINUITY 

    Using an ohmmeter, check that continuity exists between terminals.

    If continuity is not as specified, replace the light assembly or bulb.

    Fig 17: Inspecting Glove Compartment Light Continuity
    G02940361Courtesy of © TOYOTA, LICENSE AGREEMENT TMS1002
  20. INSPECT GLOVE COMPARTMENT LIGHT CIRCUIT 

    Disconnect the connector from the light and inspect the connector on the wire harness side, as shown in Fig 18.

    GLOVE COMPARTMENT LIGHT CIRCUIT

    Tester connection Condition Specified condition
    2 - Ground Glove compartment door courtesy switch ON Continuity
    1 - Ground Light control switch in TAIL or HEAD Battery positive voltage
    Fig 18: Inspecting Glove Compartment Light Circuit
    G02940362Courtesy of © TOYOTA, LICENSE AGREEMENT TMS1002

    If circuit is not as specified, inspect power source or wire harness.

  21. INSPECT LICENCE PLATE LIGHT CONTINUITY 

    Using an ohmmeter, check that continuity exists between terminals.

    If continuity is not as specified, replace the light assembly or bulb.

    Fig 19: Inspecting Licence Plate Light Continuity
    G02940363Courtesy of © TOYOTA, LICENSE AGREEMENT TMS1002
  22. INSPECT LICENCE PLATE LIGHT CIRCUIT 

    Disconnect the connector from the light and inspect the connector on the wire harness side, as shown in Fig 20.

    LICENCE PLATE LIGHT CIRCUIT

    Tester connection Condition Specified condition
    1 - Ground Constant Continuity
    2 - Ground Light control switch TAIL or HEAD Battery positive voltage
    Fig 20: Inspecting Licence Plate Light Circuit
    G02940364Courtesy of © TOYOTA, LICENSE AGREEMENT TMS1002

    If circuit is not as specified, inspect power source or wire harness.