Shift Locking System: Inspection
- INSPECT SHIFT LOCK CONTROL ECU
Using a voltmeter, measure the voltage at each terminal
HINT:
Do not disconnect ECU connector.
Courtesy of © TOYOTA, LICENSE AGREEMENT TMS1002
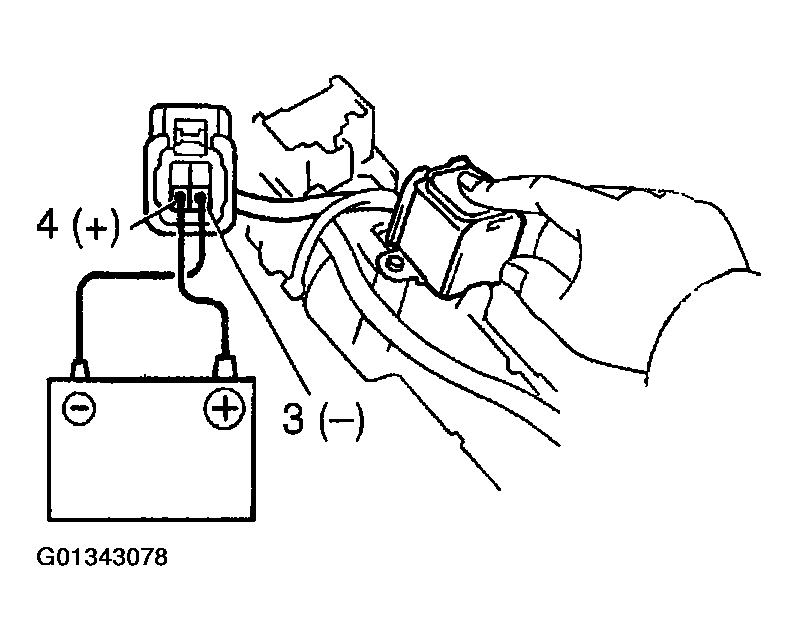
- INSPECT KEY INTERLOCK SOLENOID
- Disconnect the solenoid connector.
- Using an ohmmeter, measure the resistance between terminals 3 and 4.
Standard resistance: 12-17 Ω
If the resistance value is not as specified, replace the solenoid.
- Touch the solenoid with your finger and check that the solenoid operation can be felt when battery voltage is applied intermittently to terminals 3 and 4.
If the operation is not as specified, replace the solenoid.