LEMON Manuals: Even more car manuals for everyone: 1960-2025
Home >> Lexus >> 2003 >> GS 430 >> Repair and Diagnosis >> Body & Frame >> Body, Cab Control Systems >> Body Control Systems >> Circuit Tests >> Mirror Switch Circuit >> Inspection Procedure
April 5, 2026: LEMON Manuals is launched! Read the announcement.

Inspection Procedure

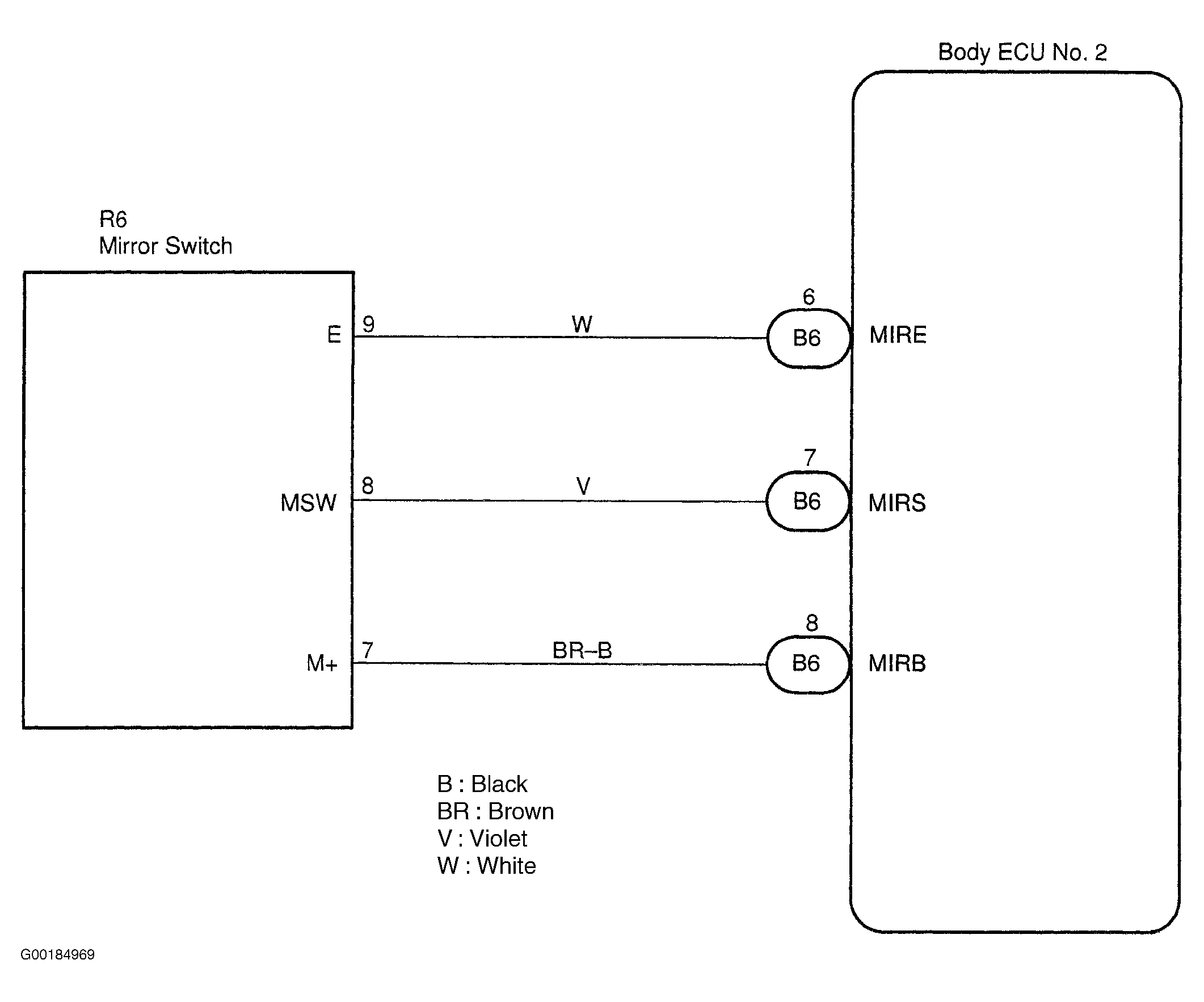
For circuit wiring diagram, see Fig 1.

NOTE: If using the hand-held tester, start the inspection from step  1 and if not using the hand-held tester, start from step  2.
  1. Check the mirror switch using the hand-held tester. Connect the hand-held tester to DLC3. See Figure. Check the mirror switch using DATA LIST. If the results are OK, inspect the body ECU No. 2. If the results are not OK, go to the next step.
  2. Check the mirror switch. See POWER MIRROR SWITCH under COMPONENT TESTS under POWER MIRRORS article in MIRRORS. If the results are OK, go to the next step. If the results are not OK, replace the mirror switch.
  3. Check for short to power, short to ground and continuity in the wiring harness and connector between the mirror switch and body ECU No. 2. If the results are OK, inspect the body ECU No. 2. If the results are not OK, repair or replace the wiring harness or connector.
Fig 1: Mirror Switch Circuit Wiring Diagram
G00184969Courtesy of © TOYOTA, LICENSE AGREEMENT TMS1002